LEMON Manuals: Even more car manuals for everyone: 1960-2025
Home >> Saturn >> 2005 >> Relay AWD >> Repair and Diagnosis >> Electrical >> Charging Systems >> Battery, Charging System And Starting System >> Repair Instructions >> Battery Negative Cable Replacement >> Installation Procedure
April 5, 2026: LEMON Manuals is launched! Read the announcement.

Installation Procedure

  1. Install the battery current sensor if previously removed or negative battery cable was replaced. Refer to Battery Current Sensor Replacement .
  2. Fig 1: View Of Cable Retainers
    GM1544744Courtesy of GENERAL MOTORS CORP.
  3. Install the battery ground (negative) and the battery positive cables to the vehicle.
  4. Install the battery cable conduit retainers to the inner fender (1) and the lower tie bar (2).
  5. Fig 2: View Of Battery Ground (Negative) Cable Nut & Cable From Transaxle Stud
    GM368798Courtesy of GENERAL MOTORS CORP.
    NOTE: Refer to Fastener Notice in Cautions and Notices.
  6. Install the battery positive cable and nut to the starter motor BAT terminal.

    Tighten:  Tighten the starter motor BAT terminal nut to 10 N.m (89 lb in).

  7. Install the battery ground (negative) cable and nut to the transaxle stud.

    Tighten:  Tighten the battery ground (negative) cable nut to 25 N.m (18 lb ft).

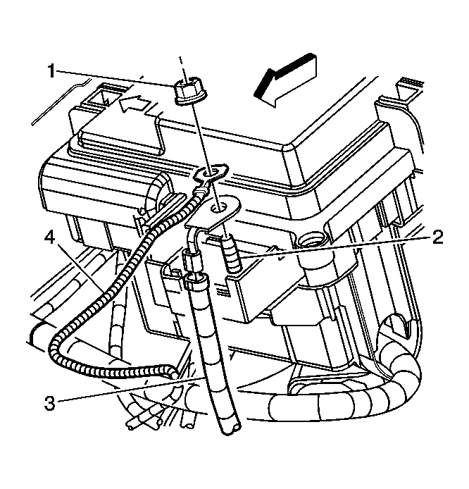
  8. Fig 3: Locating Battery Positive Cable Nut & Cable
    GM1544745Courtesy of GENERAL MOTORS CORP.
  9. Install the battery positive cable (3) and nut (1) to the underhood electrical center.

    Tighten:  Tighten the nut to 10 N.m (89 lb in).

  10. Fig 4: View Of Battery & Cables
    GM1544743Courtesy of GENERAL MOTORS CORP.
  11. Install the battery ground negative cable nut to the inner fender (4).

    Tighten:  Tighten the nut to 5 N.m (44 lb in).

  12. Connect the battery positive cable (3) from the battery.

    Tighten:  Tighten the battery terminal bolt to 16 N.m (12 lb ft).

  13. Fig 5: Disconnecting/Reconnecting Battery Current Sensor Electrical Connector
    GM1533512Courtesy of GENERAL MOTORS CORP.
  14. Connect the battery current sensor electrical connector (2).
  15. Install the battery ground (negative) cable to the battery. Refer to Battery Negative Cable Disconnect/Connect Procedure .