LEMON Manuals: Even more car manuals for everyone: 1960-2025
Home >> Saturn >> 2005 >> Relay AWD >> Repair and Diagnosis >> Electrical >> Charging Systems >> Battery, Charging System And Starting System >> Repair Instructions >> Battery Replacement >> Installation Procedure
April 5, 2026: LEMON Manuals is launched! Read the announcement.

Installation Procedure

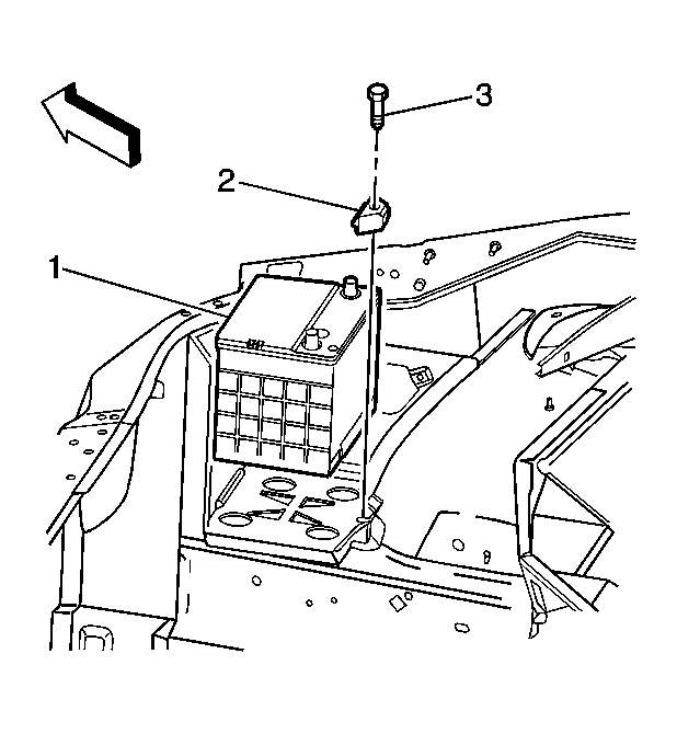
    Fig 1: Removing/Installing Battery Retainer Bolt
    GM1544742Courtesy of GENERAL MOTORS CORP.
    IMPORTANT: Do not tip the battery more than 40 degrees.
  1. Install the battery (1) and ensure that the battery is positioned properly in the battery tray.
  2. Install the battery hold down retainer (2).
  3. NOTE: Refer to Fastener Notice in Cautions and Notices.
  4. Install the battery hold down retainer bolt (3).

    Tighten:  Tighten the bolt to 17 N.m (13 lb ft).

  5. Fig 2: View Of Battery & Cables
    GM1544743Courtesy of GENERAL MOTORS CORP.
  6. Install the battery positive cable (3) to the battery.

    Tighten:  Tighten the bolt to 16 N.m (12 lb ft).

  7. Install the battery ground (negative) cable (2) to the battery. Refer to Battery Negative Cable Disconnect/Connect Procedure .
  8. Install the front end sheet metal diagonal brace. Refer to Brace Replacement - Sheet Metal Diagonal (Chevrolet) or Brace Replacement - Sheet Metal Diagonal (Pontiac) or Brace Replacement - Sheet Metal Diagonal (Buick) in Body Front End.
  9. Install the underhood electrical center. Refer to Underhood Electrical Center or Junction Block Replacement in Wiring Systems.