LEMON Manuals: Even more car manuals for everyone: 1960-2025
Home >> Saturn >> 2005 >> Relay FWD >> Repair and Diagnosis >> External Pages >> Different car >> Section 5 (Computer/Integrating Systems) >> Component Locator >> Computer/Integrating Systems Connectors
April 5, 2026: LEMON Manuals is launched! Read the announcement.

Computer/Integrating Systems Connectors

WARNING: This page is about a different car, the 2005 Chevrolet Malibu. However, it is still accessible from the selected car via links, so may be relevant.
Data Link Connector (DLC)

GM808656Courtesy of GENERAL MOTORS CORP.
Connector Part Information
  • 15393747
  • 16-Way F Metri-Pack 150 Series (GY)
Pin Wire Color Circuit No. Function
1 D-GN 5060 Low Speed GMLAN Serial Data
2 PU 1807 Class 2 Serial Data
3 - - Not Used
4 BK 650 Ground
5 BK/WH 651 Ground
6 TN/BK 2500 High Speed GMLAN Serial Data Bus (+)
7-13 - - Not Used
14 TN 2501 High Speed GMLAN Serial Data Bus (-)
15 - - Not Used
16 RD/WH 440 Battery Positive Voltage
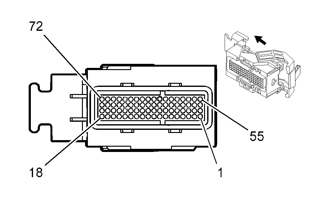
Body Control Module (BCM) - C1

GM1376257Courtesy of GENERAL MOTORS CORP.
Connector Part Information
  • 15393122
  • 72-Way F Micro-Pack 64 Series (GY)
Pin Wire Color Circuit No. Function
1-2 - - Not Used
3 D-GN/WH 636 Ambient Air Temperature Sensor Signal
4 TN 305 Trunk Key Switch Signal (Sedan)
WH/BK 1221 Lift Gate Release Switch Signal (Extended Sedan)
5 - - Not Used
6 YE 61 Ground
7-11 - - Not Used
12 BK 1050 Ground
13 TN 28 Horn Relay Control
14 - - Not Used
15 L-BU 2182 Reverse Lamp Relay Control
16 L-BU 1344 Trunk Release Relay Control
17 - - Not Used
18 OG/BK 744 Rear Compartment Lid Ajar Switch Signal
19 YE 317 Fog Lamp Relay Control (T96)
20-21 - - Not Used
22 D-GN 113 Windshield Wiper Switch Signal 2
23 - - Not Used
24 WH 17 Stop Lamp Supply Voltage
25 - - Not Used
26 YE 196 Windshield Wiper Motor Park Switch Signal
27-28 - - Not Used
29 TN/WH 1969 Headlamp High Beam Relay Control
30-32 - - Not Used
33 BN/WH 1571 Traction Control Switch Signal (NW7, NW9)
34 - - Not Used
35 L-GN 262 Driver Door Key Switch Signal
36 - - Not Used
37 D-GN 5060 Low Speed GMLAN Serial Data
38 D-BU 5364 Left DRL/Turn Supply Voltage
39 - - Not Used
40 D-GN/WH 1135 A/T Shift Lock Control Solenoid Supply Voltage
41 - - Not Used
42 WH 17 Stop Lamp Supply Voltage
43-46 - - Not Used
47 L-GN 1748 Coolant Level Switch Sighal
48-50 - - Not Used
51 GY/BK 745 Left Front Door Ajar Switch Signal
52 - - Not Used
53 L-GN/BK 748 Passenger Door Ajar Switch Signal
54 L-BU/BK 747 Passenger Door Ajar Switch Signal
55 D-GN 5060 Low Speed GMLAN Serial Data
56 D-GN 5365 Right DRL/Turn Supply Voltage
57 WH 193 Rear Defog Relay Control
58 YE 5199 Run/Crank Relay Coil Control
59 L-BU 1134 Park Brake Switch Signal
60 PK 849 Brake Fluid Level Sensor Signal
61 D-GN 5525 Tap Up/Tap Down Enable Signal
62 TN/WH 99 Hazard Indicator Supply Voltage
63-64 - - Not Used
65 WH 1080 Park Lamp Relay Control
66 WH 682 Door Lock Lock/Unlock Signal
67 WH 682 Door Lock Lock/Unlock Signal
68 - - Not Used
69 PK/BK 109 Hood Ajar Switch Signal (AP3)
70 PU 5531 Hood Ajar Switch Signal (AP3)
71 BN/WH 2091 Trunk Release Switch Supply Voltage
72 TN/WH 746 Passenger Door Ajar Switch Signal
Body Control Module (BCM) - C2

GM1376254Courtesy of GENERAL MOTORS CORP.
Connector Part Information
  • 15393121
  • 72-Way F Micro-Pack 64 Series (GY)
Pin Wire Color Circuit No. Function
1 TN/BK 2500 High Speed GMLAN Serial Data Bus +
2 TN/BK 2500 High Speed GMLAN Serial Data Bus +
3 PK/WH 1970 Headlamp Low Beam Relay Control
4 PU 524 Headlamp Dimmer Switch High Beam Signal
5 BN/WH 301 Park Lamp Switch Signal
6-8 - - Not Used
9 WH 111 Hazard Switch Signal
10 - - Not Used
11 D-GN 264 Security Indicator Signal
12 L-GN 377 Serial Data
13 BK/WH 651 Ground
14 TN 28 Horn Relay Control
15 WH 103 Headlamp Switch Headlamps on Signal
16 OG 192 Front Fog Lamp Switch Signal (T96)
17 PU/WH 549 Headlamp Switch Headlamps Off Signal
18 WH 5359 5-Volt Reference
19 TN 2501 High Speed GMLAN Serial Data Bus -
20 TN 2501 High Speed GMLAN Serial Data Bus -
21-25 - - Not Used
26 D-GN 44 Instrument Panel Lamps Dimmer Switch Signal
27-28 - - Not Used
29 L-GN 5980 Adjustable Pedal Inhibit Signal (JF4)
30 - - Not Used
31 YE 5361 Brake Pedal Position Sensor Signal
32 - - Not Used
33 YE 317 Fog Lamp Relay Control (T96)
34-36 - - Not Used
37 D-GN 5060 Low Speed GMLAN Serial Data
38 D-GN 5060 Low Speed GMLAN Serial Data
39-43 - - Not Used
44 L-GN/BK 1137 DRL Ambient Light Sensor Signal
45-46 - - Not Used
47 YE/BK 1138 DRL Ambient Light Sensor Low Reference
48-50 - - Not Used
51 BN 1356 Flash To Pass Switch Signal
52-54 - - Not Used
55 D-GN 5060 Low Speed GMLAN Serial Data
56 WH 1390 Off/Run/Crank Voltage Signal
57 GY 112 Windshield Wiper Switch Signal 1
58 PU 719 Low Reference
59 BN 5360 Low Reference
60 - - Not Used
61 GY 1884 Cruise Control Switch Signal (K34)
62 WH/BK 1073 5-Volt Reference
63 L-BU/BK 590 Sunload Sensor Signal (C68)
64 GY 1548 Sunload Sensor Signal (C68)
65 - - Not Used
66 YE/BK 1418 Left Turn Signal Switch Signal
67 D-GN/WH 1419 Right Turn Signal Switch Signal
68 L-BU 292 Rear Defog Switch Signal (C60)
69 D-GN/WH 762 A/C Request Signal (C60)
70-71 - - Not Used
72 TN 683 Rear Defog Relay Control (C60)
Body Control Module (BCM) - C3

GM1362564Courtesy of GENERAL MOTORS CORP.
Connector Part Information
  • 15404825
  • 41-Way F Metri-Pack Mixed (RD)
Pin Wire Color Circuit No. Function
A1 TN 294 Door Lock Actuator Unlock Control
A2 TN 294 Door Lock Actuator Unlock Control
TN 294 Door Lock Actuator Unlock Control
A3 OG 1732 Courtesy Lamps Supply Voltage
A4 GY 295 Door Lock Actuator Lock Control
GY 295 Door Lock Actuator Lock Control
A5 GY/BK 295 Door Lock Actuator Lock Control
GY/BK 295 Door Lock Actuator Lock Control
A6 PK 1139 Ignition 1 Voltage
A7 BN 9 Park Lamp Supply Voltage
A8 PK 339 Ignition 1 Voltage
A9 YE 18 Left Rear Stop/Turn Lamp Supply Voltage
A10 GY 157 Courtesy Lamp Control
A11 D-BU 1307 Power Window Master Switch Lockout Signal
A12 D-GN 19 Right Rear Stop/Turn Lamp Supply Voltage
B1 TN 694 Driver Door Lock Actuator Unlock Control
B2-B4 - - Not Used
B5 BN 4 Accessory Voltage
B6-B7 - - Not Available
B8-B10 - - Not Used
B11 D-BU 1307 Power Window Master Switch Lockout Signal
B12 GY 8 Instrument Panel Lamp Supply Voltage
C1- C2 - - Not Available
C3 YE 243 Accessory Voltage (KA1)
YE 243 Accessory Voltage (KA1)
C4 - - Not Used
C5 YE 343 Accessory Voltage
C6- C7 - - Not Available
C8 - - Not Used
C9 L-GN 377 Serial Data
C11 D-BU 1307 Power Window Master Switch Lockout Signal
C12 OG 228 Windshield Washer Pump Control
D1 RD/BK 342 Battery Positive Voltage
D2 - - Not Available
D3 YE 243 Accessory Voltage
D4 RD/WH 640 Battery Positive Voltage
D5 YE 343 Accessory Voltage
D6 D-GN 591 Ignition 1 Voltage
D7-D9 - - Not Used
D10 RD/BK 442 Battery Positive Voltage
D11 RD/WH 1340 Battery Positive Voltage
D12 RD/BK 242 Battery Positive Voltage
Body Control Module (BCM) - C4

GM697044Courtesy of GENERAL MOTORS CORP.
Connector Part Information
  • 15356603
  • 68-Way F Metri-Pack 280 Series Flexlock (GY)
Pin Wire Color Circuit No. Function
A1-A12 - - Not Used
B1 OG 228 Windshield Washer Pump Control
B2 GY 8 Instrument Panel Lamp Supply Voltage (K34/UK3)
B3 BN 41 Ignition 3 Voltage (C60)
B4-B5 - - Not Used
B6 BN 141 Ignition 3 Voltage
B7-B12 - - Not Used
C1 RD/WH 340 Battery Positive Voltage
C2 GY 8 Instrument Panel Lamp Supply Voltage
GY 8 Instrument Panel Lamp Supply Voltage
C3 L-GN 377 Serial Data
C4 OG 52 High Blower Motor Control (C60)
C5 BN 9 Park Lamp Supply Voltage (C60)
C6-C7 - - Not Available
C8 BN 4 Accessory Voltage Signal
BN 4 Accessory Voltage Signal
C9-C12 - - Not Used
D1 RD/WH 1040 Battery Positive Voltage
D2 - - Not Used
D3 PK 3 Ignition 1 Voltage Signal
PK 3 Ignition 1 Voltage Signal
D4 PU 65 Blower Motor Supply Voltage (C60)
D5 - - Not Used
D6-D7 - - Not Available
D8 YE 143 Accessory Voltage
D9 - - Not Used
D10 RD/WH 740 Battery Positive Voltage (JF4)
RD/WH 740 Battery Positive Voltage (JF4)
D11-D12 - - Not Used
E1 RD/WH 440 Battery Positive Voltage
RD/WH 440 Battery Positive Voltage
E2 RD/BK 442 Battery Positive Voltage (C68)
E3 D-BU 101 Blower Motor Supply Voltage (C60)
E4-E9 - - Not Used
E10 RD/WH 840 Battery Positive Voltage (UE1)
E11 - - Not Used
E12 BK 650 Ground
F1 RD/WH 1440 Battery Positive Voltage
RD/WH 1440 Battery Positive Voltage
F2 GY 8 Instrument Panel Lamp Supply Voltage
GY 8 Instrument Panel Lamp Supply Voltage (JF4)
F3 GY 8 Instrument Panel Lamp Supply Voltage
GY 8 Instrument Panel Lamp Supply Voltage (T96)
F4-F5 - - Not Used
F6 PK 339 Ignition 1 Voltage (K34)
F7-F8 - - Not Used
F9 PK 1039 Ignition 1 Voltage
F10-F12 - - Not Used