LEMON Manuals: Even more car manuals for everyone: 1960-2025
Home >> Saturn >> 2005 >> VUE AWD L4-2.2L VIN D >> Repair and Diagnosis >> Powertrain Management >> Transmission Control Systems >> Relays and Modules - Transmission and Drivetrain >> Relays and Modules - A/T >> Control Module >> Service and Repair
April 5, 2026: LEMON Manuals is launched! Read the announcement.

Control Module: Service and Repair

article: docid= 1548962

Transmission Control Module (TCM) Replacement
Removal Procedure





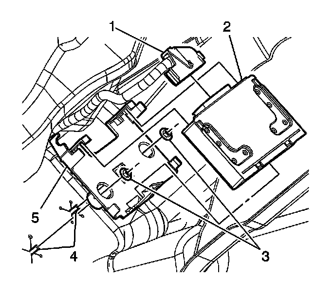
1. Important: Wires to the TCM connector have 350-400 mm of extra length to aid in the diagnosis and repair of the TCM. Re-tape wires after repairs.

Remove the screws from the instrument panel (I/P) lower closeout panel.
2. Remove the I/P lower left closeout panel.





3. Release the transmission control module (TCM) (2) from the TCM bracket (5).
4. Un-wrap the tape from the extra length of wires in wiring harness.
5. Pull the TCM down to access the electrical connector.
6. Release the TCM electrical connector (1) from the TCM.
7. If TCM bracket replacement is necessary, remove the TCM bracket nuts (3).
8. Remove the TCM bracket (5) from the vehicle.

Installation Procedure





1. Install the TCM bracket (5) if previously removed.

2. Notice: Install the TCM bracket nuts (3).

Tighten the nuts to 10 Nm (89 inch lbs.).
3. Install the TCM electrical connector (1) to the TCM.
4. Install the TCM (2) to the TCM bracket (5).
5. Re-tape the extra length of wires in harness.





6. Install the I/P lower left closeout panel.
7. Install the I/P lower closeout panel screws.
^ Tighten the screws to 2 Nm (18 inch lbs.).