LEMON Manuals: Even more car manuals for everyone: 1960-2025
Home >> Saturn >> 2007 >> ION L4-2.2L >> Repair and Diagnosis >> Transmission and Drivetrain >> Automatic Transmission/Transaxle >> Control Module >> Diagrams
April 5, 2026: LEMON Manuals is launched! Read the announcement.

Control Module: Diagrams



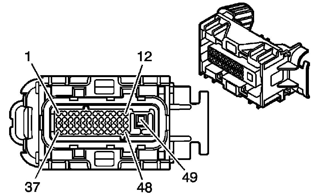
Automatic Transmission Related Connector End Views







Transmission Control Module (TCM), Engine Side: