LEMON Manuals: Even more car manuals for everyone: 1960-2025
Home >> Saturn >> 2007 >> Ion Red Line >> Repair and Diagnosis >> Electrical >> Component Locations >> Component Locations And In-Line Harness Connector End Views >> Electrical Center Identification Views >> Body Control Module (BCM) Bottom View
April 5, 2026: LEMON Manuals is launched! Read the announcement.

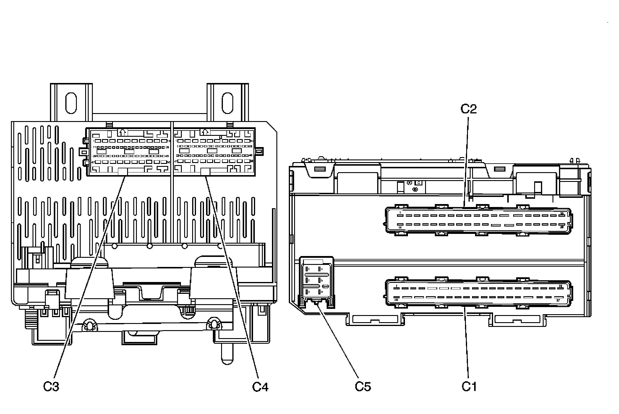
Body Control Module (BCM) Bottom View

Fig 1: Body Control Module (BCM) Bottom View
GM893862Courtesy of GENERAL MOTORS CORP.