LEMON Manuals: Even more car manuals for everyone: 1960-2025
Home >> Saturn >> 2007 >> Vue Green Line >> Repair and Diagnosis >> External Pages >> Different car >> Section 152 (Computer/Integrating Systems) >> Schematic and Routing Diagrams >> Body Control System Schematics
April 5, 2026: LEMON Manuals is launched! Read the announcement.

Body Control System Schematics

WARNING: This page is about a different car, the 2005 Saturn Vue. However, it is still accessible from the selected car via links, so may be relevant.
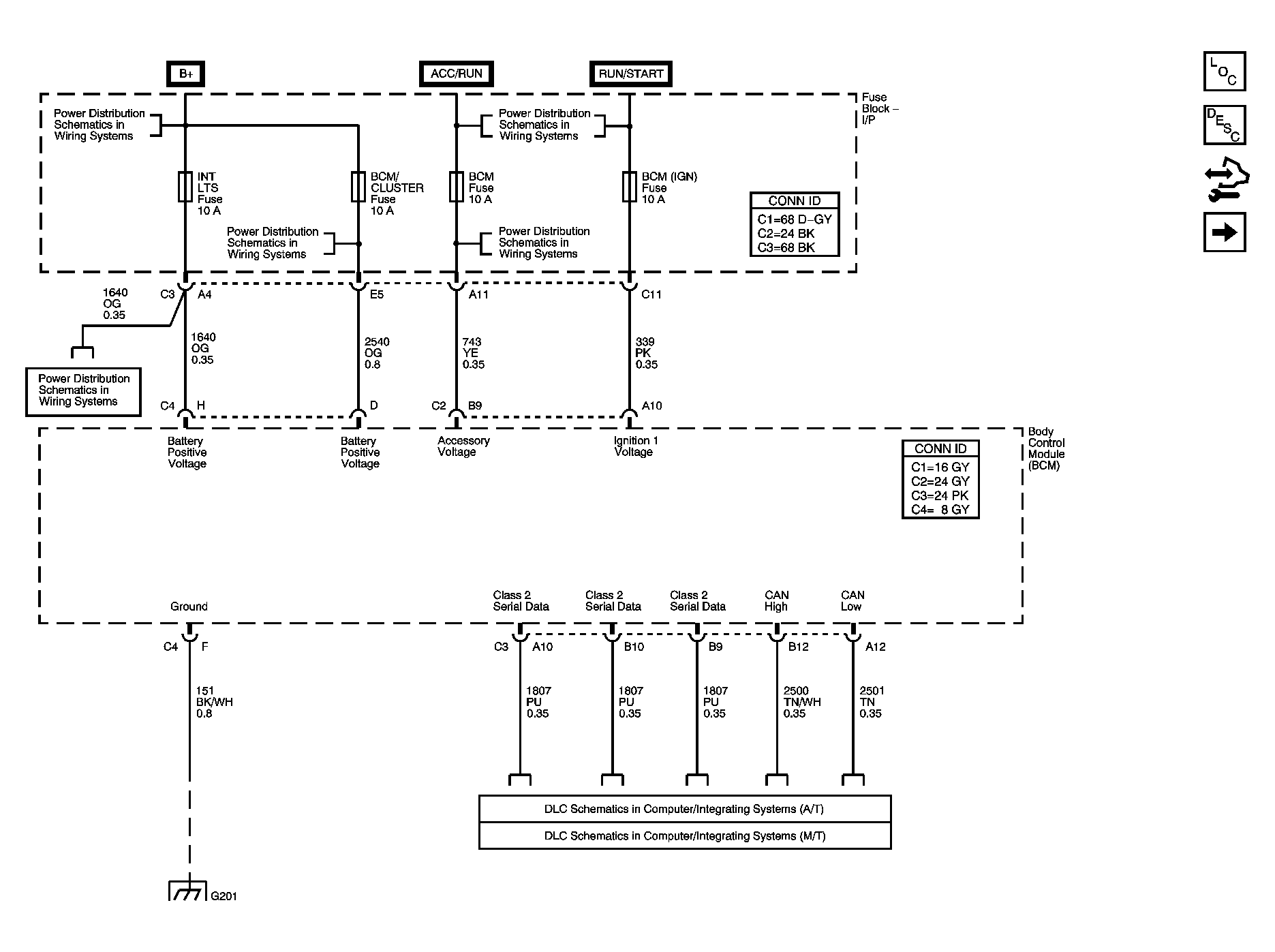
Fig 1: Power, Ground, and Communication
GM1501765Courtesy of GENERAL MOTORS CORP.
Fig 2: Lighting and Wiper System References
GM1501766Courtesy of GENERAL MOTORS CORP.
Fig 3: Controlled/Monitored Subsystem References
GM1501767Courtesy of GENERAL MOTORS CORP.