LEMON Manuals: Even more car manuals for everyone: 1960-2025
Home >> Saturn >> 2008 >> Astra L4-1.8L >> Repair and Diagnosis >> Transmission and Drivetrain >> Automatic Transmission/Transaxle >> Control Module >> Service and Repair
April 5, 2026: LEMON Manuals is launched! Read the announcement.

Control Module: Service and Repair



Transmission Control Module Replacement

Removal Procedure

1. Remove the center console. Refer to Front Floor Console Replacement (Service and Repair) .




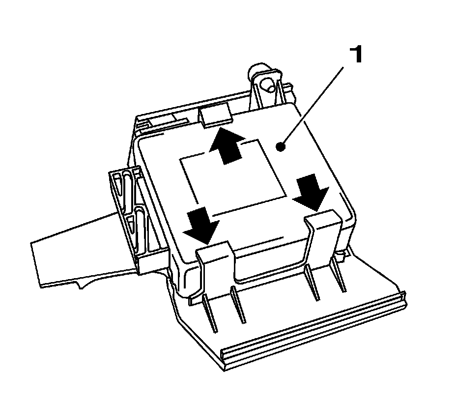
2. Remove the vent duct (1).

Important: Do not damage the wiring harness.


3. Open the cable ties (1).
4. Remove the cable ties (2) from the bracket.
5. Disconnect the wiring harness plug (3).
6. Detach the wiring harness plug (4) from the transmission control module (TCM).
Release the wiring harness plug and disconnect.




7. Remove the TCM with bracket.

* Slightly pull out the TCM with bracket.
* Detach the wiring harness plug (1) from the bracket.
Release the wiring harness plug (arrow).
* Remove the TCM with bracket.





8. Detach the TCM (1) from the bracket.
Carefully push locks (arrows) outward.



Installation Procedure






Important: Note guides for positioning the control unit on the bracket.


1. Attach TCM (1) to the bracket.
Replace the cable ties (arrow).




2. Attach the wiring harness plug (1) to the bracket.
Lock (arrow) must engage.
3. Attach the wiring harness plug (4) to the TCM.
Connect and lock the wiring harness plug.
4. Connect the wiring harness plug (3).
5. Attach the cable tie (2) to the bracket.
6. Attach the cable tie (1).





Important: Check for proper seating.


7. Install the vent duct (1).
8. Install the center console. Refer to Front Floor Console Replacement (Service and Repair) .
9. If a replacement TCM was installed, program the module. Refer to Control Module References (Programming and Relearning) .