LEMON Manuals: Even more car manuals for everyone: 1960-2025
Home >> Saturn >> 2008 >> Aura L4-2.4L >> Repair and Diagnosis >> Heating and Air Conditioning >> Control Module HVAC >> Locations
April 5, 2026: LEMON Manuals is launched! Read the announcement.

Control Module HVAC: Locations



Instrument Panel/Center Console Component Views

HVAC Components 1 of 3




1 - Rear Floor Duct
2 - Air Temperature Sensor - Lower (C68)
3 - Console

HVAC Components 2 of 3




1 - Mode Actuator
2 - HVAC Module Assembly
3 - Air Temperature Actuator
4 - Blower Motor
5 - Recirculation Actuator
6 - Blower Motor Control Module (C68)

HVAC Components 3 of 3




1 - Center Duct
2 - Defrost Duct
3 - Rear Floor Duct
4 - Air Temperature Sensor - Upper (C68)
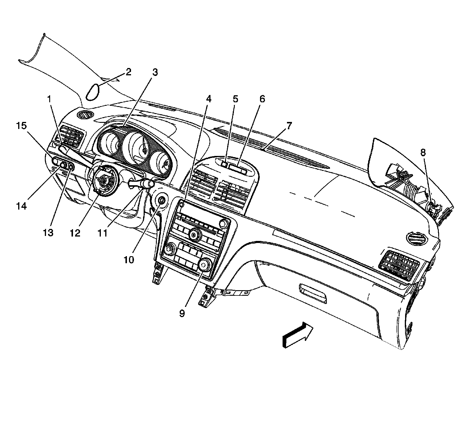
Instrument Panel Components 1 of 2




1 - Turn Signal/Multifunction Switch
2 - Speaker - Left Front Tweeter
3 - Instrument Panel Cluster (IPC)
4 - Radio
5 - Hazard Switch
6 - Inflatable Restraint PASSENGER AIR BAG ON/OFF Indicator
7 - Ambient Light Sensor (C60) Sunload Sensor (C68)
8 - Speaker - Right Front Tweeter
9 - HVAC Control Module
10 - Ignition Switch
11 - Windshield Wiper/Washer Switch
12 - Inflatable Restraint Steering Wheel Module Coil
13 - Fog Lamp Switch (T96)
14 - I/P Dimmer Switch
15 - Adjustable Pedal Position Switch (JF4)

Instrument Panel Components 2 of 2




1 - Instrument Panel Trim
2 - Vehicle Communications Interface Module (VCIM) (UE1)