LEMON Manuals: Even more car manuals for everyone: 1960-2025
Home >> Saturn >> 2008 >> Sky Base, Automatic >> Repair and Diagnosis >> Brakes >> Anti-Lock Brake System, Traction Control System & Stability Control System >> Repair Instructions >> Brake Pressure Modulator Valve Replacement >> Installation Procedure
April 5, 2026: LEMON Manuals is launched! Read the announcement.

Installation Procedure

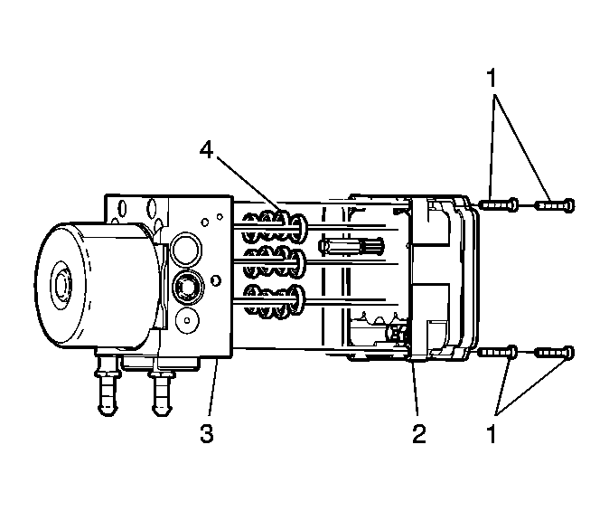
    Fig 1: View Of BPMV & EBCM Components
    GM1859745Courtesy of GENERAL MOTORS CORP.
  1. If installing a new BPMV, install new EBCM O-ring seals (4) to the BPMV (3).
  2. IMPORTANT: Ensure the brake pressure switch is properly aligned to the BPMV when installing the EBCM. Do not force the components together.
  3. Carefully install the EBCM (2) to the BPMV.
  4. NOTE: Refer to Fastener Notice .
  5. Install the EBCM bolts (1).

    Tighten:  Tighten the bolts to 2.3 N.m (20 lb in).

  6. Fig 2: View Of BPMV Bracket & Bolt
    GM1859744Courtesy of GENERAL MOTORS CORP.
  7. Inspect the BPMV bracket insulators for damage and replace if necessary.
  8. IMPORTANT: If necessary, a small amount of denatured alcohol can be used as an assembly aid for installing the BPMV mounting pins to the BPMV bracket.
  9. Install the BPMV to the bracket.
  10. Install the BPMV bolt.

    Tighten:  Tighten the bolt to 11 N.m (97 lb in).

  11. Fig 3: Locating Upper & Lower BPMV Bracket Bolts & Brake Modulator Bracket Assembly
    GM1859743Courtesy of GENERAL MOTORS CORP.
  12. Install the brake modulator and bracket assembly (3). Align the BPMV bracket to the lower bracket bolt (2).
  13. Install the 2 upper brake modulator bracket bolts (1).

    Tighten:  Tighten the bolts to 10 N.m (89 lb in).

  14. Install the lower brake modulator bracket bolt.

    Tighten:  Tighten the bolt to 10 N.m (89 lb in).

  15. Fig 4: View Of Rear Brake Pipe Fittings, Front Brake Pipe Fittings & EBCM Electrical Connector
    GM1859741Courtesy of GENERAL MOTORS CORP.
  16. Install the 2 rear brake pipe fittings (1) to the BPMV.

    Tighten:  Tighten the fittings to 20 N.m (15 lb ft).

  17. Install the 2 front brake pipe fittings (2) to the BPMV.

    Tighten:  Tighten the fittings to 20 N.m (15 lb ft).

  18. Connect the EBCM electrical connector (3). Ensure the tabs on the cam lever are securely locked in place.
  19. Fig 5: View Of Master Cylinder Brake Pipe Fittings
    GM1859463Courtesy of GENERAL MOTORS CORP.
  20. Install the brake master cylinder and brake pipes assembly to the vacuum brake booster.
  21. Install the 2 master cylinder brake pipe fittings to the BPMV.

    Tighten:  Tighten the fittings to 20 N.m (15 lb ft).

  22. Fig 6: View Of Master Cylinder Wiring Harness & Nuts
    GM1859462Courtesy of GENERAL MOTORS CORP.
  23. If equipped, connect the clutch master cylinder hose to the brake master cylinder reservoir.
  24. Install 2 new brake master cylinder nuts.

    Tighten:  Tighten the nuts to 20 N.m (15 lb ft).

  25. Position the wiring harness upward and install the wiring harness retainer to the master cylinder mounting stud on the vacuum brake booster.
  26. Fig 7: View Of Brake Fluid Level Indicator Switch & Vacuum Brake Booster Vacuum Sensor Electrical Connectors
    GM1859458Courtesy of GENERAL MOTORS CORP.
  27. Connect the brake booster vacuum sensor electrical connector.
  28. Connect the brake fluid level indicator switch electrical connector.
  29. If a new EBCM was installed, program the EBCM. Refer to Electronic Brake Control Module Programming and Setup .
  30. IMPORTANT: A new BPMV comes with both the primary and secondary circuits pre-filled with brake fluid. If the ignition key has not been cycled after installation, only a base brake bleed is necessary.
  31. Bleed the hydraulic brake system. Refer to Hydraulic Brake System Bleeding (Manual) or Hydraulic Brake System Bleeding (Pressure) .
  32. Perform the Diagnostic System Check - Vehicle .
  33. Observe the brake pedal feel after performing the diagnostic system check. If the pedal now feels spongy, air may have been introduced into the secondary hydraulic circuit of the brake modulator which then may have been introduced into the primary circuit. If the pedal feels spongy, perform the Antilock Brake System Automated Bleed Procedure .