LEMON Manuals: Even more car manuals for everyone: 1960-2025
Home >> Saturn >> 2009 >> Vue Red Line, AWD >> Repair and Diagnosis >> External Pages >> Different car >> Section 1190 (Hybrid Control System) >> Repair Instructions >> Generator Control Module 3-Phase Cable Assembly Replacement >> Installation Procedure
April 5, 2026: LEMON Manuals is launched! Read the announcement.

Installation Procedure

WARNING: This page is about a different car, the 2008 Saturn Vue. However, it is still accessible from the selected car via links, so may be relevant.
    Fig 1: 3-Phase Cable Bolts
    GM1998279Courtesy of GENERAL MOTORS CORP.
    NOTE: Refer to Fastener Notice .
  1. Install the 3-phase cable bolts (1) to the generator starter.

    Tighten:  Tighten the nuts and bolts to 8 N.m (71 lb in).

  2. Install the 3-phase cable nuts underneath the generator starter cover.

    Tighten:  Tighten the nuts to 8 N.m (71 lb in).

  3. Fig 2: Generator Starter Cover Bolts
    GM1998268Courtesy of GENERAL MOTORS CORP.
  4. Install the generator starter cover bolts (1) and the 3-phase cable bracket bolts (2).

    Tighten:  Tighten the bolts to 5 N.m (44 lb in).

  5. Fig 3: Upper Generator Starter Bolt
    GM1998216Courtesy of GENERAL MOTORS CORP.
  6. Install the generator starter to the vehicle with the 3-phase cables.
  7. Install the lower generator starter bolts (2).

    Tighten:  Tighten the bolts to 58 N.m (43 lb ft).

  8. Install the A/C compressor hose assembly lines to the A/C compressor. Refer to Compressor Hose Assembly Replacement (LAT) , Compressor Hose Assembly Replacement (LE5) , Compressor Hose Assembly Replacement (LY7) or Compressor Hose Assembly Replacement (LZ4) .
  9. Install the upper generator starter bolt (1).

    Tighten:  Tighten the bolt to 58 N.m (43 lb ft).

  10. Connect the engine wiring harness electrical connectors next to the generator starter.
  11. Install the upper radiator hose to the cylinder head.
  12. Fig 4: Oil Level Indicator Bracket Bolts
    GM1998212Courtesy of GENERAL MOTORS CORP.
  13. Install the bolt securing the 3-phase cables to the oil level indicator bracket.

    Tighten:  Tighten the bolt to 10 N.m (89 lb in).

  14. Fig 5: Battery Positive Terminal Block Nuts
    GM1999097Courtesy of GENERAL MOTORS CORP.
  15. Install the 3-phase cable terminal block (4) and nuts (3).

    Tighten:  Tighten the bolt to 10 N.m (89 lb in).

  16. Install the battery positive terminal block (2) and nuts (1).

    Tighten:  Tighten the bolt to 10 N.m (89 lb in).

  17. Fig 6: Generator Control Module Cover Bolts And Cover
    GM1998181Courtesy of GENERAL MOTORS CORP.
  18. Install the generator control module cover bolts (1) and cover (2).

    Tighten:  Tighten the bolt to 10 N.m (89 lb in).

  19. Fig 7: ECM Bracket
    GM1998167Courtesy of GENERAL MOTORS CORP.
  20. Install the ECM bracket (3), bolts (1) and nuts (2).

    Tighten:  Tighten the bolt to 10 N.m (89 lb in).

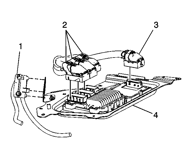
  21. Fig 8: Battery Positive Cable Jumper Block
    GM1998156Courtesy of GENERAL MOTORS CORP.
  22. Connect the ECM electrical connectors (2) and the TCM electrical connectors (3).
  23. Clip in the battery positive cable jumper block (1) to the ECM bracket (4).
  24. Recharge the A/C system. Refer to Refrigerant Recovery and Recharging .
  25. Fill the cooling system. Refer to Cooling System Draining and Filling (Static Fill) or Cooling System Draining and Filling (GE 47716 Fill) .
  26. Install the drive belt. Refer to Drive Belt Replacement (LAT) or Drive Belt Replacement (LE5) .
  27. Install the air cleaner outlet duct. Refer to Air Cleaner Outlet Duct Replacement .
  28. Connect the hybrid battery. Refer to Hybrid Battery Service Disconnect/Connect .
  29. Using a Tech 2, command an autostart in order to verify that the system is working properly.