LEMON Manuals: Even more car manuals for everyone: 1960-2025
Home >> Saturn >> 2009 >> Vue Red Line, AWD >> Repair and Diagnosis >> External Pages >> Different car >> Section 452 (Cellular System, Entertainment System, And Navigation System) >> Component Locator >> Entertainment/Communication Component Views
April 5, 2026: LEMON Manuals is launched! Read the announcement.

Entertainment/Communication Component Views

WARNING: This page is about a different car, the 2007 Cadillac STS. However, it is still accessible from the selected car via links, so may be relevant.
Fig 1: Radio and Speaker Component View
GM1488584Courtesy of GENERAL MOTORS CORP.
Callout Component Name
1 Speaker - Center I/P
2 Radio
3 Speaker - RF I/P
4 Speaker - RF Door
5 Speaker - Rear Console
6 Speaker - RR Door
7 Speaker - LR
8 Speaker - Rear Subwoofer
9 Speaker - RR
10 Floor Console
11 Speaker - LR Door
12 Floor Panel
13 Speaker - LF Door
14 Speaker - LF I/P
Fig 2: Digital Radio Receiver (U2K)
GM1688459Courtesy of GENERAL MOTORS CORP.
Callout Component Name
1 Passenger Side C-Pillar
2 Digital Radio Receiver
Fig 3: Audio Amplifier (UX8/UY5)
GM1488503Courtesy of GENERAL MOTORS CORP.
Callout Component Name
1 LR Quarter Panel
2 Audio Amplifier
Fig 4: Top of Rear Window Component View (UE1/U2K)
GM1530613Courtesy of GENERAL MOTORS CORP.
Callout Component Name
1 VICS-FM3 Antenna
2 Radio Antenna Module
3 Rear Window Defogger Grid
4 AM/FM 1 Antenna
5 FM 2 Antenna
6 Roof Rail
Fig 5: Headliner Components
GM1530189Courtesy of GENERAL MOTORS CORP.
Callout Component Name
1 Overhead Courtesy/Reading Lamps - Front
2 Garage Door Opener (UG1)
3 Keyless Entry Antenna - Headliner
4 Sunroof Control Module (CF5)
5 Overhead Courtesy/Reading Lamps-Rear
6 Rear Parking Assist (RPA) Display (UD7)
7 Sunroof Assembly (CF5)
8 Top of Headliner
9 Noise Compensation Microphone (UY5)
10 Sunroof Switches (CF5)
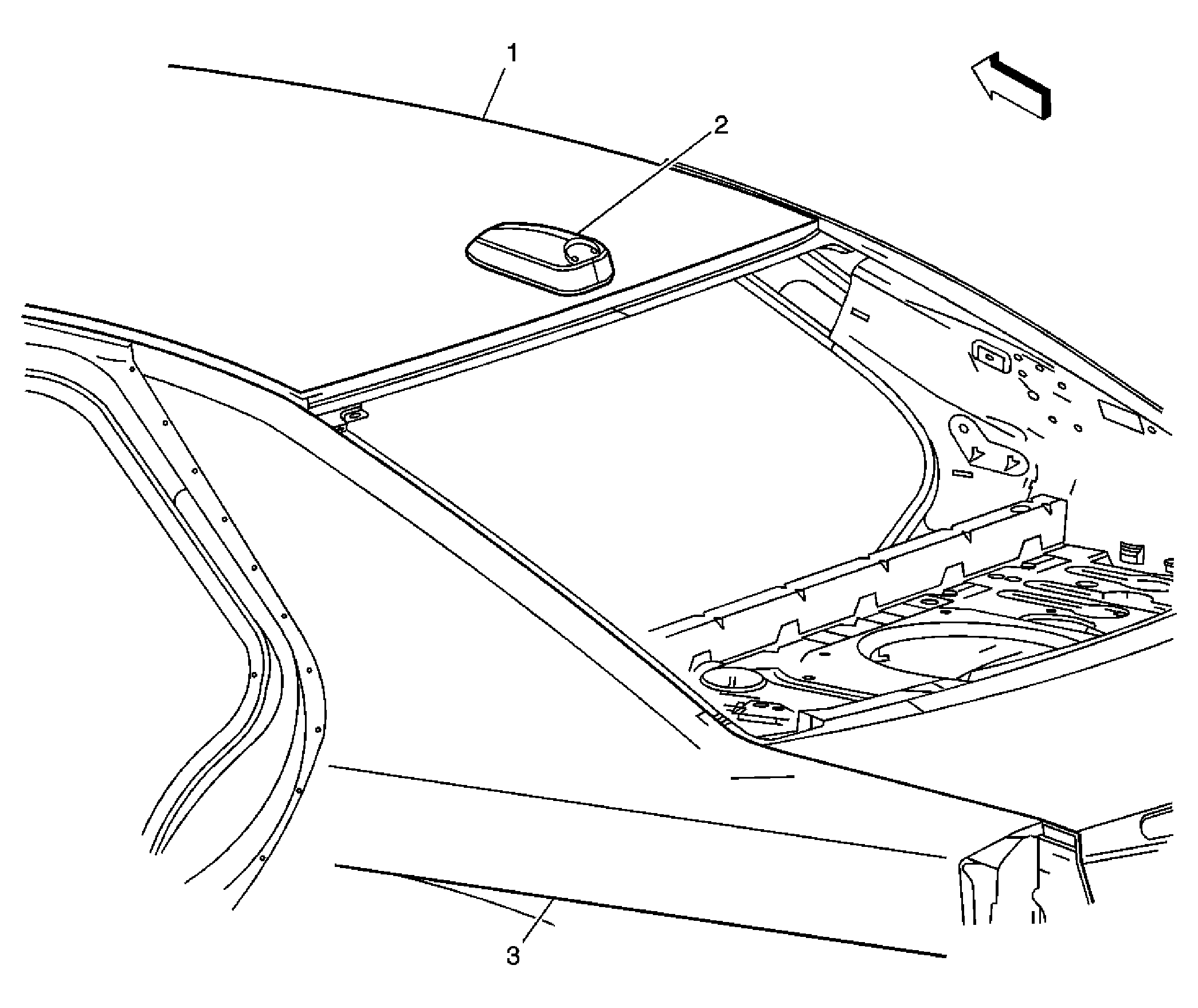
Fig 6: Rear of the Roof Component View (UE1/U2K)
GM1530210Courtesy of GENERAL MOTORS CORP.
Callout Component Name
1 Roof
2 Cellular, Navigation, and Digital Radio Antenna - if equipped
3 LR Fender Panel
Fig 7: Steering Column and Wheel Component View
GM1488567Courtesy of GENERAL MOTORS CORP.
Callout Component Name
1 Telescoping Drive Wheel
2 Steering Angle Sensor
3 Turn Signal/Multifunction Switch
4 Windshield Wiper/Washer Switch Assembly
5 Steering Wheel Controls Seek Button (Part of the Steering Wheel Control Switch Assembly)
6 Steering Wheel Controls Volume Button (Part of the Steering Wheel Control Switch Assembly)
7 C277
8 Horn Switch Connector
9 Heated Steering Wheel Module
10 Steering Wheel Controls Mute/Source Button (w/o NR7/N31), Heated Steering Wheel Button (NR7/N31) (Part of the Steering Wheel Control Switch Assembly)
11 Steering Wheel Controls Voice/Preset Button (Part of the Steering Wheel Control Switch Assembly)
12 Heated Steering Wheel (NR7/N31)
13 Tilt/Telescope Switch
14 Tilt Actuator
15 C202
16 Steering Column Lock Control Module (UA2)
Fig 8: Driver Seat Component View
GM1488573Courtesy of GENERAL MOTORS CORP.
Callout Component Name
1 Lumbar Motor Assembly - Driver: Horizontal Motor and Position Sensor (AL2)
2 Speaker - Driver Seat Right (UY5)
3 Cooled Seat Blower Motor - Driver Back (KB6)
4 Speaker - Driver Seat Left (UY5)
5 Lumbar Motor Assembly - Driver: Vertical Motor and Position Sensor (AL2)
6 Heated Seat Element - Driver Back (KA1)
7 Heated Seat Element - Driver Cushion (KA1)
8 Lumbar Adjuster Switch - Driver (AL2)
9 Seat Recliner Switch
10 Seat Adjuster Switch - Driver
11 Cooled Seat Blower Motor - Driver Cushion (KB6)
11 Cooled Seat Blower Motor - Driver Cushion (KB6)
12 Seat Rear Vertical Motor - Driver
13 Seat Rear Vertical Position Sensor - Driver (A45)
14 Seat Front Vertical Position Sensor - Driver (A45)
15 Seat Horizontal Motor - Driver
16 Seat Horizontal Position Sensor - Driver (A45)
17 Seat Front Vertical Motor - Driver
18 Memory Seat Module (A45)
19 Seat Belt Pretensioner
20 Seat Recliner Motor Driver (w/oA45) or Seat Recline Motor Assembly (A45)
Fig 9: Front Passenger Seat Component View
GM1488574Courtesy of GENERAL MOTORS CORP.
Callout Component Name
1 Speaker - Passenger Seat Right (UY5)
2 Cooled Seat Blower Motor - Passenger Back (KB6)
3 Speaker - Passenger Seat Left (UY5)
4 Lumbar Horizontal Motor - Passenger
5 Seat Recliner Motor - Passenger
6 Seat Belt Pretentioner
7 Climate Control Seat Module (KA1/KB6)
8 Cooled Seat Blower Motor - Passenger Cushion (KB6)
9 Seat Adjuster Switch - Passenger
10 Seat Recliner Switch
11 Seat Front Vertical Motor - Passenger
12 Seat Rear Vertical Motor - Passenger
13 Seat Horizontal Motor - Passenger
14 Lumbar Adjuster Switch - Passenger (AL2)
15 Heated Seat Element - Passenger Cushion (KA1)
16 Heated Seat Element - Passenger Back (KA1)
Fig 10: Console Component View
GM1488593Courtesy of GENERAL MOTORS CORP.
Callout Component Name
1 Auxiliary Power Outlet - Console
2 Auxiliary Audio/Video Control (UY5)
3 HVAC Control Module - Rear Auxiliary (KA6)
4 LR Heated Seat Switch - Part of the Rear Auxiliary Module
5 RR Heated Seat Switch - Part of the Rear Auxiliary Module
6 Mode Select Switch - Auxiliary (KA6)
7 Auxiliary Power Outlet - Rear
8 Hazard Switch
9 Traction Control Switch
Fig 11: Vehicle Communication Interface Module (VCIM) (UE1)
GM1488412Courtesy of GENERAL MOTORS CORP.
Callout Component Name
1 RR Luggage Compartment Panel
2 Vehicle Communication Interface Module (VCIM)
Fig 12: Optical Beacon Antenna
GM1488514Courtesy of GENERAL MOTORS CORP.
Callout Component Name
1 Windshield
2 Optical Beacon Antenna
3 Passenger A Pillar
Fig 13: Global Positioning System (GPS) Antenna
GM1480267Courtesy of GENERAL MOTORS CORP.
Callout Component Name
1 Global Positioning System (GPS) Antenna
2 Radio
Fig 14: Left Rear of Passenger Compartment (Export)
GM1721301Courtesy of GENERAL MOTORS CORP.
Callout Component Name
1 Rear Fascia
2 T.V. Antenna Module
3 T.V. Amplifier/Antenna
Fig 15: RR of the Passenger Compartment
GM1488490Courtesy of GENERAL MOTORS CORP.
Callout Component Name
1 TV Rear Glass Antenna
2 Passenger Side C-Pillar
3 TV Rear Glass Antenna
4 TV Antenna Amplifier
Fig 16: TV Antenna Module (Export w/YQ6/YQ7)
GM1488472Courtesy of GENERAL MOTORS CORP.
Callout Component Name
1 TV Antenna Module
2 Driver Side C-Pillar
Fig 17: Top of Rear Window Component View (UE1/U2K)
GM1530613Courtesy of GENERAL MOTORS CORP.
Callout Component Name
1 VICS-FM3 Antenna
2 Radio Antenna Module
3 Rear Window Defogger Grid
4 AM/FM 1 Antenna
5 FM 2 Antenna
6 Roof Rail
Fig 18: Top of the Windshield Component Views
GM1488555Courtesy of GENERAL MOTORS CORP.
Callout  Component Name 
1 Sunroof Switch (CF5)
2 Outside Moisture Sensor (CE1)
3 Intellabeam Sensor (TQ5)
4 Cellular Microphone (UE1)
5 OnStar® Button Assembly (UE1)
6 Inside Rearview Mirror (ISRVM)