LEMON Manuals: Even more car manuals for everyone: 1960-2025
Home >> Scion >> 2005 >> tC Standard >> Repair and Diagnosis >> General Information >> Identification >> Introduction >> Repair Instruction >> Precaution
April 5, 2026: LEMON Manuals is launched! Read the announcement.

Repair Instruction: Precaution

  1. BASIC REPAIR HINT 
    1. HINTS ON OPERATIONS
      Fig 1: Identifying Basic Repair Hint
      G03073923Courtesy of © TOYOTA, LICENSE AGREEMENT TMS1002
      Fig 2: Hints On Operations Chart
      G03073924Courtesy of © TOYOTA, LICENSE AGREEMENT TMS1002
    2. JACKING UP AND SUPPORTING THE VEHICLE
      1. Care must be taken when jacking up and supporting the vehicle. Be sure to lift and support the vehicle at the proper locations (SeeVEHICLE LIFT AND SUPPORT LOCATIONS  ).
      Fig 3: Identifying Bolts Are Coated With Seal Lock Adhesive
      G03073925Courtesy of © TOYOTA, LICENSE AGREEMENT TMS1002
    3. PRECOATED PARTS
      1. Precoated parts are bolts and nuts that are coated with a seal lock adhesive at the factory.
      2. If a precoated part is retightened, loosened or moved in any way, it must be recoated with the specified adhesive.
      3. When reusing a precoated part, clean off the old adhesive and dry the part with compressed air. Then apply new seal lock adhesive appropriate to that part.
      4. Some seal lock agents harden slowly. You may have to wait for the seal lock agent to harden.
    4. GASKETS
      1. When necessary, use a sealer on gaskets to prevent leaks.
    5. BOLTS, NUTS AND SCREWS
      1. Carefully observe all the specifications for tightening torques. Always use a torque wrench.
      NOTE: Torque to the lower limit value of the torque specification.
    6. FUSES
      1. When replacing fuses, be sure that the new fuse has the correct amperage rating. Do not exceed the rating or use one with a lower rating.
      Fig 4: Identifying Fuses (1 Of 2)
      G03073926Courtesy of © TOYOTA, LICENSE AGREEMENT TMS1002
      Fig 5: Identifying Fuses (2 Of 2)
      G03073927Courtesy of © TOYOTA, LICENSE AGREEMENT TMS1002
    7. CLIPS
      1. The removal and installation methods of typical clips used for vehicle body parts are shown in the table below.

      HINT:

      If clips are damaged during a procedure, always replace the damaged clip with a new clip.

      Fig 6: Removing Clips (1 Of 2)
      G03073928Courtesy of © TOYOTA, LICENSE AGREEMENT TMS1002
      Fig 7: Removing Clips (2 Of 2)
      G03073929Courtesy of © TOYOTA, LICENSE AGREEMENT TMS1002
    8. REMOVAL AND INSTALLATION OF VACUUM HOSES
      1. To disconnect a vacuum hose, pull and twist it from its end. Do not pull from the middle of the hose as this may cause damage.
        Fig 8: Removing Vacuum Hoses
        G03073930Courtesy of © TOYOTA, LICENSE AGREEMENT TMS1002
      2. When disconnecting vacuum hoses, use tags to identify where they should be reconnected.
      3. After completing any work, double check that the vacuum hoses are properly connected. The label under the hood shows the proper layout.
      4. When using a vacuum gauge, never force the hose onto a connector that is too large. Use a step-down adapter for adjustment. If a hose has been stretched, it may leak air.
        Fig 9: Disconnecting And Tagging Vacuum Hoses
        G03073931Courtesy of © TOYOTA, LICENSE AGREEMENT TMS1002
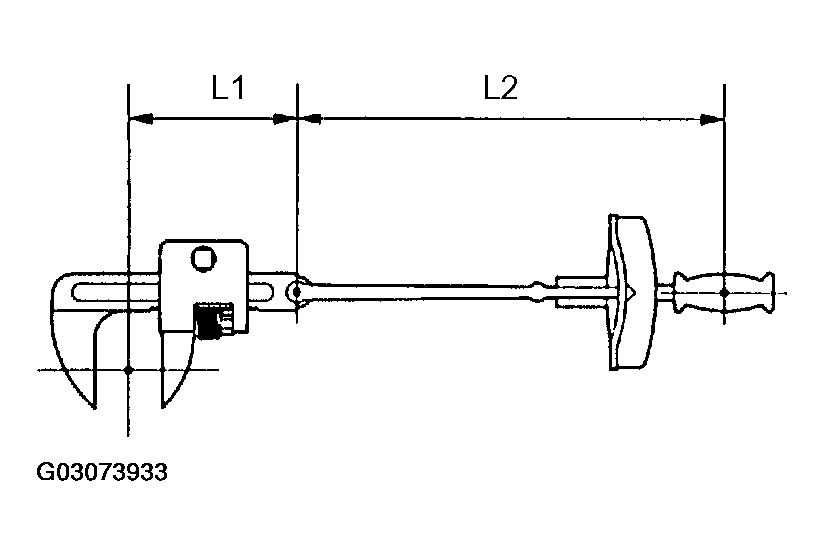
    9. TORQUE WHEN USING TORQUE WRENCH WITH EXTENSION TOOL
      1. Use the formula below to calculate special torque values for situations where SST or an extension tool is combined with the torque wrench.

        Formula: T' = Tx L2/(L1 + L2)

        TORQUE SPECIFICATION

        T' Reading of torque wrench (N.m (kgf.cm, ft.lbf))
        T Torque (N.m (kgf.cm, ft.lbf))
        L1 Length of SST or extension tool (cm (in.))
        L2 Length of torque wrench (cm (in.))
        Fig 10: Identifying Torque Wrench With Extension (1 Of 2)
        G03073932Courtesy of © TOYOTA, LICENSE AGREEMENT TMS1002
        NOTE: If SST or an extension tool is combined with the torque wrench to extend its length, do not tighten the torque wrench to the specified torque values in this information. The actual torque will be excessive.
        Fig 11: Identifying Torque Wrench With Extension (2 Of 2)
        G03073933Courtesy of © TOYOTA, LICENSE AGREEMENT TMS1002
  2. FOR VEHICLES EQUIPPED WITH SRS AIRBAG AND SEAT BELT PRETENSIONER 

    HINT:

    The SCION TC is equipped with a Supplemental Restraint System (SRS) and seat belt pretensioner. Failure to carry out the service operations in the correct sequence could cause the SRS to unexpectedly deploy during servicing and lead to serious injury.

    Furthermore, if a mistake is made when servicing the SRS, it is possible that the SRS may fail to operate properly. Before servicing (including removal or installation of parts, on inspection), be sure to read the following section carefully.

    1. GENERAL NOTICE 
      1. As the malfunction symptoms of the SRS are difficult to confirm, the Diagnostic Trouble Codes (DTCs) become the most important source of information when troubleshooting. When troubleshooting the SRS, always check the DTCs before disconnecting the battery (SeeDTC CHECK/CLEAR ).
      2. Work must be started at least 90 seconds after the ignition switch is turned OFF and after the cable is disconnected from the negative (-) battery terminal.

        (The SRS is equipped with a backup power source. If work is started within 90 seconds after turning the ignition switch OFF and after disconnecting the cable from the negative (-) battery terminal, the SRS may deploy).

        When the cable is disconnected from the negative (-) battery terminal, clock and audio system memory is erased. Before starting work, make a note of the settings of each memory system. When work is finished, reset the clock and audio systems as before.

        CAUTION: Never use a backup power source (battery or other) to avoid erasing system memory. The backup power source may inadvertently power the SRS and cause it to deploy.
      3. In minor collisions where the SRS does not deploy, the horn button assembly, front passenger airbag assembly, curtain shield airbag assembly, front seat airbag assembly, instrument panel lower airbag assembly and seat belt pretensioner should be inspected before further use of the vehicle (SeeON-VEHICLE INSPECTION ).
      4. Never use SRS parts from another vehicle. When replacing parts, use new parts.
      5. Remove the airbag sensor assemblies if impacts are likely to be applied to it during repairs.
      6. Never disassemble or attempt to repair the airbag sensor assemblies, horn button assembly, instrument panel passenger airbag assembly, curtain shield airbag assembly, front seat airbag assembly, instrument panel lower airbag assembly or seat belt pretensioner.
      7. Replace the airbag sensor assemblies, horn button assembly, instrument panel passenger air-bag assembly, curtain shield airbag assembly, front seat airbag assembly, instrument panel lower airbag assembly or seat belt pretensioner if: 1) damage has occurred from being dropped, or 2) cracks, dents or other defects in the case, bracket or connector are present.
      8. Do not directly expose the airbag sensor assemblies, horn button assembly, instrument panel passenger airbag assembly, front seat airbag assembly, curtain shield airbag assembly, instrument panel lower airbag assembly or seat belt pretensioner to hot air or flames.
      9. Use a voltmeter/ohmmeter with high impedance (10 kΩ/V minimum) for troubleshooting electrical circuits.
      10. Information labels are attached to the SRS components. Follow the instructions on the labels.
      11. After work on the SRS is completed, check the SRS warning lamp (SeeDTC CHECK/CLEAR ).
    2. SPIRAL CABLE  (in Combination Switch)
      1. The steering wheel must be fitted correctly to the steering column with the spiral cable at the neutral position, as cable disconnection and other problems may occur. Refer to SPIRAL CABLE SUB-ASSY for information about correct installation of the steering wheel.
      Fig 12: Identifying Spiral Cable Markings
      G03073934Courtesy of © TOYOTA, LICENSE AGREEMENT TMS1002
    3. HORN BUTTON ASSEMBLY  (with Airbag)
      1. When removing the horn button assembly or handling a new horn button assembly, it should be placed with the pad surface facing upward. See Fig 13.

        Placing the horn button assembly with the pad surface facing down may lead to a serious accident if the airbag accidently inflates. Also, do not place anything on top of the horn button assembly.

      2. Never measure the resistance of the airbag squib. This may cause the airbag to inflate, which could cause serious injury.
      3. Grease or detergents of any kind should not be applied to the steering wheel pad.
      4. Store the horn button assembly in an area where the ambient temperature is below 93°C (200°F), humidity is not high and electrical noise is not nearby.
      5. When using an electric welder anywhere on the vehicle, disconnect the airbag ECU connectors (4 pins). These connectors contain shorting springs. This feature reduces the possibility of the airbag or seat belt pretensioner deploying due to currents entering the squib wiring.
      6. When disposing of the entire vehicle or only the horn button assembly, the airbag must be inflated using SST before disposal (SeeDISPOSAL ). Activate it in a safe place away from electrical noise.

        Example: 

        Fig 13: Identifying Correct Handling Horn Button Assembly
        G03073935Courtesy of © TOYOTA, LICENSE AGREEMENT TMS1002
        Fig 14: Precaution For Checking Continuity
        G03073936Courtesy of © TOYOTA, LICENSE AGREEMENT TMS1002
    4. FRONT PASSENGER AIRBAG ASSEMBLY 
      1. Always place a removed or new front passenger airbag assembly with the airbag inflation direction facing upward.

        Placing the airbag assembly with the airbag inflation direction facing down could cause a serious accident if the airbag inflates.

      2. Never measure the resistance of the airbag squib. This may cause the airbag to inflate, which could cause serious injury.
      3. Grease or detergents of any kind should not be applied to the front passenger airbag assembly.
      4. Store the airbag assembly in an area where the ambient temperature is below 93°C (200°F), humidity is not high and electrical noise is not nearby.
      5. When using an electric welder anywhere on the vehicle, disconnect the airbag ECU connectors (4 pins). These connectors contain shorting springs. This feature reduces the possibility of the airbag deploying due to currents entering the squib wiring.
      6. When disposing of the entire vehicle or only the airbag assembly, the airbag must be deployed using SST before disposal (SeeDISPOSAL ). Activate it in a safe place away from electrical noise.

      Example: 

      Fig 15: Identifying Front Panel Passenger Airbag Assembly
      G03073937Courtesy of © TOYOTA, LICENSE AGREEMENT TMS1002
      Fig 16: Precaution For Checking Continuity
      G03073938Courtesy of © TOYOTA, LICENSE AGREEMENT TMS1002
    5. CURTAIN SHIELD AIRBAG ASSEMBLY 
      1. Always place the removed or new curtain shield airbag assembly in a clear plastic bag, and keep it in a safe place.
        NOTE: Do not reuse the plastic bag.
      2. Never measure the resistance of the airbag squib. This may cause the airbag to inflate, which could cause serious injury.
      3. Grease or detergents of any kind should not be applied to the curtain shield airbag assembly.
      4. Store the airbag assembly in an area where the ambient temperature is below 93°C (200°F), humidity is not high and electrical noise is not nearby.
      5. When using an electric welder anywhere on the vehicle, disconnect the airbag ECU connectors (2 pins). These connectors contain shorting springs. This feature reduces the possibility of the airbag deploying due to currents entering the squib wiring.
      6. When disposing of the entire vehicle or only the curtain shield airbag assembly, the airbag must be deployed using SST before disposal (SeeDISPOSAL ). Activate it in a safe place away from electrical noise.

      Example: 

      Fig 17: Identifying Curtain Shield Airbag Assembly
      G03073939Courtesy of © TOYOTA, LICENSE AGREEMENT TMS1002
      Fig 18: Precaution For Checking Continuity
      G03073940Courtesy of © TOYOTA, LICENSE AGREEMENT TMS1002
    6. FRONT SEAT AIRBAG ASSEMBLY 
      1. Always place a removed or new front seat airbag assembly with the airbag inflation direction facing upward.

        Placing the airbag assembly with the airbag inflation direction facing down could cause a serious accident if the airbag deploys.

      2. Never measure the resistance of the airbag squib. This may cause the airbag to inflate, which could cause serious injury.
      3. Grease or detergents of any kind should not be applied to the front seat airbag assembly.
      4. Store the airbag assembly in an area where the ambient temperature is below 93°C (200°F), humidity is not high and electrical noise is not nearby.
      5. When using an electric welder anywhere on the vehicle, disconnect the airbag ECU connectors (2 pins). These connectors contain shorting springs. This feature reduces the possibility of the airbag deploying due to currents entering the squib wiring.
      6. When disposing of the entire vehicle or only the airbag assembly, the airbag must be deployed using SST before disposal (SeeDISPOSAL ). Activate it in a safe place away from electrical noise.

      Example: 

      Fig 19: Precaution For Checking Continuity
      G03073941Courtesy of © TOYOTA, LICENSE AGREEMENT TMS1002
    7. INSTRUMENT PANEL LOWER AIRBAG ASSEMBLY 
      1. Always store a removed or new instrument panel lower airbag assembly with the airbag inflating direction facing upward.

        Placing the airbag assembly with the airbag inflation direction facing down could cause a serious accident if the airbag inflates.

      2. Never measure the resistance of the airbag squib. This may cause the airbag to inflate, which could cause serious injury.
      3. Grease or detergents of any kind should not be applied to the instrument panel lower airbag assembly.
      4. Store the airbag assembly in an area where the ambient temperature is below 93°C (200°F), humidity is not high and electrical noise is not nearby.
      5. When using an electric welder anywhere on the vehicle, disconnect the airbag ECU connectors (2 pins). These connectors contain shorting springs. This feature reduces the possibility of the airbag deploying due to currents entering the squib wiring.
      6. When disposing of the entire vehicle or only the instrument panel lower airbag assembly, the air-bag must be inflated using SST before disposal (SeeDISPOSAL ). Activate it in a safe place away from electrical noise.

      Example: 

      Fig 20: Identifying Instrument Panel Lower Airbag Assembly
      G03073942Courtesy of © TOYOTA, LICENSE AGREEMENT TMS1002
      Fig 21: Precaution For Checking Continuity
      G03073943Courtesy of © TOYOTA, LICENSE AGREEMENT TMS1002
    8. SEAT BELT PRETENSIONER 
      1. Never measure the resistance of the seat belt pretensioner. This may cause the seat belt pretensioner to activate, which could cause serious injury.
      2. Never install the seat belt pretensioner on another vehicle.
      3. Grease, detergents, oil or water should not be applied to the front seat outer belt.
      4. Store the seat belt pretensioner in an area where the ambient temperature is below 80°C (176°F), humidity is not high and electrical noise is not nearby.
      5. When disposing of the entire vehicle or only the seat belt pretensioner, the seat belt pretensioner must be activated before disposal (SeeDISPOSAL ). Activate it in a safe place away from electrical noise.
      6. As the seat belt pretensioner is hot after being activated, allow some time for it to cool down sufficiently before disposal. Never apply water to try to cool down the seat belt pretensioner.

      Example: 

      Fig 22: Precaution For Checking Continuity
      G03073944Courtesy of © TOYOTA, LICENSE AGREEMENT TMS1002
    9. AIRBAG SENSOR ASSEMBLY 
      1. Never reuse an airbag sensor assembly that has been involved in a collision where the SRS has deployed.
      2. The connectors to the airbag sensor assembly should be connected or disconnected with the sensor mounted on the floor. If the connectors are connected or disconnected while the airbag sensor assembly is not mounted on the floor, the SRS may activate.
      3. Work must be started at least 90 seconds after the ignition switch is turned OFF and the cable is disconnected from the negative (-) battery terminal, even if only loosening the set bolts of the airbag sensor assembly.
    10. WIRE HARNESS AND CONNECTOR 
      1. The SRS wire harness is integrated with the instrument panel wire harness assembly. All the connectors in the system are a standard yellow color. If the SRS wire harness becomes disconnected or the connector becomes broken, repair or replace it.
  3. ELECTRONIC CONTROL 
    1. REMOVAL AND INSTALLATION OF CABLE TO NEGATIVE BATTERY TERMINAL
      NOTE: After disconnecting the cable from the negative (-) battery terminal, it is necessary to perform the initialization of certain systems (SeeINITIALIZATION  ).
      1. Before performing electronic work, disconnect cable from the negative (-) battery terminal to prevent component and wire damage caused by accidental short circuits.
      2. When disconnecting the battery cable, turn the ignition switch and headlamp dimmer switch OFF, and loosen the battery cable's nut completely. Perform these operations without twisting or prying the cable. Then disconnect the battery cable.
      3. Clock settings, radio settings, audio system memory, DTCs and other data are erased when the cable is disconnected. Write down any necessary data before disconnecting the cable.
        Fig 23: Removing Cable To Negative Battery Terminal
        G03073945Courtesy of © TOYOTA, LICENSE AGREEMENT TMS1002
    2. HANDLING OF ELECTRONIC PARTS
      1. Do not open the cover or case of the ECU unless absolutely necessary. If the IC terminals are touched, the IC may be rendered inoperative by static electricity.
      2. To disconnect electronic connectors, pull the connector itself, not the wires.
      3. Be careful not to drop electronic components, such as sensors or relays. If they are dropped on a hard surface, they should be replaced.
      4. When cleaning the engine with steam, protect the electronic components, air filter and emission-related components from water.
      5. Never use an impact wrench to remove or install temperature switches or temperature sensors.
      6. When measuring the resistance of a wire connector, insert the tester probe carefully to prevent terminals from bending.
        Fig 24: Identifying Handling Of Electronic Parts
        G03073946Courtesy of © TOYOTA, LICENSE AGREEMENT TMS1002
  4. REMOVAL AND INSTALLATION OF FUEL CONTROL PARTS 
    1. Follow the guidelines below regarding the work area.
      1. Work in a place with good air ventilation that does not have welders, grinders, drills, electric motors, stoves, or any other ignition sources.
      2. Never work in a pit or near a pit as vaporized fuel will collect in these places.
    2. Prepare a fire extinguisher before starting operation.
    3. To prevent static electricity, install a ground wire to the fuel changer, vehicle and fuel tank, and do not spray the surrounding area with water. Be careful when performing work in this area, as the work surface will become slippery. Do not clean up gasoline spills with water, as this may cause the gasoline to spread, and possibly create a fire hazard.
    4. Avoid using electric motors, working lights and other electric equipment that can cause sparks or high temperatures.
    5. Avoid using iron hammers as they may create sparks.
    6. Dispose of fuel-contaminated cloth separately using a fire resistant container.
  5. REMOVAL AND INSTALLATION OF ENGINE INTAKE PARTS 
    1. If any metal particles enter the inlet pass, this may damage the engine.
    2. When removing and installing inlet system parts, cover the openings of the removed parts and engine openings. Use gummed tape or other suitable materials.
    3. When installing inlet system parts, check that no metal particles have entered the engine or the installed part.
      Fig 25: Removing Engine Intake Parts
      G03073947Courtesy of © TOYOTA, LICENSE AGREEMENT TMS1002
  6. HANDLING OF HOSE CLAMPS 
    1. Before removing the hose, check the clamp position so that it can be reinstalled in the same position.
    2. Replace any deformed or dented clamps with new ones.
    3. When reusing a hose, attach the clamp on the clamp track portion of the hose.
    4. For a spring type clamp, you may want to spread the tabs slightly after installation by pushing in the direction of the arrow marks as shown in the illustration.
      Fig 26: Identifying Handling Of Hose Clamps
      G03073948Courtesy of © TOYOTA, LICENSE AGREEMENT TMS1002
  7. FOR VEHICLES EQUIPPED WITH MOBILE COMMUNICATION SYSTEMS 
    1. Install the antenna as far away from the ECU and sensors of the vehicle electronic systems as possible.
    2. Install an antenna feeder at least 20 cm (7.87 in.) away from the ECU and sensors of the vehicle's electronic systems. For details about ECU and sensor locations, refer to "COMPONENTS" of the applicable article.
    3. Keep the antenna and feeder separate from other wirings as much as possible. This will prevent signals from the communication equipment from affecting vehicle equipment and vice-versa.
    4. Check that the antenna and feeder are correctly adjusted.
    5. Do not install any high-powered mobile communication system.
      Fig 27: Identifying Vehicles Equipped With Mobile Communication Systems
      G03073949Courtesy of © TOYOTA, LICENSE AGREEMENT TMS1002
  8. FOR VEHICLES EQUIPPED WITH CATALYTIC CONVERTER 
    CAUTION: If a large amount of unburned gasoline or gasoline vapors flow into the converter, it may overheat and create a fire hazard. To prevent this, observe the following precautions.
    1. Use only unleaded gasoline.
    2. Avoid prolonged idling.
      1. Avoid idling the engine for more than 20 minutes. 
    3. Avoid a spark jump test.
      1. Perform a spark jump test only when absolutely necessary. Perform this test as rapidly as possible.
      2. While testing, never race the engine.
    4. Avoid a prolonged engine compression measurement.
      1. Engine compression measurements must be performed as rapidly as possible.
    5. Do not run the engine when the fuel tank is nearly empty. This may cause the engine to misfire and create extra load on the converter.