LEMON Manuals: Even more car manuals for everyone: 1960-2025
Home >> Scion >> 2005 >> xA Automatic >> Repair and Diagnosis >> Body & Frame >> Windows >> Windshield/WINDOWGLASS/Mirror >> Power Window Control System >> Windshield Glass >> Replacement
April 5, 2026: LEMON Manuals is launched! Read the announcement.

Windshield Glass: Replacement

HINT:

  1. REMOVE ROOF HEADLINING ASSY (See  REPLACEMENT  ) 
    1. Remove the front door opening trim LH and RH.
    2. Remove the front pillar garnish LH and RH.
    3. Remove the LH and RH visors.
    4. Remove the assist grip.
    5. Remove the visor holder LH and RH.
    6. Remove the map lamp lens cover.
    7. Remove the map lamp.
    8. Partially remove the roof head lining.

      HINT: It is not necessary to completely remove the roof headlining. Slightly lower the front section of the roof headlining so that the windshield glass can be removed later in step  7.

  2. REMOVE INNER REAR VIEW MIRROR ASSY (See  REPLACEMENT   ) 
  3. REMOVE COWL TOP VENTILATOR LOUVER (See  REPLACEMENT  ) 
    1. Remove the wiper arm cover LH and RH.
    2. Remove the front wiper arm LH and RH.
    3. Remove the cowl top ventilator louver LH and RH.
  4. REMOVE FRONT FENDER TO COWL SIDE SEAL LH 
    1. Using a heat light, heat up the installation surfaces of the seal.

      Heating temperature: 20 to 30°C (68 to 86°F) 

      NOTE: Do not heat the seal and body excessively.
    2. Remove the seal.
  5. REMOVE FRONT FENDER TO COWL SIDE SEAL RH 

    HINT: Use the same procedures described for the LH side.

    Fig 1: Removing Seal
    G03195624Courtesy of © TOYOTA, LICENSE AGREEMENT TMS1002
  6. REMOVE WINDSHIELD MOLDING OUTSIDE 
    1. Using a knife, cut off the molding as shown in the illustration.
      NOTE: Do not damage the body with the knife.
    2. Remove the remaining molding.

      HINT: Make a partial cut in the molding. Then pull and remove it by hand.

      Fig 2: Removing Remaining Molding
      G03195625Courtesy of © TOYOTA, LICENSE AGREEMENT TMS1002
  7. REMOVE WINDSHIELD GLASS 
    1. From the interior, insert piano wires between the vehicle body and glass, as shown in the illustration.
    2. Tie objects that can serve as handles (for example, wooden blocks) to all wire ends.
      Fig 3: Inserting Piano Wires Between Vehicle Body & Glass
      G03195626Courtesy of © TOYOTA, LICENSE AGREEMENT TMS1002

      HINT: Apply protective tape to the outer surface of the vehicle to prevent its surface from being scratched.

      NOTE:
      • When separating the glass from the vehicle, take care not to damage the vehicle's paint and interior/exterior ornaments.
      • To prevent the instrument panel from being scratched when removing the glass, place a plastic sheet between the piano wire and instrument panel.
      Fig 4: Identifying Tie Objects Serve As Handles To All Wire Ends
      G03195627Courtesy of © TOYOTA, LICENSE AGREEMENT TMS1002
    3. Cut through the adhesive by pulling the piano wires around the glass.
    4. Disengage the stoppers.
    5. Using a suction cup, remove the glass.
      NOTE: Leave as much adhesive on the vehicle body as possible when removing the glass.
  8. INSTALL INSTRUMENT PANEL CUSHION NO.1 
    1. Remove the cushion.
    2. Clean the instrument panel with white gasoline.
    3. Install new cushion to the instrument panel, as shown in the illustration.
      Fig 5: Installing New Cushion To Instrument Panel
      G03195628Courtesy of © TOYOTA, LICENSE AGREEMENT TMS1002
  9. CLEAN WINDSHIELD GLASS 
    1. Using a scraper, remove the damaged stoppers, dams and adhesive sticking to the glass.
    2. Clean the outer edges of the glass with white gasoline.
      NOTE:
      • Do not touch the glass surface after cleaning it.
      • Be careful not to damage the glass.
      • Even if using new glass, clean the glass with white gasoline.
        Fig 6: Removing Damaged Stoppers, Dams & Adhesive Sticking To Glass
        G03195629Courtesy of © TOYOTA, LICENSE AGREEMENT TMS1002
  10. INSTALL WINDSHIELD GLASS STOPPER NO.2 
    1. Apply Primer G to the installation part of the stoppers.
      NOTE:
      • Allow the primer coating to dry for 3 minutes or more.
      • Throw away any leftover Primer G.
      • Do not apply too much primer.
    2. Install 2 new stoppers onto the glass, as shown in the illustration.

      Specification: 

      AREA AND MEASUREMENT SPECIFICATION

      Area Measurement
      A 40.0 mm (1.575 in.)
      B 7.7 mm (0.303 in.)
      Fig 7: Applying Primer G To Installation Part Of Stoppers
      G03195630Courtesy of © TOYOTA, LICENSE AGREEMENT TMS1002
  11. INSTALL WINDSHIELD GLASS STOPPER NO.1 
    1. Install 2 new stoppers to the vehicle body, as shown in the illustration.
      Fig 8: Installing 2 New Stoppers To Vehicle Body
      G03195631Courtesy of © TOYOTA, LICENSE AGREEMENT TMS1002
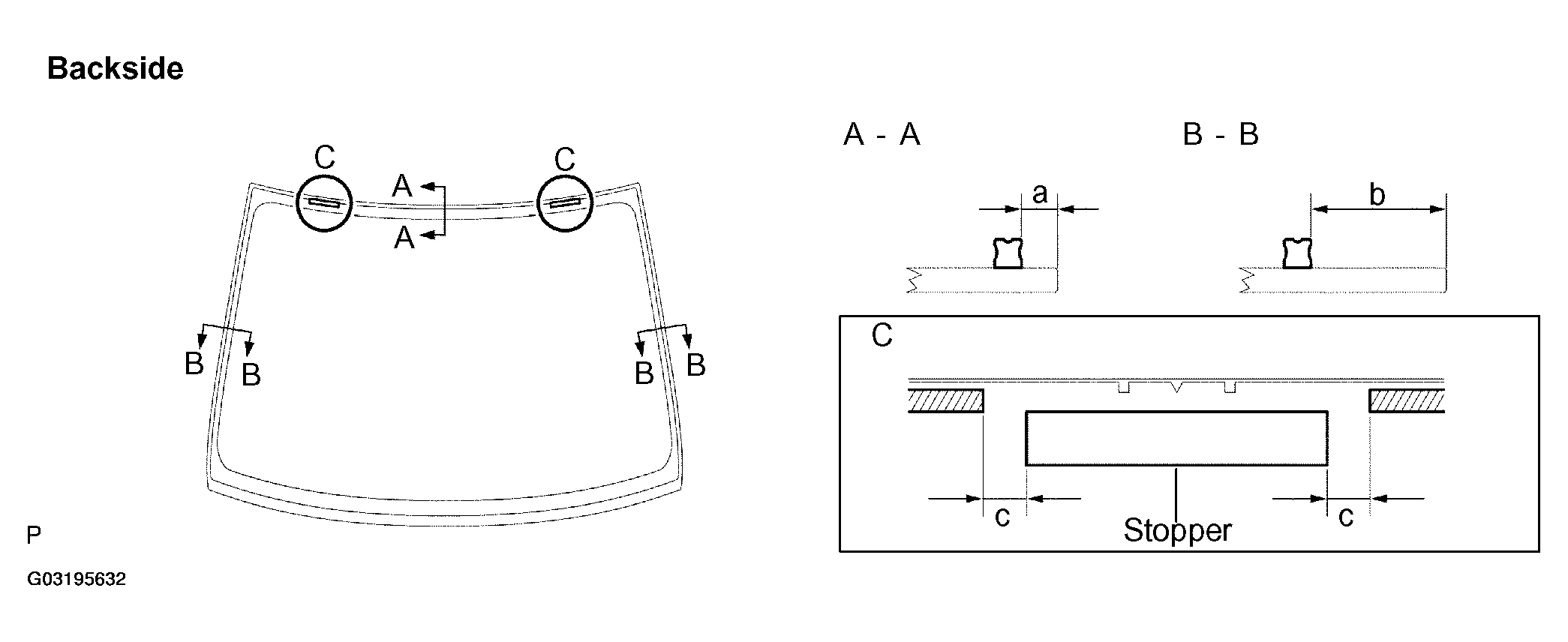
  12. INSTALL WINDOW GLASS ADHESIVE DAM 
    1. Apply Primer G to the installation part of the window glass adhesive dams.
      NOTE:
      • Allow the primer coating to dry for 3 minutes or more.
      • Throw away any leftover Primer G.
      • Do not apply too much primer.
    2. Install a new dam, applying double-sided tape as shown in the illustration.
      Fig 9: Installing New Dam & Applying Double-Sided Tape
      G03195632Courtesy of © TOYOTA, LICENSE AGREEMENT TMS1002

      Specification: 

      AREA AND MEASUREMENT SPECIFICATION

      Area Measurement
      a 7.0 mm (0.276 in.)
      b 22.0 mm (0.866 in.)
      c 10.0 mm (0.3937 in.)
  13. INSTALL WINDSHIELD MOLDING OUTSIDE 
    1. Using a brush or sponge, apply Primer G to the contact surface of the glass.
      NOTE:
      • Allow the primer coating to dry for 3 minutes or more.
      • Do not coat the adhesive with Primer G.
      • Throw away any leftover Primer G.
    2. Install new windshield molding.
  14. INSTALL WINDSHIELD GLASS 
    1. Clean and shape the contact surface of the adhesive on the vehicle body.
      1. Using a knife, cut away any excess or unneeded adhesive on the contact surface.

        HINT: Leave as much adhesive on the vehicle body as possible.

      2. Clean the contact surface of the vehicle body with cleaner.

        HINT: Even if all the adhesive is removed, clean the vehicle body.

        Fig 10: Removing Excess Or Unneeded Adhesive On Contact Surface
        G03195633Courtesy of © TOYOTA, LICENSE AGREEMENT TMS1002
    2. Position the glass.
      1. Using a suction cup, place the glass in the correct position.
      2. Check that the whole contact surface of the glass rim is perfectly even.
      3. Place reference marks between the glass and vehicle body.
        Fig 11: Placing Reference Marks Between Glass & Vehicle Body
        G03195634Courtesy of © TOYOTA, LICENSE AGREEMENT TMS1002
        NOTE: Check that the stoppers are attached to the vehicle body correctly.

        HINT: When reusing the glass, check and correct the reference mark positions.

      4. Remove the glass.
    3. Using a brush, apply Primer M to the exposed part of the vehicle body.
      NOTE:
      • Allow the primer coating to dry for 3 minutes or more.
      • Do not coat the adhesive with Primer M.
      • Throw away any leftover Primer M.
        Fig 12: Applying Primer M To Exposed Part Of Vehicle Body
        G03195635Courtesy of © TOYOTA, LICENSE AGREEMENT TMS1002
    4. Using a brush or sponge, apply primer G to the contact surface of the glass.
      Fig 13: Applying Primer G To Contact Surface Of Glass
      G03195636Courtesy of © TOYOTA, LICENSE AGREEMENT TMS1002

      Specification: 

      AREA AND MEASUREMENT SPECIFICATION

      Area Measurement
      a 7.0 mm (0.276 in.)
      b 7.0 mm (0.276 in.)
      c 26.5 mm (1.043 in.)

      HINT: If Primer G is accidentally applied to another part of the vehicle, wipe off the primer with cleaner before it dries.

      NOTE:
      • Allow the primer coating to dry for 3 minutes or more.
      • Throw away any leftover Primer G.
      • Do not apply too much primer.
    5. Apply adhesive.

      Adhesive: Part No. 08850-00801 or equivalent 

      1. Cut off the tip of the cartridge nozzle, as shown in the illustration on next page.

        HINT: After cutting off the tip, use all adhesive within the time written in the table below.

        Usage Time-frame: 

        TEMPERATURE AND USAGE TIME-FRAME SPECIFICATION

        Temperature Usage Time-frame
        35°C (95°F) 15 minutes
        20°C (68°F) 1 hour 40 minutes
        5°C (41°F) 8 hours
      2. Load the sealer gun with the cartridge.
      3. Apply adhesive to the glass, as shown in the illustration.
        Fig 14: Applying Adhesive To Glass
        G03195637Courtesy of © TOYOTA, LICENSE AGREEMENT TMS1002

        Specification: 

        AREA AND MEASUREMENT SPECIFICATION

        Area Measurement
        a 8.0 mm (0.315 in.)
        b 12.0 mm (0.472 in.)
        c 7.0 mm (0.276 in.)
        d 26.5 mm (1.043 in.)
    6. Install the glass.
      1. Using a suction cup, position the glass so that the reference marks are aligned. Press it in gently along the rim.
        NOTE:
        • Allow the primer coating to dry for 3 minutes or more.
        • Check that the stoppers are attached to the vehicle body correctly.
        • Check the clearance between the vehicle body and glass.
          Fig 15: Installing Glass Using Suction Cup
          G03195638Courtesy of © TOYOTA, LICENSE AGREEMENT TMS1002
      2. Lightly press the front surface of the glass to ensure a close fit.
      3. Using a scraper, remove any excess or protruding adhesive.
        Fig 16: Removing Any Excess Or Protruding Adhesive
        G03195639Courtesy of © TOYOTA, LICENSE AGREEMENT TMS1002

        HINT: Apply adhesive onto the glass rim.

        NOTE: Do not to drive the vehicle within the time written in the table below.

        Minimum time: 

        TEMPERATURE AND MINIMUM TIME PRIOR TO DRIVING VEHICLE SPECIFICATION

        Temperature Minimum time prior to driving vehicle
        35°C (95°F) 1 hour 30 minutes
        20°C (68°F) 5 hours
        5°C (41°F) 24 hours
        Fig 17: Applying Adhesive Onto Glass Rim
        G03195640Courtesy of © TOYOTA, LICENSE AGREEMENT TMS1002
  15. CHECK FOR LEAKS AND REPAIR 
    1. Conduct a leak test after the adhesive has completely hardened.
    2. Seal any leaks with auto glass sealer.