LEMON Manuals: Even more car manuals for everyone: 1960-2025
Home >> Scion >> 2005 >> xB Automatic >> Repair and Diagnosis >> General Information >> Identification >> Introduction >> Identification Information >> Vehicle Identification And Serial Numbers
April 5, 2026: LEMON Manuals is launched! Read the announcement.

Vehicle Identification And Serial Numbers

  1. VEHICLE IDENTIFICATION NUMBER 
    1. The vehicle identification number is stamped on the vehicle identification number plate and certification label, as shown in the illustration.

      A: Vehicle Identification Number Plate 

      B: Certification Label 

      Fig 1: Identifying Vehicle Identification Number Plate Label
      G03097675Courtesy of © TOYOTA, LICENSE AGREEMENT TMS1002
      Fig 2: Identifying Certification Label
      G03097676Courtesy of © TOYOTA, LICENSE AGREEMENT TMS1002
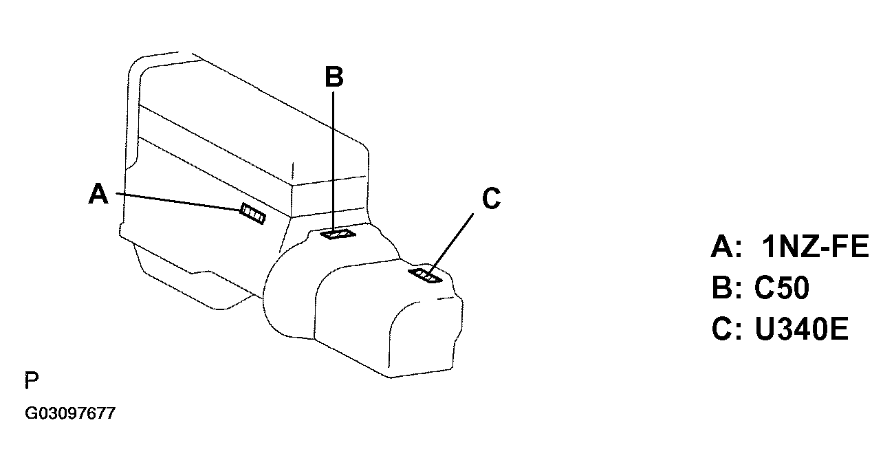
  2. ENGINE SERIAL NUMBER AND TRANSAXLE SERIAL NUMBER 
    1. The engine serial number is stamped on the cylinder block of the engine and the transaxle serial number is stamped on the housing as shown in the illustration.

      A: 1NZ-FE 

      B: C50 

      C: U340E 

      Fig 3: Identifying Engine Serial Number And Transaxle Serial Number
      G03097677Courtesy of © TOYOTA, LICENSE AGREEMENT TMS1002