LEMON Manuals: Even more car manuals for everyone: 1960-2025
Home >> Scion >> 2006 >> xB Automatic >> Repair and Diagnosis >> Engine Performance >> Engine Control Systems >> Engine Control System (1NZ-FE) >> Parts Location >> Terminals Of ECM
April 5, 2026: LEMON Manuals is launched! Read the announcement.

Terminals Of ECM

Fig 1: Identifying Terminals Of ECM
G04225360Courtesy of © TOYOTA, LICENSE AGREEMENT TMS1002

HINT:

The standard normal voltage between each pair of ECM terminals is shown in the table below. The appropriate conditions for checking each pair of terminals is also indicated.

The result of checks should be compared with the standard normal voltage for that pair of terminals, displayed in the Specified Condition column.

The illustration above can be used as a reference to identify the ECM terminal locations.

ECM TERMINAL DESCRIPTION - SPECIFIED CONDITIONS

Symbols (Terminal No.) Wiring Color Terminal Description Condition Specified Condition
BATT (E3-3) - E1 (E5-3) B-Y - BR Battery (for measuring battery voltage and for ECM memory) Always 9 to 14 V
IGSW (E3-9) - E1 (E5-3) B-R - BR Ignition switch Ignition switch ON 9 to 14 V
FC (E3-25) - E1 (E5-3) G - BR Fuel pump control Ignition switch ON 9 to 14 V
FC (E3-25) - E1 (E5-3) G - BR Fuel pump control Idling Below 1.5 V
W (E4-30) - E1 (E5-3) Y-R - BR MIL Idling 9 to 14 V
W (E4-30) - E1 (E5-3) Y-R - BR MIL Ignition switch ON Below 3.5 V
+B (E3-1) - E1 (E5-3) B-R - BR Power source of ECM Ignition switch ON 9 to 14 V
+B2 (E3-2) - E1 (E5-3) B-R - BR Power source of ECM Ignition switch ON 9 to 14 V
MREL (E3-8) - E1 (E5-3) GR - BR EFI relay Ignition switch ON 9 to 14 V
STP (E4-4) - E1 (E5-3) G-W - BR Stop light switch Ignition switch ON, Brake pedal depressed 9 to 14 V
STP (E4-4) - E1 (E5-3) G-W - BR Stop light switch Ignition switch ON, Brake pedal released Below 1.5 V
F/PS (E4-32) - E1 (E5-3) Y - BR Airbag sensor Ignition switch ON Pulse generation (see WAVEFORM 1 )
STA (E3-12) - E1 (E5-3) B-Y - BR Starter signal Cranking 5.5 V or more
PSP (E6-32) - E1 (E5-3) Y - BR Power steering oil pressure sensor Ignition switch ON 9 to 14 V
SPD (E4-8) - E1 (E5-3) V-W - BR Speed signal from combination meter Driving at 20 km/h (12 mph) Pulse generation (see WAVEFORM 2 )
TACH (E4-1) - E1 (E5-3) B - BR Engine speed Idling Pulse generation (see WAVEFORM 3 )
VC (E5-18) - E2 (E5-28) R-W - BR Power source of sensor (specific voltage) Ignition switch ON 4.5 to 5.5 V
PRG (E6-23) - E01 (E5-7) W-G - BR Purge VSV Ignition switch ON and engine stopping 9 to 14 V
PRG (E6-23) - E01 (E5-7) W-G - BR Purge VSV Idling with warm engine Pulse generation (see WAVEFORM 4 )
VG (E6-28) - E2G (E6-30) P - V Mass air flow meter Idling, A/C switch OFF 1.1 to 1.5 V
OX1A (E5-21) - E2 (E5-28) W - BR Heated oxygen sensor (Sensor 1) Engine speed maintained at 2,500 RPM for 2 minutes after warming up sensor Pulse generation (see WAVEFORM 5 )
HT1A (E5-1) - E03 (E6-4) B-R - BR Heated oxygen sensor heater (Sensor 1) Idling Below 3.0 V
HT1A (E5-1) - E03 (E6-4) B-R - BR Heated oxygen sensor heater (Sensor 1) Ignition switch ON 9 to 14 V
OX1B (E5-25) - E2 (E5-28) L - BR Heated oxygen sensor (Sensor 2) Engine speed maintained at 2,500 RPM for 2 minutes after warming up sensor Pulse generation (see WAVEFORM 6 )
HT1B (E5-2) - E03 (E6-4) W - BR Heated oxygen sensor heater (Sensor 2) Idling Below 3.0 V
HT1B (E5-2) - E03 (E6-4) W - BR Heated oxygen sensor heater (Sensor 2) Ignition switch ON 9 to 14 V
THW (E5-32) - E2 (E5-28) R-L - BR Engine coolant temperature sensor Idling, Engine coolant temperature 80°C (176°F) 0.2 to 1.0 V
G2+ (E5-26) - NE- (E5-34) B - W Camshaft position sensor Idling Pulse generation (see WAVEFORM 7 )
NE+ (E5-27) - NE- (E5-34) O - W Crankshaft position sensor Idling Pulse generation (see WAVEFORM 7 )
THA (E6-29) - E2 (E5-28) Y-B - BR Intake air temperature sensor Idling, Intake air temperature 20°C (68°F) 0.5 to 3.4 V
VTA1 (E5-20) - E2 (E5-28) Y-R - BR Throttle position sensor Ignition switch ON, Throttle valve fully closed 0.3 to 1.0 V
VTA1 (E5-20) - E2 (E5-28) Y-R - BR Throttle position sensor Ignition switch ON, Throttle valve fully open 3.2 to 4.9 V
#10 (E6-6) - E01 (E5-7)
#20 (E6-5) - E01 (E5-7)
#30 (E6-2) - E01 (E5-7)
#40 (E6-1) - E01 (E5-7)
B-O - BR
B-Y - BR
B-W - BR
B-L - BR
Injector Ignition switch ON 9 to 14 V
#10 (E6-6) - E01 (E5-7)
#20 (E6-5) - E01 (E5-7)
#30 (E6-2) - E01 (E5-7)
#40 (E6-1) - E01 (E5-7)
B-O - BR
B-Y - BR
B-W - BR
B-L - BR
Injector Idling Pulse generation (see WAVEFORM 8 )
IGT1 (E5-17) - E1 (E5-3)
IGT2 (E5-16) - E1 (E5-3)
IGT3 (E5-15) - E1 (E5-3)
IGT4 (E5-14) - E1 (E5-3)
G-R - BR
G-B - BR
G-O - BR
G-Y - BR
Ignition coil (ignition signal) Idling Pulse generation (see WAVEFORM 9 )
IGF (E5-23) - E1 (E5-3) Y - BR Ignition coil (ignition confirmation signal) Ignition switch ON 4.5 to 5.5 V
IGF (E5-23) - E1 (E5-3) Y - BR Ignition coil (ignition confirmation signal) Idling Pulse generation (see WAVEFORM 9 )
RSD (E5-5) - E01 (E5-7) B-R - BR Idle air control valve Ignition switch ON 9 to 14 V
OC1+ (E5-13) - OC1- (E5-12) R-Y - R-B Camshaft timing oil control valve Ignition switch ON Pulse generation (see WAVEFORM 10 )
KNK1 (E5-29) - EKNK (E5-30) W - B Knock sensor Idling Pulse generation (see WAVEFORM 11 )
TC (E4-17) - E1 (E5-3) P-B - BR Terminal TC of DLC3 Ignition switch ON 9 to 14 V
NSW (E3-30)(1) - E1 (E5-3) B - BR Park/Neutral position switch signal Ignition switch ON and shift lever P or N position Below 1 V
NSW (E3-30)(1) - E1 (E5-3) B - BR Park/Neutral position switch signal Ignition switch ON and shift lever except P or N position 9 to 14 V
VPMP (E3-5) - E1 (E5-3) P - BR Vent valve (built into canister pump module) Ignition switch ON 9 to 14 V
MPMP (E3-6) - E1 (E5-3) V - BR Leak detection pump (built into canister pump module) Leak detection pump OFF 0 to 3 V
MPMP (E3-6) - E1 (E5-3) V - BR Leak detection pump (built into canister pump module) Leak detection pump ON 9 to 14 V
PTMK (E3-31) - E1 (E5-3) R - BR Canister pressure sensor (built into canister pump module) Ignition switch ON 3 to 3.6 V
CANH (E4-33) - E1 (E5-3) B - BR CAN communication line Ignition switch ON Pulse generation (see WAVEFORM 12 )
CANL (E4-34) - E1 (E5-3) W - BR CAN communication line Ignition switch ON Pulse generation (see WAVEFORM 13 )
(1) A/T only
  1. WAVEFORM 1 

    Airbag sensor assembly 

    WAVEFORM 1 REFERENCE - AIRBAG SENSOR ASSEMBLY

    ECM Terminal Names Between F/PS and E1
    Tester Ranges 5 V/DIV., 500 msec./DIV.
    Conditions Idling with warm engine
    Fig 2: Identifying Waveform 1
    G04225361Courtesy of © TOYOTA, LICENSE AGREEMENT TMS1002
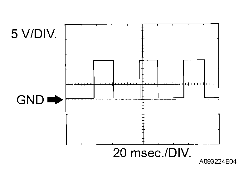
  2. WAVEFORM 2 

    Vehicle speed signal 

    WAVEFORM 2 REFERENCE - VEHICLE SPEED SIGNAL

    ECM Terminal Names Between SPD and E1
    Tester Ranges 5 V/DIV., 20 msec./DIV.
    Conditions Driving at 25 mph (40 km/h)
    Fig 3: Identifying Waveform 2
    G04225362Courtesy of © TOYOTA, LICENSE AGREEMENT TMS1002

    HINT:

    The wavelength becomes shorter as the vehicle speed increases.

  3. WAVEFORM 3 

    Engine speed signal 

    WAVEFORM 3 REFERENCE - ENGINE SPEED SIGNAL

    ECM Terminal Names Between TACH and E1
    Tester Ranges 5 V/DIV., 10 msec./DIV.
    Conditions Idling
    Fig 4: Identifying Waveform 3
    G04225363Courtesy of © TOYOTA, LICENSE AGREEMENT TMS1002

    HINT:

    The wavelength becomes shorter as the engine RPM increases.

  4. WAVEFORM 4 

    Purge VSV 

    WAVEFORM 4 REFERENCE - PURGE VSV

    ECM Terminal Names Between PRG and E01
    Tester Ranges 10 V/DIV., 50 msec./DIV.
    Conditions Idling
    Fig 5: Identifying Waveform 4 Purge VSV
    G04225364Courtesy of © TOYOTA, LICENSE AGREEMENT TMS1002

    HINT:

    If the waveform is not similar to the illustration, check the waveform again after idling for 10 minutes or more.

  5. WAVEFORM 5 

    Heated Oxygen (HO2) sensor (sensor 1) 

    WAVEFORM 5 REFERENCE - HEATED OXYGEN (HO2) SENSOR (SENSOR 1)

    ECM Terminal Names Between OX1A and E2
    Tester Ranges 0.2 V/DIV., 200 msec./DIV.
    Conditions Engine maintained at 2,500 RPM when warmed up
    Fig 6: Identifying Waveform 5 Heated Oxygen (HO2) Sensor
    G04225365Courtesy of © TOYOTA, LICENSE AGREEMENT TMS1002

    HINT:

    In the DATA LIST, item O2S B1S1 shows the ECM input values from the front HO2 sensor (sensor 1).

  6. WAVEFORM 6 

    Heated Oxygen (HO2) sensor (sensor 2) 

    WAVEFORM 6 REFERENCE - HEATED OXYGEN (HO2) SENSOR (SENSOR 2)

    ECM Terminal Names Between OX1B and E2
    Tester Ranges 0.2 V/DIV., 200 msec./DIV.
    Conditions Engine maintained at 2,500 RPM when warmed up
    Fig 7: Identifying Waveform 6 Heated Oxygen (HO2) Sensor
    G04225366Courtesy of © TOYOTA, LICENSE AGREEMENT TMS1002

    HINT:

    In the DATA LIST, item O2S B1S2 shows the ECM input values from the rear HO2 sensor (sensor 2).

  7. WAVEFORM 7 

    Camshaft position sensor and crankshaft position sensor 

    WAVEFORM 7 REFERENCE - CAMSHAFT POSITION SENSOR AND CRANKSHAFT POSITION SENSOR

    ECM Terminal Names
    1. Between G2+ and NE-
    2. Between NE+ and NE-
    Tester Ranges 5 V/DIV., 20 msec./DIV.
    Conditions Idling
    Fig 8: Identifying Waveform 7 Camshaft Position Sensor And Crankshaft Position Sensor
    G04225367Courtesy of © TOYOTA, LICENSE AGREEMENT TMS1002

    HINT:

    The wavelength becomes shorter as the engine RPM increases.

  8. WAVEFORM 8 

    Fuel injector 

    WAVEFORM 8 REFERENCE - FUEL INJECTOR

    ECM Terminal Names Between #10 (to 40) and E01
    Tester Ranges 20 V/DIV., 20 msec./DIV.
    Conditions Idling
    Fig 9: Identifying Waveform 8 Fuel Injector
    G04225368Courtesy of © TOYOTA, LICENSE AGREEMENT TMS1002

    HINT:

    The wavelength becomes shorter as the engine RPM increases.

  9. WAVEFORM 9 

    Igniter IGT signal (from ECM to igniter) and igniter IGF signal (from igniter to ECM) 

    WAVEFORM 9 REFERENCE - IGNITER IGT SIGNAL (FROM ECM TO IGNITER) AND IGNITER IGF SIGNAL (FROM IGNITER TO ECM)

    ECM Terminal Name
    1. Between IGT (1 to 4) and E1
    2. Between IGF and E1
    Tester Ranges 2 V/DIV., 20 msec./DIV.
    Conditions Idling
    Fig 10: Identifying Waveform 9 Igniter IGT Signal
    G04225369Courtesy of © TOYOTA, LICENSE AGREEMENT TMS1002

    HINT:

    The wavelength becomes shorter as the engine RPM increases.

  10. WAVEFORM 10 

    Camshaft timing oil control valve (OCV) 

    WAVEFORM 10 REFERENCE - CAMSHAFT TIMING OIL CONTROL VALVE (OCV)

    ECM Terminal Names Between OC1+ and OC1-
    Tester Ranges 5 V/DIV., 200 msec./DIV.
    Conditions Idling
    Fig 11: Identifying Waveform 10 Camshaft Timing Oil Control Valve
    G04225370Courtesy of © TOYOTA, LICENSE AGREEMENT TMS1002

    HINT:

    The wavelength becomes shorter as the engine RPM increases.

  11. WAVEFORM 11 

    Knock sensor 

    WAVEFORM 11 REFERENCE - KNOCK SENSOR

    ECM Terminal Names Between KNK1 and EKNK
    Tester Ranges 0.01 to 10 V/DIV.,
    0.01 to 10 msec./DIV.
    Conditions Engine maintained at 4,000 RPM when warmed up
    Fig 12: Identifying Waveform 11 Knock Sensor
    G04225371Courtesy of © TOYOTA, LICENSE AGREEMENT TMS1002

    HINT:

    • The wavelength becomes shorter as the engine RPM increases.
    • The waveforms and amplitudes displayed differ slightly depending on the vehicle.
  12. WAVEFORM 12 

    CAN communication signal 

    WAVEFORM 12 REFERENCE - CAN COMMUNICATION SIGNAL

    ECM Terminal Names Between CANH and E1
    Tester Ranges 1 V/DIV., 10 msec./DIV.
    Conditions Engine stopped and ignition switch ON
    Fig 13: Identifying Waveform 12 CAN Communication Signal
    G04225372Courtesy of © TOYOTA, LICENSE AGREEMENT TMS1002

    HINT:

    The waveform varies depending on the CAN communication signal.

  13. WAVEFORM 13 

    CAN communication signal 

    WAVEFORM 13 REFERENCE - CAN COMMUNICATION SIGNAL

    ECM Terminal Names Between CANL and E1
    Tester Ranges 1 V/DIV., 10 msec./DIV.
    Conditions Engine stopped and ignition switch ON
    Fig 14: Identifying Waveform 13 CAN Communication Signal
    G04225373Courtesy of © TOYOTA, LICENSE AGREEMENT TMS1002

    HINT:

    The waveform varies depending on the CAN communication signal.