LEMON Manuals: Even more car manuals for everyone: 1960-2025
Home >> Scion >> 2012 >> tC Automatic Trans >> Repair and Diagnosis >> Body & Frame >> Windows >> Power Window Control System (Diagnostics & Symptom Tests) >> Power Window Control System >> Symptom Tests >> Driver Side Power Window Does Not Operate With Power Window Master Switch >> Procedure
April 5, 2026: LEMON Manuals is launched! Read the announcement.

Driver Side Power Window Does Not Operate With Power Window Master Switch: Procedure

  1. CHECK HARNESS AND CONNECTOR (POWER WINDOW REGULATOR MASTER SWITCH ASSEMBLY - BATTERY AND BODY GROUND) 
    Fig 1: Checking Power Window Regulator Master Switch Assembly - Battery And Body Ground
    GTY314279Courtesy of © TOYOTA, LICENSE AGREEMENT TMS1002
    1. Disconnect the E1 power window regulator master switch assembly connector.
    2. Measure the voltage according to the value(s) in the table below.

      Standard Voltage

      Tester Connection Switch Condition Specified Condition
      E1-15 (B) - Body ground Ignition switch ON 11 to 14 V
    3. Measure the resistance according to the value(s) in the table below.

      Standard Resistance

      Tester Connection Condition Specified Condition
      E1-7 (E) - Body ground Always Below 1 Ω
      TEXT IN ILLUSTRATION

      *a Front view of wire harness connector
      (to Power Window Regulator Master Switch Assembly)

    NG → REPAIR OR REPLACE HARNESS OR CONNECTOR 

    OK: Go to next step 

  2. INSPECT POWER WINDOW REGULATOR MASTER SWITCH ASSEMBLY 
    Fig 2: Inspecting Power Window Regulator Master Switch Assembly
    GTY311408Courtesy of © TOYOTA, LICENSE AGREEMENT TMS1002
    1. Remove the power window regulator master switch assembly. Refer to REMOVAL .
    2. Measure the resistance according to the value(s) in the table below.

      Standard Resistance

      Tester Connection Switch Condition Specified Condition
      10 (U) - 15 (B) UP Below 1 Ω
      7 (E) - 12 (D)
      12 (D) - 15 (B) DOWN
      7 (E) - 10 (U)
      12 (D) - 15 (B) AUTO DOWN
      7 (E) - 10 (U)

    NG → See step   6 

    OK: Go to next step 

  3. CHECK HARNESS AND CONNECTOR (POWER WINDOW REGULATOR MASTER SWITCH ASSEMBLY - POWER WINDOW REGULATOR MOTOR ASSEMBLY LH) 
    1. Disconnect the E1 power window regulator master switch assembly connector.
    2. Disconnect the E2 power window regulator motor assembly LH connector.
    3. Measure the resistance according to the value(s) in the table below.

      Standard Resistance

      Tester Connection Condition Specified Condition
      E1-12 (D) - E2-1 Always Below 1 Ω
      E1-10 (U) - E2-2 Always Below 1 Ω
      E1-12 (D) or E2-1 - Body ground Always 10 kΩ or higher
      E1-10 (U) or E2-2 - Body ground Always 10 kΩ or higher

    NG → REPAIR OR REPLACE HARNESS OR CONNECTOR 

    OK: Go to next step 

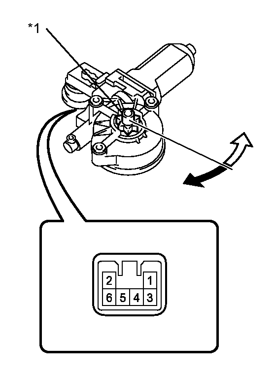
  4. INSPECT POWER WINDOW REGULATOR MOTOR ASSEMBLY LH 
    Fig 3: Inspecting Power Window Regulator Motor Assembly (LH)
    GTY310184Courtesy of © TOYOTA, LICENSE AGREEMENT TMS1002
    1. Remove the power window regulator motor assembly LH. Refer to REMOVAL .
    2. Apply battery voltage to connector terminals 1 and 2.
    3. Check that the window regulator motor moves smoothly as follows.

      OK

      Measurement Condition Specified Condition
      Battery positive (+) → 1
      Battery negative (-) → 2
      Motor gear rotates counterclockwise
      Battery positive (+) → 2
      Battery negative (-) → 1
      Motor gear rotates clockwise
      TEXT IN ILLUSTRATION

      *1 Motor Gear
      Clockwise
      Counterclockwise

    NG → See step   5 

    OK → See step   7 

  5. REPLACE POWER WINDOW REGULATOR MOTOR ASSEMBLY LH. Refer to  REMOVAL 
  6. REPLACE POWER WINDOW REGULATOR MASTER SWITCH ASSEMBLY. Refer to  REMOVAL 
  7. REPLACE POWER WINDOW REGULATOR MASTER SWITCH ASSEMBLY. Refer to  REMOVAL