LEMON Manuals: Even more car manuals for everyone: 1960-2025
Home >> Scion >> 2012 >> tC Automatic Trans >> Repair and Diagnosis >> Engine Performance >> Fuel Delivery >> Fuel System (Inspection) >> Fuel System >> Precaution >> Precaution
April 5, 2026: LEMON Manuals is launched! Read the announcement.

Fuel System: Precaution: Precaution

  1. IGNITION SWITCH EXPRESSION 

    HINT: 

    The type of ignition switch used on this model differs according to the specifications of the vehicle. The expressions listed in the table below are used in this information.

    Expression Ignition Switch (position) Engine Switch (condition)
    Ignition Switch off Off Off
    Ignition Switch ON ON On (IG)
    Ignition Switch ACC ACC On (ACC)
    Engine Start START Start
  2. BEFORE WORKING ON FUEL SYSTEM 
    1. Do not work near an open flame.
    2. Keep gasoline away from rubber and leather parts.
    3. Discharge the fuel pressure before disconnecting the fuel line to prevent gasoline from spilling out. Refer to the following procedure.
  3. DISCHARGE FUEL SYSTEM PRESSURE 
    WARNING:
    • The Discharge Fuel System Pressure procedures must be performed before disconnecting any part of the fuel system.
    • After performing the Discharge Fuel System Pressure procedures, pressure will remain in the fuel line. When disconnecting the fuel line, place a cloth or equivalent over fittings to reduce the risk of fuel spray.
    1. Remove the rear seat cushion. Refer to REMOVAL .
    2. Remove the rear floor service hole cover.
    3. Disconnect the fuel pump and sender gauge connector.
      Fig 1: Identifying Fuel Pump And Sender Gauge Connector
      GTY314392Courtesy of © TOYOTA, LICENSE AGREEMENT TMS1002
    4. Start the engine. After the engine has stopped, turn the ignition switch off.

      HINT: 

      If DTC P0171 (system too lean) is output, clear the DTC. Refer to DTC CHECK / CLEAR .

    5. Check that the engine does not start.
    6. Remove the fuel tank cap and discharge the pressure in the fuel tank completely.
    7. Connect the fuel pump and sender gauge connector.
    8. Install the rear floor service hole cover.
    9. Install the rear seat cushion. Refer to INSTALLATION .
  4. FUEL SYSTEM 
    1. When disconnecting the fuel pressure fuel line, a large amount of gasoline will spill out. Follow these procedures.
      1. Disconnect the fuel pump tube.
      2. Drain any fuel remaining inside the fuel pump tube.
      3. To protect the disconnected fuel pump tube from damage and contamination, cover it with a plastic bag.
      4. Put a container under the connection.
    2. Observe these precautions when disconnecting the fuel tube connector (for quick type A).
      1. Remove the fuel pipe clamp.
        Fig 2: Fuel Pipe Clamp
        GTY313004Courtesy of © TOYOTA, LICENSE AGREEMENT TMS1002
      2. Check for dirt or mud on the pipe and around the connector before disconnection. Clean if necessary.
      3. If the connector and pipe are stuck together, pinch the connector, and then push and pull the pipe to disconnect the pipe and pull it out.
        Fig 3: Pinching Fuel Pipe Connector
        GTY278055Courtesy of © TOYOTA, LICENSE AGREEMENT TMS1002
        TEXT IN ILLUSTRATION

        *1 Retainer
        Pinch
        Pull
        WARNING:
        • Check for foreign matter in the pipe and around the connector. Clean if necessary. Foreign matter may damage the O-ring or cause leaks in the seal between the pipe and connector.
          Fig 4: Identifying Fuel Tube Connector Components
          GTY271521Courtesy of © TOYOTA, LICENSE AGREEMENT TMS1002
        • Do not use any tools to separate the pipe and connector.
        • Do not forcefully bend or twist the nylon tube.
        • Check for foreign matter on the pipe seal surface. Clean if necessary.
        • Put the pipe and connector ends in plastic bags to prevent damage and foreign matter contamination.
        • If the pipe and connector are stuck together, pinch the connector between your fingers and turn it carefully to disconnect it.
        TEXT IN ILLUSTRATION

        *1 Retainer
        *2 Nylon Tube
        *3 Pipe
        *4 O-Ring
        *5 Fuel Tube Connector
      4. Check for dirt or mud on the seal surface of the disconnected pipe. Clean if necessary.
      5. To protect the disconnected pipe and connector from damage and contamination, cover them with a plastic bag.
    3. Observe these precautions when connecting the fuel tube connector (for quick type A)
      1. Check that there is no damage or contamination in the connecting part of the pipe.
      2. Align the axis of the connector with the axis of the pipe. Push the pipe into the connector until the connector makes a "click" sound. If the connection is tight, apply a small amount of fresh engine oil to the tip of the pipe.
        Fig 5: Pushing Connector Onto Pipe
        GTY269690Courtesy of © TOYOTA, LICENSE AGREEMENT TMS1002
        TEXT IN ILLUSTRATION

        Push
      3. After connecting the pipe and the connector, check that the pipe and connector are securely connected by trying to pull them apart.
        Fig 6: Checking For Secure Connection
        GTY269691Courtesy of © TOYOTA, LICENSE AGREEMENT TMS1002
        TEXT IN ILLUSTRATION

        Pull
      4. Install the fuel pipe clamp.
      5. Check for any fuel leaks.
    4. Observe these precautions when disconnecting the fuel tube connector (for quick type B).
      1. Check that there is no damage or foreign matter on the part of the pipe that contacts the connector.
      2. Detach the 2 claws of the connector retainer. Push down on the connector and disconnect it from the pipe.
        Fig 7: Disconnecting Connector From Pipe
        GTY189988Courtesy of © TOYOTA, LICENSE AGREEMENT TMS1002
        TEXT IN ILLUSTRATION

        Push
        Down
        Pull

        HINT: 

        If the connector and pipe are stuck together, pinch the fuel pipe by hand and push and pull the connector to disconnect it.

        Fig 8: Disconnecting Connector
        GTY104528Courtesy of © TOYOTA, LICENSE AGREEMENT TMS1002
        TEXT IN ILLUSTRATION

        Pull
        Push
        WARNING:
        • Check for any dirt and foreign matter contamination in the pipe and around the connector. Clean if necessary. Foreign matter may damage the O-ring or cause leaks in the seal between the pipe and connector.
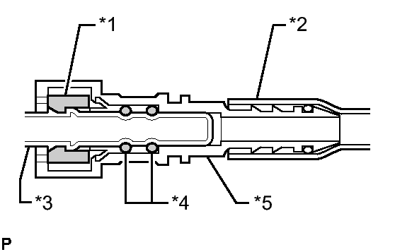
          Fig 9: Identifying Fuel Tube Connector Components
          GTY310982Courtesy of © TOYOTA, LICENSE AGREEMENT TMS1002
        • Do not use any tools to separate the pipe and connector.
        • Do not allow any scratches or foreign matter on the parts when disconnecting them, as the fuel tube joint contains the O-rings that seal the plug.
        • Check for any dirt and foreign matter on the pipe seal surface. Clean if necessary.
        • Do not forcibly bend, twist or turn the nylon tube.
        • Protect the disconnected part by covering it with a plastic bag and tape after disconnecting the main tube.
        • If the pipe and connector are stuck together, pinch the tube between your fingers and turn it carefully to free it. Then disconnect the main tube.
        TEXT IN ILLUSTRATION

        *1 Pipe
        *2 Retainer
        *3 Nylon Tube
        *4 Connector
        *5 O-Ring
      3. Check for foreign matter on the seal surface of the disconnected pipe. Clean it if necessary.
      4. To protect the disconnected pipe and connector from damage and foreign matter, cover them with a plastic bag.
    5. Observe these precautions when connecting the fuel tube connector (for quick type B).
      1. Check for foreign matter on the pipe and around the connector before connecting it. Clean it if necessary.
      2. Align the axis of the connector with the axis of the pipe. Push the pipe into the connector, and then push up on the retainer.
        Fig 10: Pushing Connector Onto Pipe
        GTY263244Courtesy of © TOYOTA, LICENSE AGREEMENT TMS1002
        TEXT IN ILLUSTRATION

        *1 Retainer
        Up
        Push
        WARNING:
        • Before connecting the tube connectors to the pipes, check if there is any damage or foreign matter in the connectors.
        • After connecting the pipe and the connector, check that the pipe and connector are securely connected by trying to pull them apart.
          Fig 11: Checking For Secure Connection
          GTY257980Courtesy of © TOYOTA, LICENSE AGREEMENT TMS1002
        TEXT IN ILLUSTRATION

        Pull
  5. FUEL SUCTION TUBE ASSEMBLY WITH PUMP AND GAUGE 
    1. Do not disconnect the nylon tube shown in the illustration when disassembling the fuel suction tube assembly with pump and gauge. Doing so will cause reassembly of the fuel suction tube assembly with pump and gauge to be impossible as the tube is welded to the plate.
      Fig 12: Fuel Suction Tube Assembly With Pump And Gauge
      GTY312878Courtesy of © TOYOTA, LICENSE AGREEMENT TMS1002