LEMON Manuals: Even more car manuals for everyone: 1960-2025
Home >> Subaru >> 1984 >> Brat Automatic >> Repair and Diagnosis >> Engine Performance >> System >> Feedback Carburetor System >> Testing >> Trouble Code 42
April 5, 2026: LEMON Manuals is launched! Read the announcement.

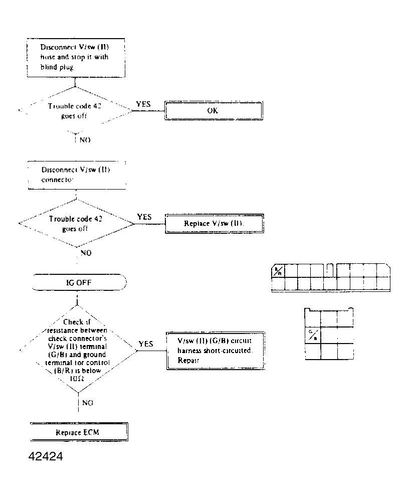
Trouble Code 42

Fig 1: Trouble Code 42
G42424