LEMON Manuals: Even more car manuals for everyone: 1960-2025
Home >> Subaru >> 1984 >> Brat Automatic >> Repair and Diagnosis >> Engine Performance >> System >> Feedback Carburetor System >> Testing >> Trouble Code 65
April 5, 2026: LEMON Manuals is launched! Read the announcement.

Trouble Code 65

Fig 1: Trouble Code 62
G42432


Fig 1: Trouble Code 63
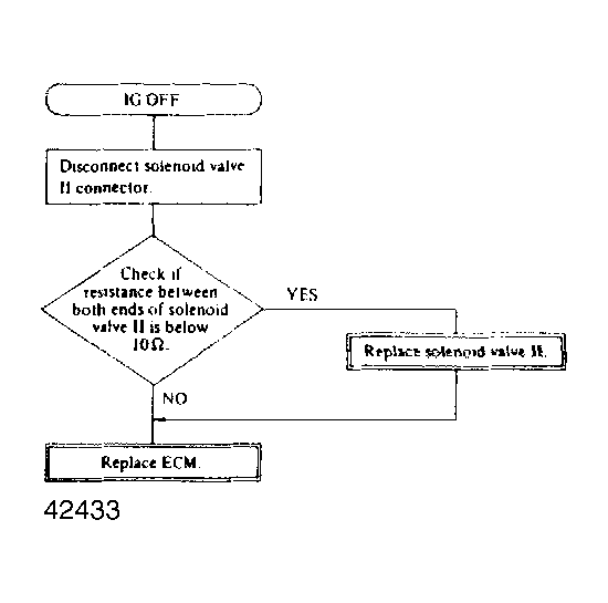
G42433