LEMON Manuals: Even more car manuals for everyone: 1960-2025
Home >> Subaru >> 1985 >> XT GL-10, Automatic >> Repair and Diagnosis >> Engine Performance >> System >> Feedback Carburetor System >> Testing >> Trouble Code 23
April 5, 2026: LEMON Manuals is launched! Read the announcement.

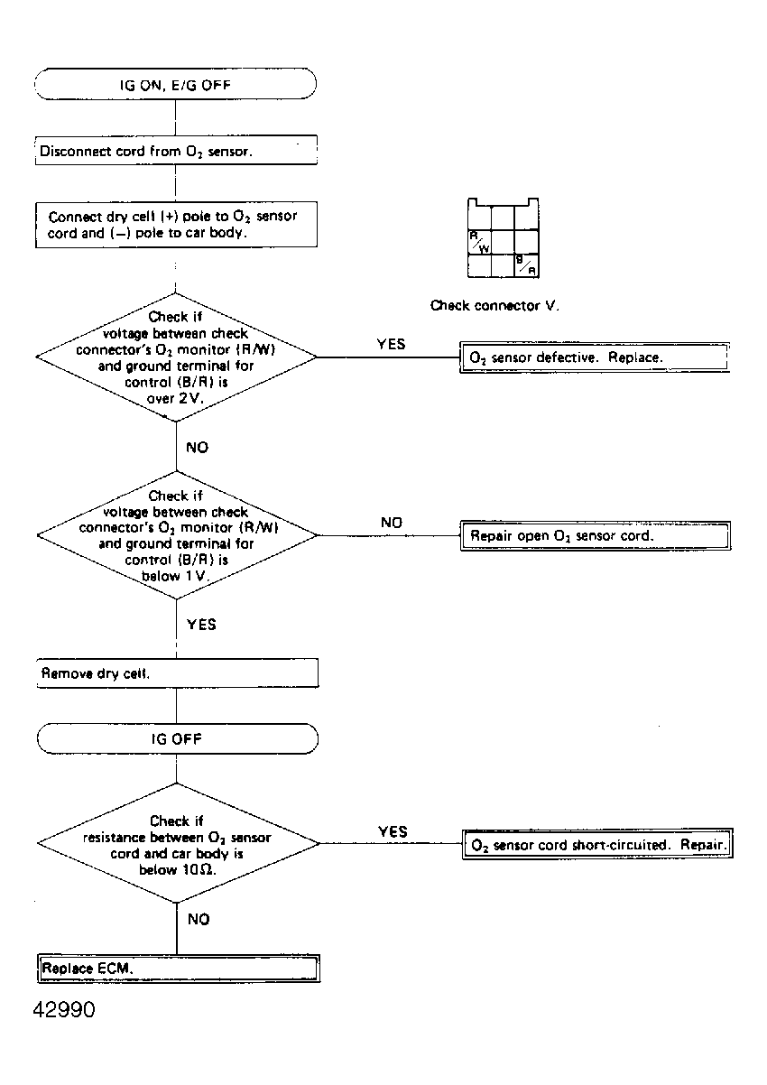
Trouble Code 23

Fig 1: Trouble Code 23
G42990