LEMON Manuals: Even more car manuals for everyone: 1960-2025
Home >> Subaru >> 1987 >> Brat >> Repair and Diagnosis >> Engine Performance >> System >> Ignition Control System >> Component Testing >> High Altitude Kit
April 5, 2026: LEMON Manuals is launched! Read the announcement.

High Altitude Kit

When principally operating vehicle at altitudes above 4000 feet (1200 m), emission control system requires minor modification to meet emission control standards at high altitude.

NOTE: When installing a high altitude kit, refer to manufacturer's instructions supplied with the kit.

When a vehicle modified to high altitude specifications is principally used at altitudes below 4000 feet (1200 m), the emission control system must be remodified to the original specifications.

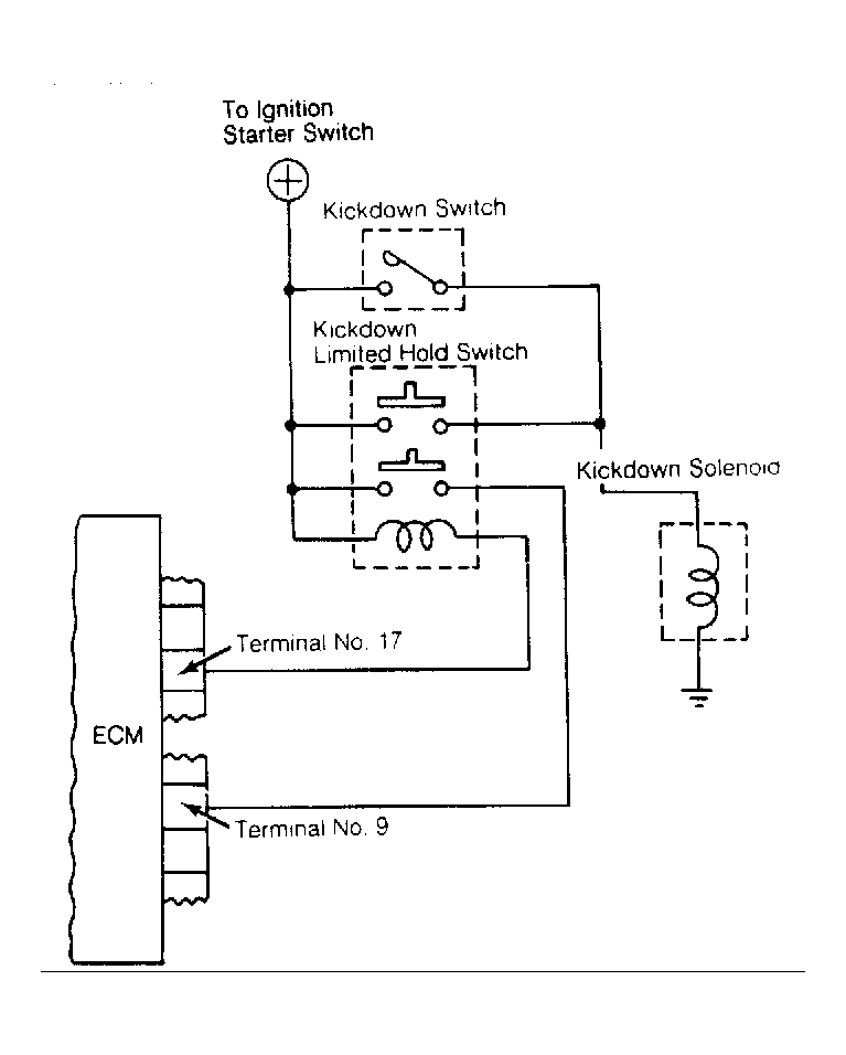
Fig 1: SPFI Ignition Control System
G67264Courtesy of SUBARU OF AMERICA, INC.