LEMON Manuals: Even more car manuals for everyone: 1960-2025
Home >> Subaru >> 1989 >> RX Standard >> Repair and Diagnosis >> Engine Performance >> System >> Tests W/Codes - MPFI >> Code Charts >> Code 15
April 5, 2026: LEMON Manuals is launched! Read the announcement.

Code 15

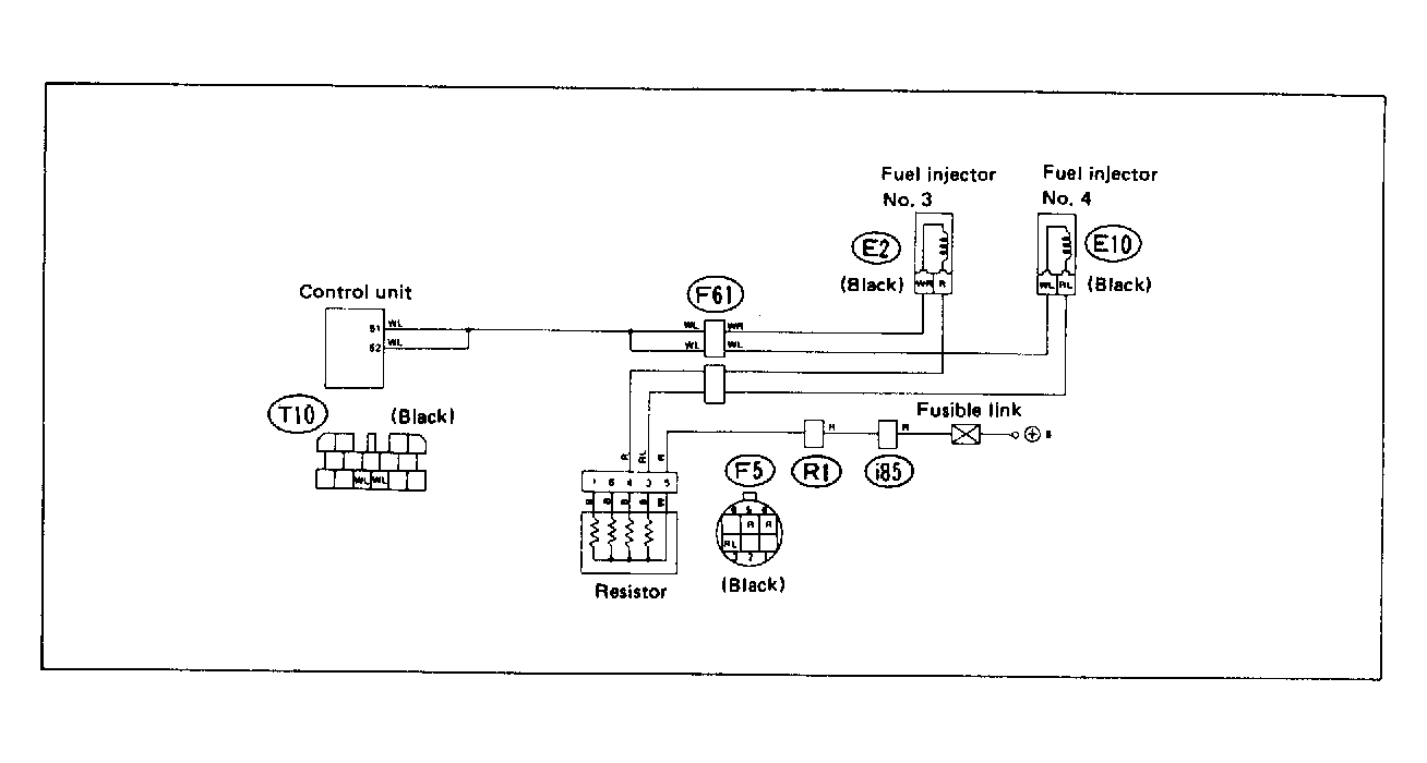
Fig 1: Trouble Code 15: Fuel Injector 1.8L Motor - Wiring Diagram
G118387Courtesy of SUBARU OF AMERICA, INC.
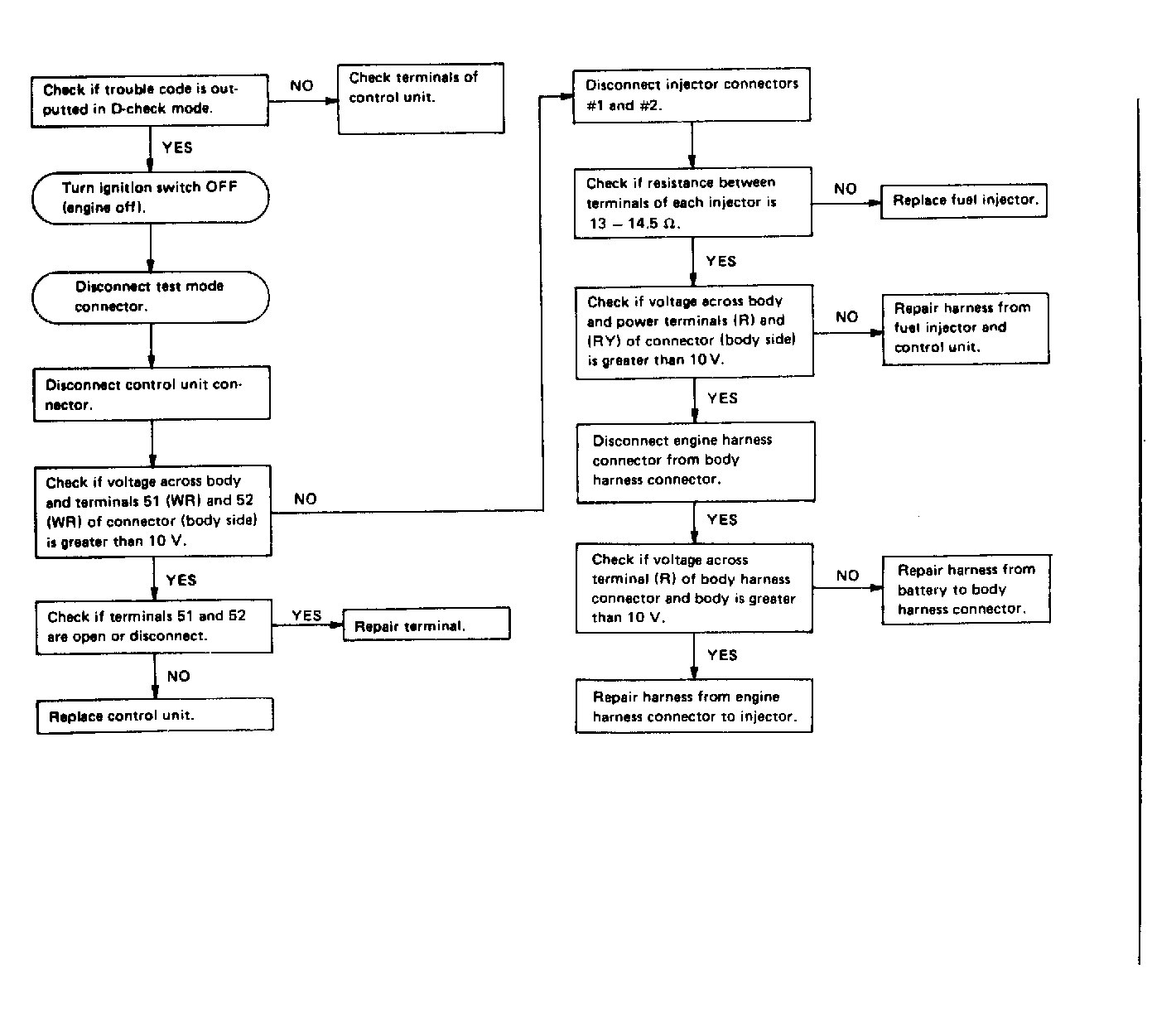
Fig 2: Trouble Code 15: Fuel Injector 1.8L Motor - Flow Chart
G121907Courtesy of SUBARU OF AMERICA, INC.
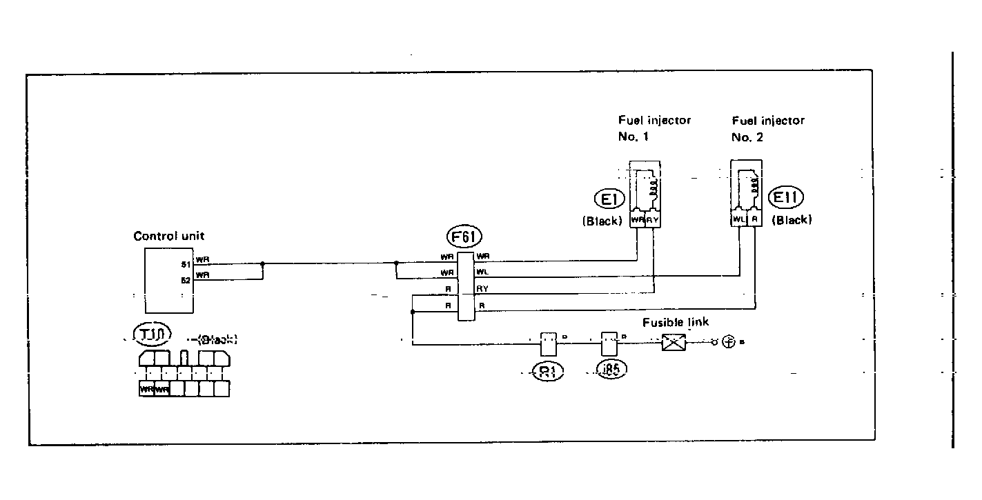
Fig 3: Trouble Code 15: Fuel Injector 2.7L Motor - Wiring Diagram
G118388Courtesy of SUBARU OF AMERICA, INC.
Fig 4: Trouble Code 15: Fuel Injector 2.7L Motor - Flow Chart
G121908Courtesy of SUBARU OF AMERICA, INC.