LEMON Manuals: Even more car manuals for everyone: 1960-2025
Home >> Subaru >> 1991 >> Justy Base >> Repair and Diagnosis >> Engine Performance >> System >> Engine Controls - Tests W/Codes - PFI >> Diagnostic Code Chart >> Code 21: Coolant (Water) Temperature Sensor
April 5, 2026: LEMON Manuals is launched! Read the announcement.

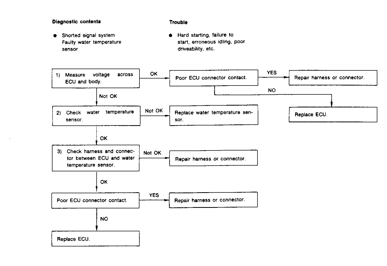
Code 21: Coolant (Water) Temperature Sensor

Fig 1: Schematic - Code 21, Coolant (Water) Temperature Sensor
G91B18334
Fig 2: Flow Chart - Code 21, Coolant (Water) Temperature Sensor
G90D18773