LEMON Manuals: Even more car manuals for everyone: 1960-2025
Home >> Subaru >> 1991 >> Justy Base >> Repair and Diagnosis >> Engine Performance >> System >> Engine Controls - Tests W/Codes - PFI >> Diagnostic Code Chart >> Code 24: ISC Solenoid Valve
April 5, 2026: LEMON Manuals is launched! Read the announcement.

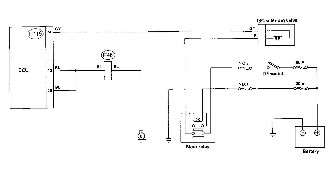
Code 24: ISC Solenoid Valve

Fig 1: Schematic - Code 24, ISC Solenoid Valve
G91D18336
Fig 2: Flow Chart - Code 24, ISC Solenoid Valve
G90F18775