LEMON Manuals: Even more car manuals for everyone: 1960-2025
Home >> Subaru >> 1997 >> Impreza Outback >> Repair and Diagnosis >> Engine Performance >> Engine Controls - Adjustments >> Valve Clearance >> Notes
April 5, 2026: LEMON Manuals is launched! Read the announcement.

Valve Clearance: Notes

  1. Disconnect battery ground. Raise and support vehicle. To inspect and adjust cylinder No. 1 and No. 3, remove right side timing belt cover. Disconnect connector from mass air flow sensor. Remove upper air intake duct and upper air cleaner cover as a unit. Remove air filter. Remove spark plug wires from cylinders No. 1 and No. 3. Remove under cover from right side. Remove valve cover.
  2. To inspect and adjust cylinders No. 2 and No. 4, disconnect washer motor connectors. Disconnect hose and plug connection. Remove washer tank bolts and secure away from work area. Disconnect No. 2 and No. 4 spark plug wires. Remove left side under cover. Disconnect PCV hose from valve cover. Remove valve cover.
  3. Set No. 1 cylinder to TDC of compression stroke. Arrow mark on right side camshaft sprocket should be pointing straight up. See Fig 1 . Using Feeler Gauge, measure No. 1 cylinder valve clearance. Adjust as needed. Tighten locknut to 86-95 INCH lbs. (9-10 N.m). See the VALVE CLEARANCE SPECIFICATION  table.
  4. Set cylinders No. 3, No. 2 & No. 4 to TDC by turning crankshaft pulley clockwise 90 degrees until arrow lines up to appropriate cylinder See Fig 1 . Reinstall parts removed in reverse order.
Fig 1: Camshaft Position Identifying Cylinder Top Dead Center
G97B06762Courtesy of SUBARU OF AMERICA, INC.
VALVE CLEARANCE SPECIFICATION

Application Clearance: In. (mm)
Intake .0001-.0087 (.18-.22)
Exhaust .0090-.0106 (.23-.27)
Fig 2: Identifying Timing Belt Routing & Sprocket Alignment
G96C18517Courtesy of SUBARU OF AMERICA, INC.
Fig 3: Counting Timing Belt Teeth To Establish Alignment Marks
G96D18518Courtesy of SUBARU OF AMERICA, INC.
Fig 4: Preparing Tension Adjuster For Installation
G91I02404Courtesy of SUBARU OF AMERICA, INC.
Fig 5: Camshaft Loosening Sequence (Left Head Shown; Right Head Is Similar)
G96H18520Courtesy of SUBARU OF AMERICA, INC.
Fig 6: Camshaft Notch Orientation For Installation
G96J18522Courtesy of SUBARU OF AMERICA, INC.
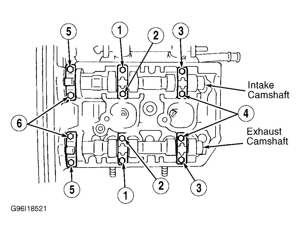
Fig 7: Camshaft Tightening Sequence (Left Head Shown; Right Head Is Similar)
G96I18521Courtesy of SUBARU OF AMERICA, INC.