LEMON Manuals: Even more car manuals for everyone: 1960-2025
Home >> Subaru >> 1999 >> Forester AWD F4-2.5L SOHC >> Repair and Diagnosis >> Powertrain Management >> Computers and Control Systems >> Air Flow Meter/Sensor >> Diagrams >> Exploded Views
April 5, 2026: LEMON Manuals is launched! Read the announcement.

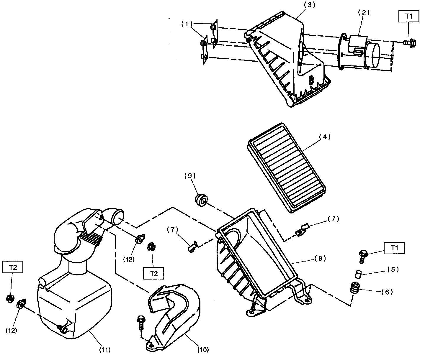
Exploded Views





(1) Mass air flow sensor bracket
(2) Mass air flow sensor ASSY
(3) Air cleaner upper cover
(4) Air cleaner element
(5) Spacer
(6) Bush
(7) Clip
(8) Air cleaner case
(9) Cushion rubber
(10) Air intake duct
(11) Resonator chamber ASSY
(12) Clip

Tightening torque: N.m (kg-m, ft-lb)
T1: 7.4 ± 2.0 (0.75 ± 0.2, 5.4 ± 1.4)
T2: 33 ± 10 (3.4 ± 1.0, 25 ± 7)