LEMON Manuals: Even more car manuals for everyone: 1960-2025
Home >> Subaru >> 1999 >> Forester AWD F4-2.5L SOHC >> Repair and Diagnosis >> Powertrain Management >> Ignition System >> Ignition Control Module >> Description and Operation
April 5, 2026: LEMON Manuals is launched! Read the announcement.

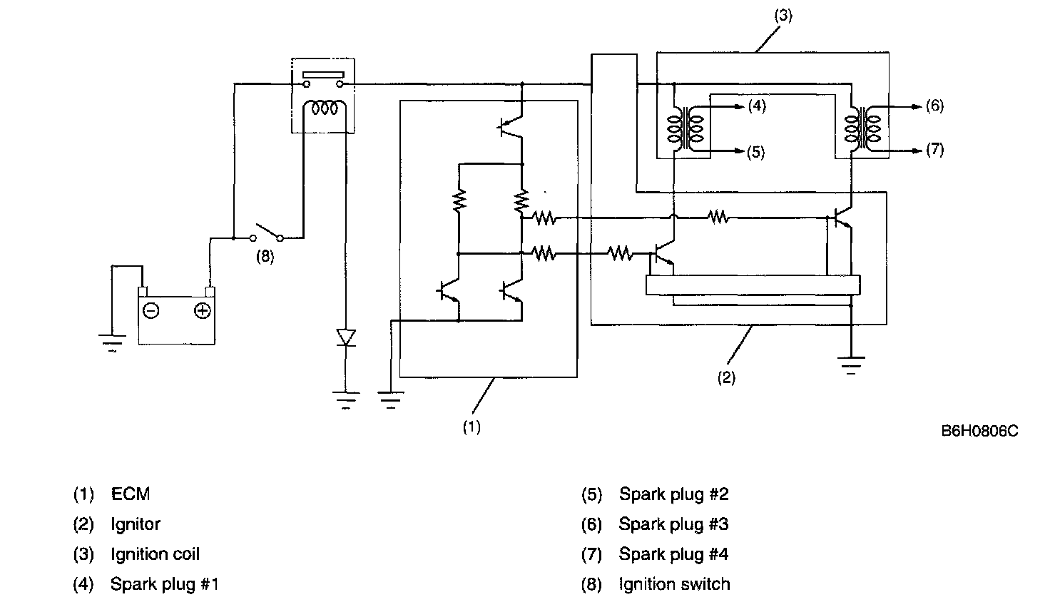
Ignition Control Module: Description and Operation







The ignition coil is of the type that is made integral with an ignitor.
The ignition system is of a 2-cylinder simultaneous ignition design. In response to the signal from the ECM, the ignitor supplies another signal to the ignition coil to ignite a pair of cylinders #1 and #2 or #3 and #4 simultaneously.