LEMON Manuals: Even more car manuals for everyone: 1960-2025
Home >> Subaru >> 2001 >> Forester Base >> Repair and Diagnosis >> Transmission >> Automatic Trans >> Diagnostics >> Throttle Position Sensor >> Adjustment
April 5, 2026: LEMON Manuals is launched! Read the announcement.

Throttle Position Sensor: Adjustment

  1. Turn ignition switch to OFF.
  2. Loosen throttle position sensor holding screws.
    Fig 1: Loosen Throttle Position Sensor Holding Screws
    G02001168
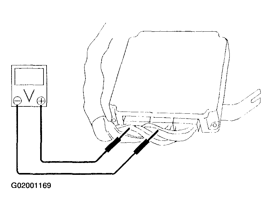
  3. When using voltage meter;
    1. Take out ECM.
    2. Turn ignition switch to ON.
    3. Adjust throttle position sensor to the proper position to allow the voltage signal to ECM to be in specification.

      Connector & terminal / Specified voltage 

      1. (B136) No. 15 - (B136) No. 17/0.45 - 0.55 V 
      2. Fully Closed. 
      Fig 2: Adjusting Voltage Signal To ECM To Specification
      G02001169
    4. Tighten throttle position sensor holding screws.

      Tightening torque: 

      1. 2.2+/-0.2 N.m (0.22+/-0.02 kg-m, 1.6+/-0.1 ft-lb) 
      Fig 3: Tightening Fasteners To Specification
      G02001170
  4. When using Subaru Select Monitor;
    1. Turn ignition switch to OFF.
    2. Loosen throttle position sensor holding screws.
      Fig 4: Loosen Throttle Position Sensor Holding Screws
      G02001171
      NOTE: For detailed operation procedures, refer to the Subaru Select Monitor Operation Manual.
    3. Insert the cartridge to Subaru Select Monitor.
      Fig 5: Inserting Cartridge Into Subaru Select Monitor
      G02001172
    4. Connect Subaru Select Monitor to the data link connector.
  5. Turn ignition switch to ON, and Subaru Select Monitor switch to ON.
  6. Select {2. Each System Check} in Main Menu.
  7. Select {Engine Control System} in Selection Menu.
  8. Select {1. Current Data Display & Save} in Engine Control System Diagnosis.
  9. Select {1.12 Data Display} in Data Display Menu.
  10. Adjust throttle position sensor to the proper position to match with the following specifications.

    Condition: Throttle fully closed. 

    1. Throttle opening angle 0.00%. 
    2. Throttle sensor voltage 0.50 V.