LEMON Manuals: Even more car manuals for everyone: 1960-2025
Home >> Subaru >> 2001 >> Forester L F4-2.5L SOHC >> Repair and Diagnosis >> Relays and Modules >> Relays and Modules - Powertrain Management >> Relays and Modules - Computers and Control Systems >> Engine Control Module >> Description and Operation
April 5, 2026: LEMON Manuals is launched! Read the announcement.

Engine Control Module: Description and Operation

GENERAL
The ECM (Engine Control Module) receives signals sent from various sensors and switches to judge the engine operating condition and emits output signals to provide the optimum control and/or functioning of various systems.

Major items governed by the ECM are as follow:
- Fuel injection control
- Ignition system control
- Idle air control
- Canister purge control*
- Radiator fan control
- Fuel pump control
- Air conditioner cut control
- On-board diagnosis function
*: Canister purge control is described under " Emission Control".

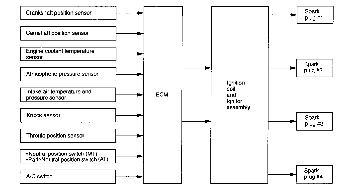
INPUT AND OUTPUT SIGNALS:




INPUT AND OUTPUT SIGNALS

FUEL INJECTION CONTROL

- The ECM receives signals emitted from various sensors to control the amount of fuel injected and the fuel injection timing Sequential fuel injection control is utilized over the entire engine operating range except during engine starts.
- The amount of fuel injected by the injector valve is dependent upon the length of time it remains open. The optimum fuel injection timing is determined by transmitting a signal to the injector from the ECM according to varying engine operations. Feedback control is also accomplished by means of a learning control. As a result, the fuel injection control system is highly responsive and accurate in design and structure.
- The sequential fuel injection system is designed so that fuel is injected at a specific time to provide maximum air intake efficiency for each cylinder. In other words, fuel injection is completed just before the intake valve begins to open.

1. FUEL INJECTION CHARACTERISTICS
Fuel injection timing is basically expressed as indicated below:
- During engine starts:
Duration of fuel injection = Duration of fuel injection during engine starts
- During normal operation:
Basic duration of fuel injection x correction factors + voltage correction time
- Basic duration of fuel injection.....The basic length of time fuel is injected. This is determined by two factors the amount of intake air detected by the mass air flow sensor and the engine speed (rpm) monitored by the crankshaft position sensor.
- Duration of fuel injection during engine starts.....Determined according to the engine coolant temperature detected by a signal emitted from the engine coolant temperature sensor to improve starting ability.
- Voltage correction time.....Compensates for the fuel injector's time lag affected by the battery voltage.

2. CORRECTION FACTORS
Correction factors are used to correct the basic duration of fuel injection so that the airfuel ratio meets the requirements of varying engine operations.

These correction factors are classified as follows:
- Air-fuel ratio coefficient:
Allotted to provide the optimum air-fuel ratio in relation to engine speed and the basic amount of fuel injected.

- Start increment coefficient:
Increases the amount of fuel injected only when cranking the engine, which improves starting ability.
- Engine coolant temperature increment coefficient:
Used to increase the amount of fuel injected in relation to a signal emitted from the engine coolant temperature sensor for easier starting of a cold engine. The lower the engine coolant temperature, the greater the increment rate.

- After-start increment coefficient:
- Increases the amount of fuel injected for a certain period of time immediately after the engine starts to stabilize engine operation.
- The amount of fuel to be compensated for depends on the water temperature during engine starting.

- Full increment coefficient:
Increases the amount of fuel injected by a signal emitted from the throttle position sensor in relation to a signal emitted from the mass air flow sensor.

- Acceleration increment coefficient:
Compensates for time lags of air flow measurement and/or fuel injection during acceleration to provide quick response.




3. AIR-FUEL RATIO FEEDBACK COEFFICIENT
This feedback coefficient utilizes the front oxygen sensor's electromotive force (voltage) as a signal to be entered into the ECM. When low voltage is entered, the ECM judges it as a lean mixture, and when high voltage is entered, it is judged as a rich mixture In other words, when the air-fuel ratio is richer than the stoichiometric mixture ratio, the amount of fuel injected is decreased. When it is leaner, the amount of fuel injected is increased. In this way, the airfuel ratio is compensated so that it comes as close to the stoichiometric mixture ratio as possible on which the three-way catalyst acts most effectively. (CO, HC and NOx are also reduced when the air-fuel ratio is close to stoichiometric mixture ratio.)

4. LEARNING CONTROL SYSTEM
- In a conventional air-fuel feedback control system, the basic amount of fuel injected (according to engine speed and various loads) is stored in the memory. After the ECM receives a signal emitted from the oxygen sensor, the basic amount of fuel injected is corrected so that it is close to the stoichiometric mixture ratio. This means that the greater the air-fuel ratio is corrected, the lesser the control accuracy.
- In SUBARU engines, however, an air-fuel ratio learning control system constantly memorizes the amount of correction required in relation to the basic amount of fuel to be injected (the basic amount of fuel injected is determined after several cycles of fuel injection), so that the correction affected by feedback control is minimized Thus, quick response and accurate control of variations in air-fuel ratio, sensors' and actuators' characteristics during operation, as well as in the air-fuel ratio with the time of engine operation, are achieved. In addition, accurate control contributes much to stability of exhaust gases and driving performance.

IGNITION SYSTEM CONTROL

- The ECM receives signals emitted from the pressure sensor, engine coolant temperature sensor, intake air temperature sensor, crankshaft position sensor, etc., to judge the operating condition of the engine. It then selects the optimum ignition timing stored in the memory and immediately transmits a primary current OFF signal to the ignitor to control the ignition timing.
- This system control type features a quick-to-response learning control method by which data stored in the ECM memory is processed in comparison with information emitted from various sensors and switches.
- Thus, the ECM constantly provides the optimum ignition timing in relation to output, fuel consumption, exhaust gas, etc., according to various engine operating conditions, etc.




- Ignition control under starting conditions
Engine speed fluctuates at the starting condition, so the ECM cannot control the ignition timing. When such a condition exists, ignition timing is fixed at 10° BTDC by using the 10° signal.
- Ignition control under normal engine conditions
Between the 97° signal and the 65° signal, the ECM measures the engine speed, and by using this data it decides the dwell set timing and ignition timing according to the engine condition.




- Ignition control under starting conditions
Engine speed fluctuate at the starting condition, so the ECM cannot control the ignition timing. When such a condition exists, ignition timing is fixed at 10° BTDC by using the 10° signal.




IDLE AIR CONTROL

- The ECM activates the idle air control solenoid valve in advance to control the amount of by-pass air flowing through the throttle valve in relation to signals emitted from the crankshaft position sensor, engine coolant temperature sensor, pressure sensor and A/C switch. etc., so that the proper idle speed specified for each engine load is achieved.
- The idle air control solenoid valve utilizes a duty solenoid design which the opening area of bypass port is changed by the amount of rotary valve moving. For this reason, the by-pass air flow is regulated by controlling the duty ratio. The relationship between the duty ratio, rotary valve moving and by-pass air flow is as follows:
- Duty ratio (high) -> Increases rotary valve moving and by-pass air flow.

- Bypass air control features the following advantages:
- Compensation for engine speed under A/C (air conditioning) system and electrical loads.
- Increase in idle speed during early stage of warm up period.
- A dashpot function during the time the throttle valve is quickly closed.
- Prevention of engine speed variations over time.

CANISTER PURGE CONTROL

- The ECM receives signals emitted from the engine coolant temperature sensor, vehicle speed sensor 2 and crankshaft position sensor to control the purge control solenoid.

Canister purge takes place during operation of the vehicle except under certain conditions (during idle, etc.).

- The purge line is connected to the throttle chamber to purge fuel evaporation gas from the canister according to the amount of intake air.