LEMON Manuals: Even more car manuals for everyone: 1960-2025
Home >> Subaru >> 2001 >> Outback Base, Automatic >> Repair and Diagnosis >> Steering >> Power Steering >> Power Assisted Steering >> Pipe Assembly >> Removal >> Notes
April 5, 2026: LEMON Manuals is launched! Read the announcement.

Pipe Assembly: Removal: Notes

  1. Disconnect battery minus terminal.
  2. Lift vehicle and remove jack-up plate.
    Fig 1: Removing Jack-Up Plate
    G02111126
  3. Remove one pipe joint at the center of gearbox, and connect vinyl hose to pipe and joint. Discharge fluid by turning steering wheel fully clockwise and counterclockwise. Discharge fluid similarly from the other pipe.
    CAUTION: Improper removal and installation of parts often causes fluid leak trouble. To prevent this, clean the surrounding portions before disassembly and reassembly, and pay special attention to keep dirt and other foreign matter from mating surfaces.
    Fig 2: Removing Pipe Joint At Center Of Gearbox & Connecting Vinyl Hose To Pipe & Joint
    G02111127
  4. Remove clamp E from pipes C and D.
    Fig 3: Removing Clamp E From Pipes C & D
    G02111128
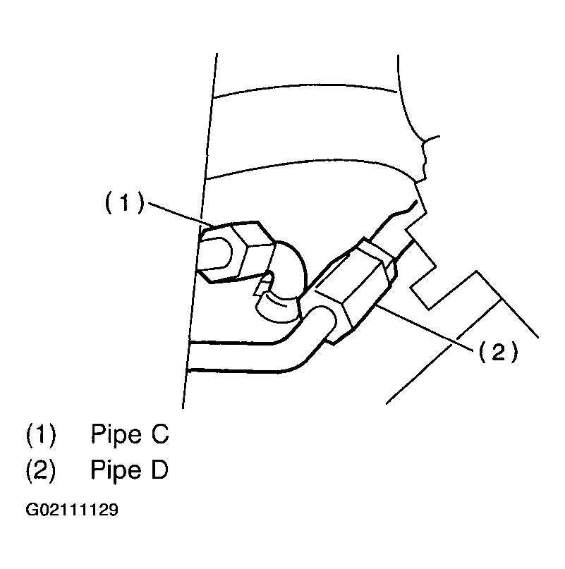
  5. Disconnect pipe C-D from pipe (on the gearbox side).
    CAUTION:
    • When disconnecting pipe CD, use two wrenches to prevent deformities.
    • Be careful to keep pipe connections free from foreign matter.
    Fig 4: Disconnecting Pipes C-D From Pipes (On The Gearbox Side)
    G02111129
  6. Remove bolt A.