LEMON Manuals: Even more car manuals for everyone: 1960-2025
Home >> Subaru >> 2001 >> Outback Base, Standard >> Repair and Diagnosis >> External Pages >> Different car >> Section 226 (A/T Control System & M/T Control System) >> MT Gear Shift Lever >> Assembly >> 6MT
April 5, 2026: LEMON Manuals is launched! Read the announcement.

MT Gear Shift Lever: Assembly: 6MT

WARNING: This page is about a different car, the 2004 Subaru Impreza. However, it is still accessible from the selected car via links, so may be relevant.
NOTE:
  • Clean all parts before assembly.
  • Apply NIGTIGHT LYW No. 2 grease or equivalent to each parts.
  1. Mount the bush and cushion rubber on the stay.
    Fig 1: Mounting Bush & Cushion Rubber On Stay
    G00957449Courtesy of SUBARU OF AMERICA, INC.
  2. Install the bush and spacer to boss.
    Fig 2: Installing Bush & Spacer To Boss
    G00957450Courtesy of SUBARU OF AMERICA, INC.
  3. Install the snap ring to gear shift lever, and then install the bush.
    NOTE: Apply grease to the bush.
    Fig 3: Installing Snap Ring & Bush
    G00957451Courtesy of SUBARU OF AMERICA, INC.
  4. Apply grease to the bush and O-ring, and then install to the gear shift lever.
    Fig 4: Applying Grease To Bush & O-Ring
    G00957452Courtesy of SUBARU OF AMERICA, INC.
  5. Apply sufficient grease into the boss, and then install the gear shift lever to stay.
    Fig 5: Applying Sufficient Grease Into Boss
    G00957453Courtesy of SUBARU OF AMERICA, INC.
  6. Install the washer and snap ring.
    Fig 6: Installing Washer & Snap Ring
    G00957454Courtesy of SUBARU OF AMERICA, INC.
  7. Insert the gear shift lever and rod into boot hole.
  8. Install the rod.

    Tightening torque: 

    11.8 N.m (1.2 kgf-m, 8.7 ft-lb) 

    Fig 7: Installing Rod
    G00957455Courtesy of SUBARU OF AMERICA, INC.
  9. Install the boss to rod.

    Tightening torque: 

    11.8 N.m (1.2 kgf-m, 8.7 ft-lb) 

    Fig 8: Installing Boss To Rod
    G00957456Courtesy of SUBARU OF AMERICA, INC.
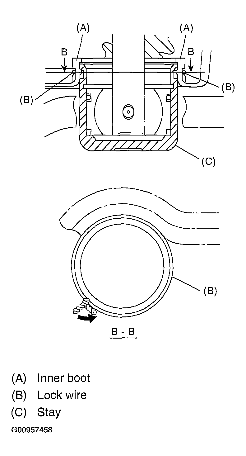
  10. Install a new lock wire.
    Fig 9: Installing Lock Wire
    G00957457Courtesy of SUBARU OF AMERICA, INC.
    NOTE:
    • Install the lock wire to the stay groove.
    • Bend the extra wire to same direction of lock wire winding.
      Fig 10: Identifying Lock Wire, Inner Boot & Stay
      G00957458Courtesy of SUBARU OF AMERICA, INC.
  11. Install the holder.

    Tightening torque: 

    1.3 N.m (0.13 kgf-m, 0.96 ft-lb) 

    Fig 11: Installing Holder
    G00957459Courtesy of SUBARU OF AMERICA, INC.
  12. Insert the reverse check cable into boot hole.
  13. Insert the reverse check cable into gear shift assembly, and fix with band clip.
    NOTE:
    • Cut off the extra band clip.
    • Make sure that the reverse check cable is inserted into gear shift lever assembly without any clearance.
      Fig 12: Identifying Extra Band Clip
      G00957460Courtesy of SUBARU OF AMERICA, INC.
  14. Install the seat cushion and spring.
    Fig 13: Installing Seat Cushion & Spring
    G00957461Courtesy of SUBARU OF AMERICA, INC.
  15. Adjust the length between end of cable plate and reverse check cable to 84 mm (3.31 in), and then tighten the lock nut.

    Tightening torque: 

    6 N.m (0.6 kgf-m, 4.4 ft-lb) 

    Fig 14: Adjusting Length Between End Of Cable Plate & Reverse Check Cable
    G00957462Courtesy of SUBARU OF AMERICA, INC.
  16. Fix the slider and reverse check cable end with spring pin.
    NOTE: Apply grease to the sliding part of slider.
    Fig 15: Fixing Slider & Reverse Check Cable End With Spring Pin
    G00957463Courtesy of SUBARU OF AMERICA, INC.
  17. Fix the reverse check cable to clip of stay.
    NOTE: Install the reverse check cable to upper side of stay.
    Fig 16: Installing Reverse Check Cable To Upper Side Of Stay
    G00957464Courtesy of SUBARU OF AMERICA, INC.