LEMON Manuals: Even more car manuals for everyone: 1960-2025
Home >> Subaru >> 2002 >> Forester Base >> Repair and Diagnosis >> Electrical >> Gauges >> Instruments/Driver Info - Mechanism & Function >> Combination Meter >> Vehicle Speed Sensor >> Construction
April 5, 2026: LEMON Manuals is launched! Read the announcement.

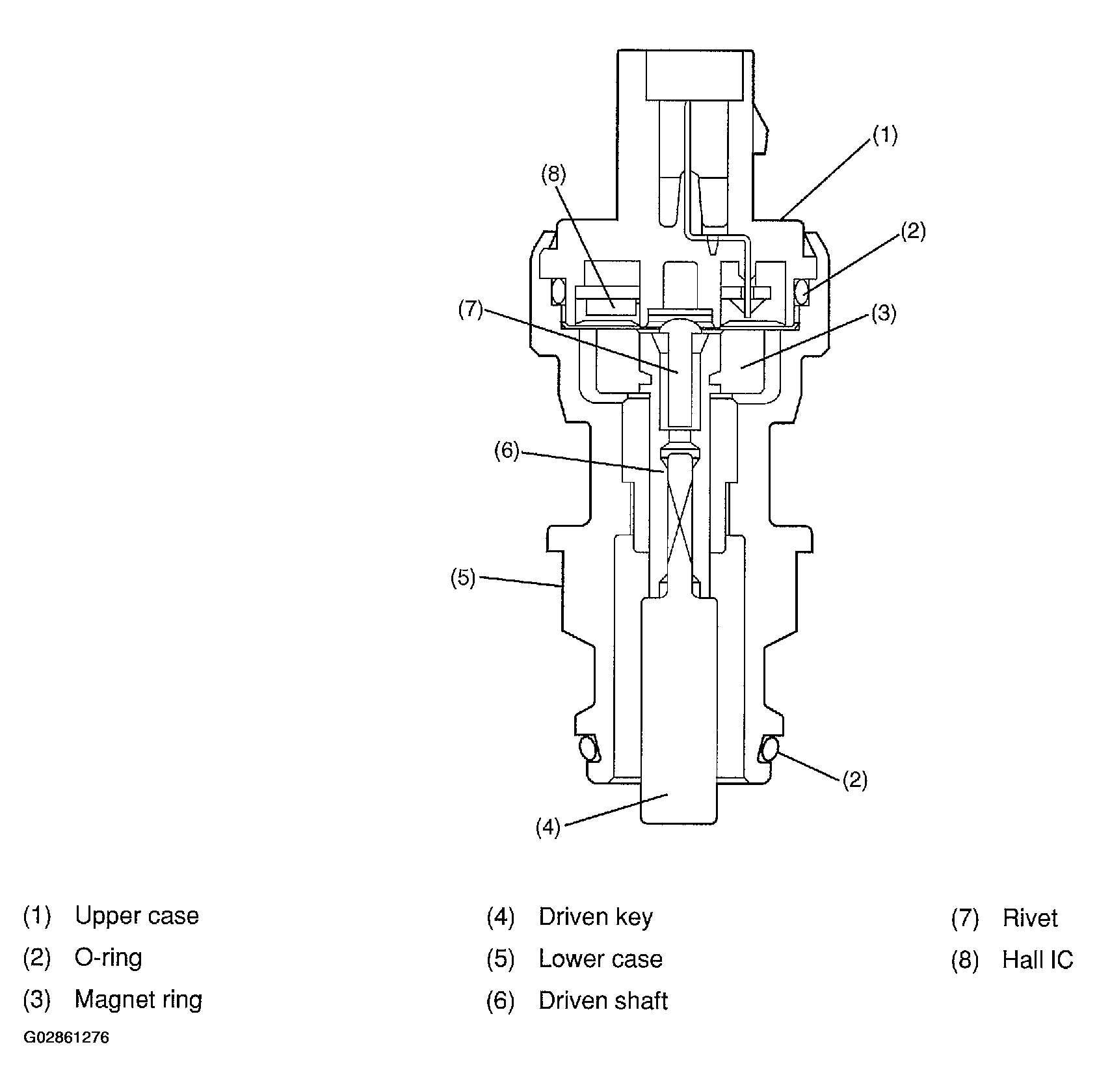
Vehicle Speed Sensor: Construction

The speed sensor mainly consists of a Hall IC, magnet ring, driven shaft and spring.

Fig 1: Identifying Vehicle Speed Sensor Construction
G02861276Courtesy of SUBARU OF AMERICA, INC.