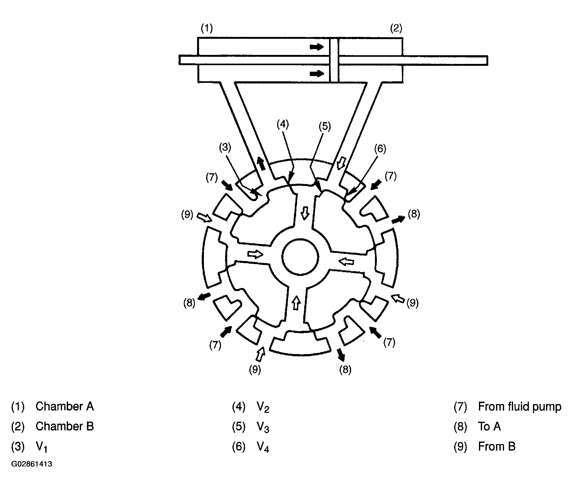
Principle Of Operation
When the torsion bar is twisted by a rotational force applied to the steering wheel, the relative position between the rotor and sleeve changes. This changes the cross-sectional area of fluid passages V-1 , V2 , V3 and V4 . The fluid passages are thus switched and the fluid pressure is controlled in accordance with the operation of the steering wheel.
- When no steering force is applied:
The rotor and sleeve are held at the neutral position. Fluid passages V-1 , V2 , V3 and V4 , which are formed by grooves C and D are open equally. Under this condition, the fluid from the pump returns to the reservoir tank so that neither fluid pressure builds up nor the rack piston moves in the power cylinder.
- When steering force is applied:
When the steering wheel is turned to the right, for example, fluid passages V-1 and V3 are opened while fluid passages V2 and V4 are nearly closed.
At this point, the fluid pressure in chamber A of the power cylinder increases depending on the degree of closure of fluid passages V2 and V4 so that the rack piston moves to the right. The fluid in chamber B, on the other hand, is drained through fluid passage V3 into the reservoir tank.
- Fail-safe feature:
If fluid pressure fails to build up due to, for example, a broken fluid pump drive belt, the steering wheel rotation torque is transmitted from the valve rotor to the pinion through mechanical engagement between them.