LEMON Manuals: Even more car manuals for everyone: 1960-2025
Home >> Subaru >> 2002 >> Forester Base >> Repair and Diagnosis >> Steering >> Power Steering >> Power Assisted System >> General Description >> Specifications
April 5, 2026: LEMON Manuals is launched! Read the announcement.

Power Assisted System: General Description: Specifications

Fig 1: Specifications Chart (1 Of 2)
G02863044Courtesy of SUBARU OF AMERICA, INC.
Fig 2: Specifications Chart (2 Of 2)
G02863046Courtesy of SUBARU OF AMERICA, INC.
Fig 3: Recommended Power Steering Fluid Chart
G02863045Courtesy of SUBARU OF AMERICA, INC.
CAUTION: This table lists various clearances that must be correctly adjusted to ensure normal vehicle driving without interfering noise, or any other faults. 
Fig 4: Identifying Power Assisted System (Power Steering - 1 Of 2)
G02863047Courtesy of SUBARU OF AMERICA, INC.
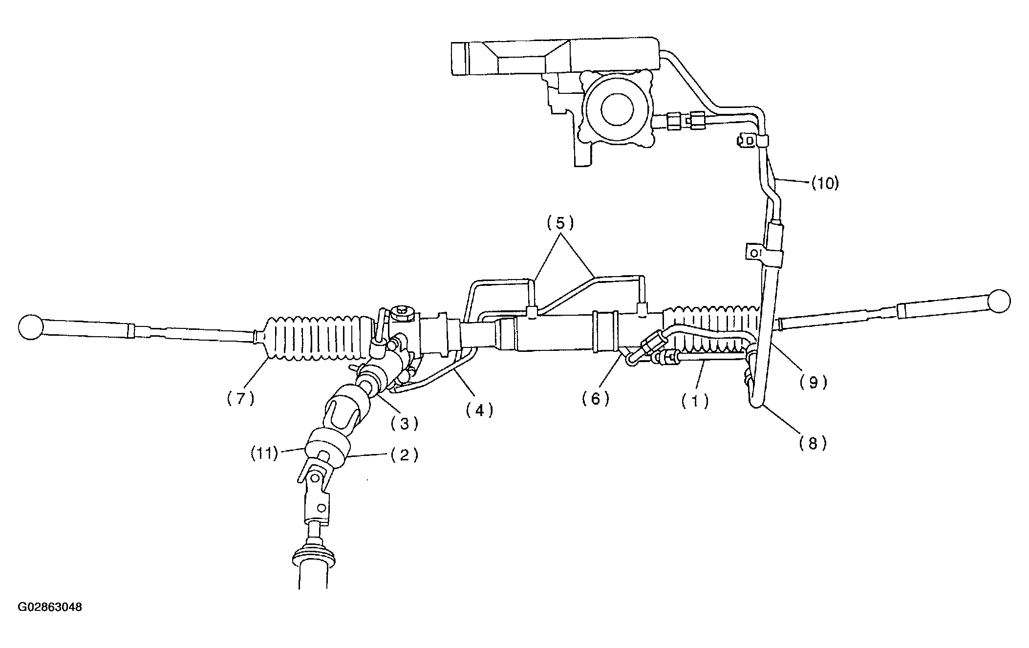
Fig 5: Identifying Power Assisted System (Power Steering - 2 Of 2)
G02863048Courtesy of SUBARU OF AMERICA, INC.