LEMON Manuals: Even more car manuals for everyone: 1960-2025
Home >> Subaru >> 2002 >> Forester L F4-2.5L SOHC >> Repair and Diagnosis >> Specifications >> Mechanical Specifications >> Engine >> System Specifications >> Torque Specifications
April 5, 2026: LEMON Manuals is launched! Read the announcement.

Torque Specifications



INSTALLATION
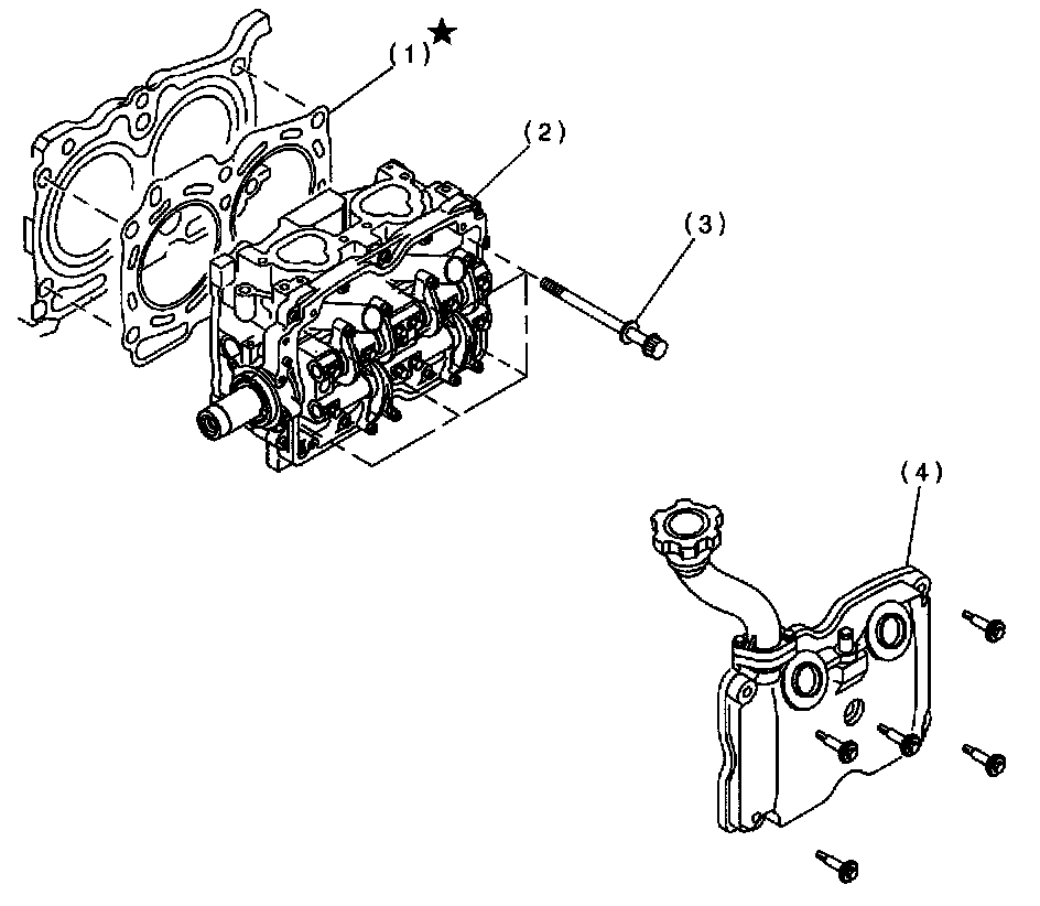
1. CYLINDER HEAD






(1) Cylinder head gasket
(2) Cylinder head
(3) Cylinder head bolt
(4) Rocker cover
2. Install cylinder head and gaskets on cylinder block.

CAUTION: Use new cylinder head gaskets.

3. Tighten cylinder head bolts.
(1) Apply a coat of engine oil to washers and bolt threads.
(2) Tighten all bolts to 29 N.m (3.0 kg-m, 22 ft-lb) in alphabetical sequence.
Then tighten all bolts to 69 N.m (7.0 kg-m, 51 ft-lb) in alphabetical sequence.
(3) Back off all bolts by 180° first; back them off by 180° again.
(4) Tighten bolts (a) and (b) to 34 N.m (3.5 kg-m, 25 ft-lb).
(5) Tighten bolts (c), (d), (e) and (f) to 15 N.m (1.5 kg-m, 11 ft-lb).
(6) Tighten all bolts by 80 to 90° in alphabetical sequence.

CAUTION: Do not tighten bolts more than 90°.

(7) Further tighten all bolts by 80 to 90° in alphabetical sequence.

CAUTION: Ensure that the total "re-tightening angle" [in the former two steps], do not exceed 180°.







3. Install oil level gauge guide and tighten attaching bolt (left side only).
4. Install timing belt, camshaft sprocket and related parts.