LEMON Manuals: Even more car manuals for everyone: 1960-2025
Home >> Subaru >> 2002 >> Forester L, Automatic >> Repair and Diagnosis >> Transmission >> Automatic Trans >> A/T Control Systems >> AT Shift Lock Control Module >> Removal
April 5, 2026: LEMON Manuals is launched! Read the announcement.

AT Shift Lock Control Module: Removal

  1. Disconnect battery ground cable.
    Fig 1: Disconnecting Battery Ground Cable
    G02862785Courtesy of SUBARU OF AMERICA, INC.
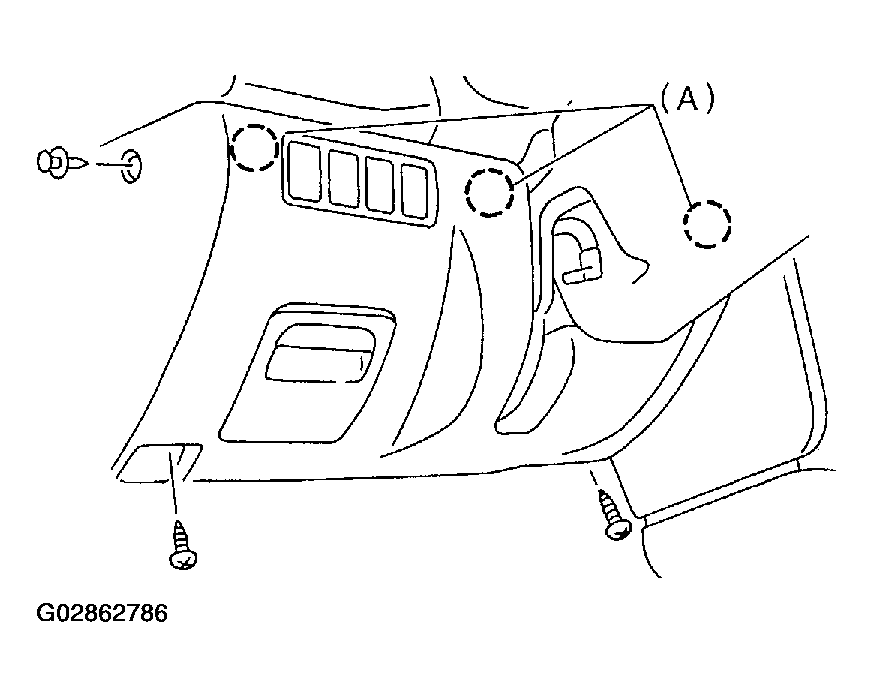
  2. Remove the lower cover and then disconnect connector.
    Fig 2: Removing Lower Cover And Disconnecting Connector
    G02862786Courtesy of SUBARU OF AMERICA, INC.
  3. Disconnect connector from AT shift lock control module.
    Fig 3: Disconnecting Connector From AT Shift Lock Control Module
    G02862787Courtesy of SUBARU OF AMERICA, INC.
  4. Remove the AT shift lock control module.