LEMON Manuals: Even more car manuals for everyone: 1960-2025
Home >> Subaru >> 2002 >> Outback Base, 4D Sedan >> Repair and Diagnosis >> Steering >> Power Assisted System (Power Steering) >> Pipe Assembly >> Installation
April 5, 2026: LEMON Manuals is launched! Read the announcement.

Pipe Assembly: Installation

  1. Tighten bolt A.
    CAUTION: Visually check that hose between tank and pipe D is free from bending or twisting. 
    Fig 1: Tightening Bolt A (2.5 Model)
    G02964723Courtesy of SUBARU OF AMERICA, INC.
    Fig 2: Tightening Bolt A (3.0 L Model)
    G02964724Courtesy of SUBARU OF AMERICA, INC.
    1. Connect pipe D or return hose to oil tank.
    2. Connect pipe C or pressure hose to oil pump.
      CAUTION: Use a new gasket. 
      1. Tightening torque:  39 N.m (4.0 kgf-m, 28.9 ft-lb)
    3. Tighten bolt A.
      1. Tightening torque:  13 N.m (1.3 kgf-m, 9.4 ft-lb)
  2. Temporarily connect pipes C and D to pipes (on the gearbox side).
    Fig 3: Temporarily Connecting Pipes C & D To Pipes
    G02964725Courtesy of SUBARU OF AMERICA, INC.
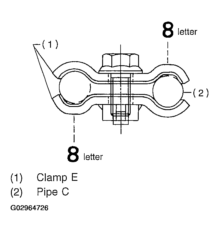
  3. Temporarily install clamp E on pipes C and D.
    CAUTION: Ensure that the letter "8" on each clamp are diagonally opposite each other as shown in figure. 
    Fig 4: Temporarily Installing Clamp E On Pipes C & D
    G02964726Courtesy of SUBARU OF AMERICA, INC.
  4. Tighten clamp E firmly.
    1. Tightening torque:  7.4 N.m (0.75 kgf-m, 5.4 ft-lb)
  5. Tighten joint nut.
    1. Tightening torque:  15 N.m (1.5 kgf-m, 10.8 ft-lb)
  6. Connect pipes A and B to four pipe joints of gearbox. Connect upper pipe B first, and lower pipe A second.
    1. Tightening torque:  13 N.m (1.3 kgf-m, 9.4 ft-lb)
      Fig 5: Tightening Joint Nut
      G02964727Courtesy of SUBARU OF AMERICA, INC.
  7. Install jack-up plate.
  8. Connect battery ground cable.
  9. Feed the specified fluid.
    NOTE: Never start the engine before feeding the fluid; otherwise vane pump might be seized up.
    Fig 6: Feeding Specified Fluid
    G02964728Courtesy of SUBARU OF AMERICA, INC.
  10. Finally check clearance between pipes and/or hoses, as shown above.

    If clearance between cruise control pump and power steering hose is less than 10 mm (0.39 in), proceed as follows:

    1. Move clamped section (A) (refer to Fig 6 ) down to a point where pipe is close to crossmember.

      Pipe-to-crossmember clearance:  10 mm (0.39 in), min.

    2. Check that clearance between cruise control pump and power steering hose is at least 10 mm (0.39 in). If it is not, bend section (B) down until a clearance of at least 10 mm (0.39 in) is obtained.