LEMON Manuals: Even more car manuals for everyone: 1960-2025
Home >> Subaru >> 2003 >> Baja Automatic >> Repair and Diagnosis >> Engine Mechanical >> Mechanical >> Control System - Mechanism & Function >> Shift Lock And Key Interlock System >> Shift Lock System Operation >> Vehicles With Sports Shift
April 5, 2026: LEMON Manuals is launched! Read the announcement.

Vehicles With Sports Shift

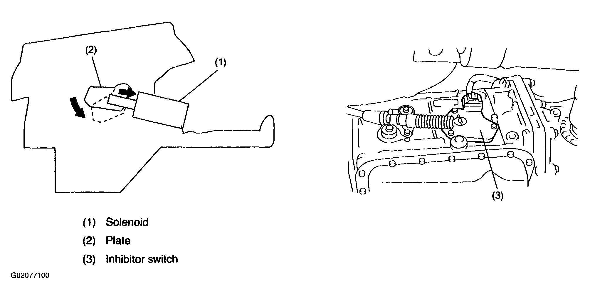
The shift lock system has a solenoid-operated plunger (1). With the select lever in the "P" position, the plunger remains extended, holding the plate (2) in its raised (locking) position. When the brake pedal is depressed with the ignition switch in either the ON or START position, the solenoid is energized and the plunger is retracted. This causes the plate to tilt downward to the select lever release position. The select lever now can be moved to any other position. The "P" position of the select lever is detected by the inhibitor switch (3).

Fig 1: Identifying Shift Lock System (Vehicles With Sports Shift)
G02077100Courtesy of SUBARU OF AMERICA, INC.