LEMON Manuals: Even more car manuals for everyone: 1960-2025
Home >> Subaru >> 2003 >> Forester X, Automatic >> Repair and Diagnosis >> Transmission >> Automatic Trans >> Automatic Transmission - Mechanism & Function >> Transmission Control Module (TCM) >> AWD Transfer Clutch Control >> Notes
April 5, 2026: LEMON Manuals is launched! Read the announcement.

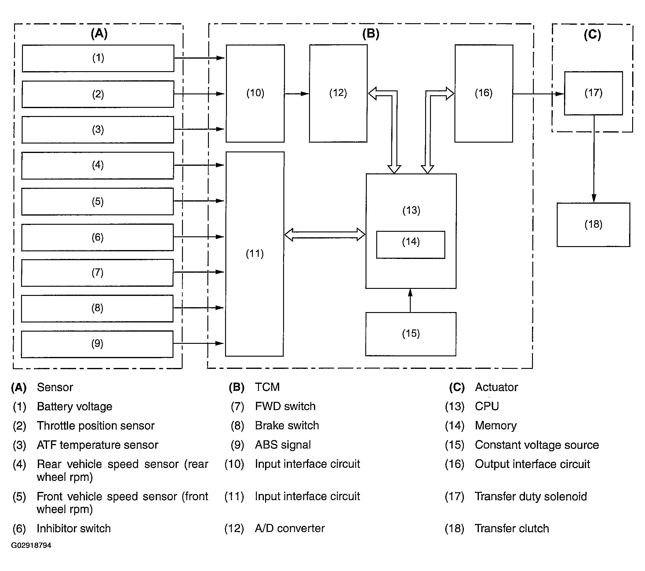
AWD Transfer Clutch Control: Notes

Fig 1: AWD Transfer Clutch Control Diagram
G02918794Courtesy of SUBARU OF AMERICA, INC.