LEMON Manuals: Even more car manuals for everyone: 1960-2025
Home >> Subaru >> 2003 >> Forester XS, Automatic >> Repair and Diagnosis >> Transmission >> Automatic Trans >> Automatic Transmission >> Automatic Transmission Assembly >> Installation
April 5, 2026: LEMON Manuals is launched! Read the announcement.

Automatic Transmission Assembly: Installation

  1. Replace the differential side oil seal with a new one. Refer to REPLACEMENT , Differential Side Retainer Oil Seal.
  2. Install the rear cushion rubber to transmission assembly.
    1. Tightening torque:  39 N.m (4.0 kgf-m, 29 ft-lb)
  3. Install the ST to torque converter clutch case.

    ST 498277200 STOPPER SET

    Fig 1: Installing ST To Torque Converter Clutch Case
    G02093035Courtesy of SUBARU OF AMERICA, INC.
  4. Install the transmission onto engine.
    1. Gradually raise the transmission with transmission jack.
      Fig 2: Installing Transmission Onto Engine
      G02093036Courtesy of SUBARU OF AMERICA, INC.
    2. Engage them at splines.
  5. Install the transmission rear crossmember.

    Tightening torque: 

    1. T1:  35 N.m (3.6 kgf-m, 26 ft-lb)
    2. T2:  70 N.m (7.1 kgf-m, 51 ft-lb)
    Fig 3: Installing Transmission Rear Crossmember
    G02093037Courtesy of SUBARU OF AMERICA, INC.
  6. Take off the transmission jack.
  7. Tighten the nuts and bolts which hold lower side of transmission to engine.
    1. Tightening torque:  50 N.m (5.1 kgf-m, 36.9 ft-lb)
    Fig 4: Tightening Nuts & Bolts Holding Lower Side Of Transmission
    G02093038Courtesy of SUBARU OF AMERICA, INC.
  8. Lower the vehicle.
  9. Connect the engine and transmission.
    1. Remove the ST from torque converter clutch case.

      ST 498277200 STOPPER SET

    2. Install the starter.

      Refer to INSTALLATION , Starter.

    3. Tighten the bolt which holds upper side of transmission to engine.
    1. Tightening torque:  50 N.m (5.1 kgf-m, 36.9 ft-lb)
    Fig 5: Tightening Bolt Holding Upper Side Of Transmission To Engine
    G02093039Courtesy of SUBARU OF AMERICA, INC.
  10. Install the torque converter clutch to drive plate.
    1. Tighten the bolts which hold torque converter clutch to drive plate.
    2. By inserting a wrench into the crank pulley bolt, rotate the crank pulley in the direction of engine rotation to remove the other bolts.

      ST 499977300 CRANK PULLEY WRENCH

      1. Tightening torque:  25 N.m (2.5 kgf-m, 18.1 ft-lb)
      Fig 6: Rotating Crank Pulley Inserting Wrench Into Crank Pulley Bolt
      G02093040Courtesy of SUBARU OF AMERICA, INC.
    3. Clog the plug onto service hole.
    4. Install the V-belt cover.
  11. Remove the ST.
    Fig 7: Removing ST
    G02093041Courtesy of SUBARU OF AMERICA, INC.
  12. Install the pitching stopper.

    Tightening torque: 

    1. T1:  50 N.m (5.1 kgf-m, 37 ft-lb)
    2. T2:  58 N.m (5.9 kgf-m, 43 ft-lb)
    Fig 8: Installing Pitching Stopper
    G02093042Courtesy of SUBARU OF AMERICA, INC.
  13. Lift-up the vehicle.
  14. Replace the front drive shaft circlip with a new one.
  15. Apply a coat grease to the lip of oil seal.
  16. Install the ST to side retainer.

    ST 28399SA010 OIL SEAL PROTECTOR

    Fig 9: Installing ST To Side Retainer
    G02093043Courtesy of SUBARU OF AMERICA, INC.
  17. Insert the front drive shaft by aligning spline part of front drive shaft and spline part of differential bevel gear, and then remove the ST.

    ST 28399SA010 OIL SEAL PROTECTOR

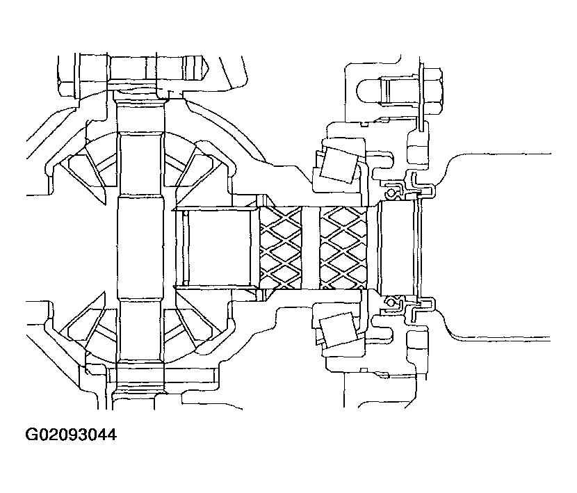
  18. Insert the front drive shaft to transmission securely by pressing front housing.
    Fig 10: Inserting Front Drive Shaft To Transmission
    G02093044Courtesy of SUBARU OF AMERICA, INC.
  19. Connect the ball joint into housing.
  20. Tighten the installing bolts.
    1. Tightening torque:  49 N.m (5.0 kgf-m, 36 ft-lb)
    Fig 11: Tightening Installing Bolts
    G02093045Courtesy of SUBARU OF AMERICA, INC.
  21. Install the stabilizer link from transverse link.
    1. Tightening torque:  45 N.m (4.6 kgf-m, 33.2 ft-lb)
    Fig 12: Installing Stabilizer Link From Transverse Link
    G02093046Courtesy of SUBARU OF AMERICA, INC.
  22. Install the shift select cable onto select lever. Refer to INSTALLATION , Select Cable.
  23. Install the ATF level gauge guide and level gauge, and connect the ATF cooler hoses to pipe.
    Fig 13: Installing ATF Level Gauge Guide & Level Gauge
    G02093047Courtesy of SUBARU OF AMERICA, INC.
  24. Install the propeller shaft.
  25. Install the heat shield cover.
  26. Install the rear exhaust pipe and muffler assembly.

    Refer to INSTALLATION , Rear Exhaust Pipe and INSTALLATION , Muffler.

  27. Install the front and center exhaust pipe. Refer to INSTALLATION , Front Exhaust Pipe.
  28. Install the under cover.
  29. Lower the vehicle.
  30. Connect the following connectors.
    1. Transmission harness connectors
    2. Transmission ground cable
  31. Install the air cleaner case stay.
    1. Tightening torque:  16 N.m (1.6 kgf-m, 11.6 ft-lb)
  32. Install the air cleaner case and intake duct.

    Refer to INSTALLATION , Air Cleaner Case and INSTALLATION , Air Intake Duct.

  33. Connect the battery ground cable to battery.
  34. Fill ATF up to the middle of the "COLD" side on level gauge by using the gauge hole. Refer to AUTOMATIC TRANSMISSION FLUID .
  35. Fill the differential gear oil through front differential gauge hole. Refer to REPLACEMENT , Differential Gear Oil.
  36. Take off the vehicle from lift arms.
  37. Check the ATF level. Refer to AUTOMATIC TRANSMISSION FLUID .
  38. Check the select lever operation. Refer to INSPECTION , Inhibitor Switch.
  39. Check the level of differential gear oil. Refer to INSPECTION , Differential Gear Oil.
  40. Test the vehicle on the road. Refer to ROAD TEST .