LEMON Manuals: Even more car manuals for everyone: 1960-2025
Home >> Subaru >> 2003 >> Outback Base, 4D Sedan >> Repair and Diagnosis (Single Page) >> Engine Performance >> Theory and Operation >> Engine Controls - Theory & Operation >> Computerized Engine Controls >> Input Devices >> Fuel Level Sensor
April 5, 2026: LEMON Manuals is launched! Read the announcement.

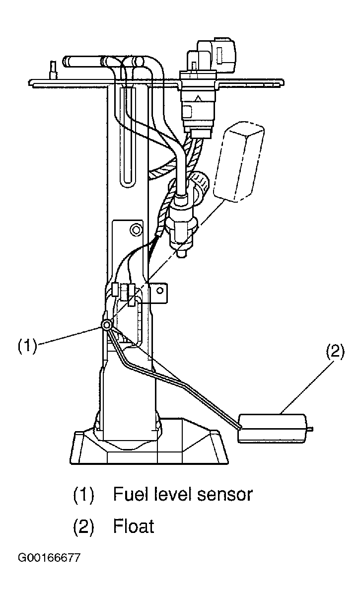
Fuel Level Sensor

The fuel level sensor forms part of the fuel pump and is located in the fuel tank. The sensor outputs an electric resistance signal that varies with movement of its float to indicate the level of the fuel remaining in the tank.

Fig 1: Identifying Fuel Level Sensor (Baja, Legacy & Outback)
G00166689Courtesy of SUBARU OF AMERICA, INC.
Fig 2: Identifying Fuel Level Sensor (Forester, Impreza & Outback Sport )
G00166677Courtesy of SUBARU OF AMERICA, INC.