LEMON Manuals: Even more car manuals for everyone: 1960-2025
Home >> Subaru >> 2003 >> Outback F4-2.5L SOHC >> Repair and Diagnosis >> Specifications >> Mechanical Specifications >> Engine >> System Specifications >> General
April 5, 2026: LEMON Manuals is launched! Read the announcement.

General

SPECIFICATIONS

















Note: STD: Standard I.D.: Inner Diameter O.D.: Outer Diameter US: Undersize OS: Oversize





TIMING BELT





CYLINDER HEAD AND CAMSHAFT





VALVE ROCKER ASSEMBLY





CYLINDER BLOCK








CRANKSHAFT AND PISTON





ENGINE MOUNTING

Part 1 Of 2:




Part 2 Of 2:





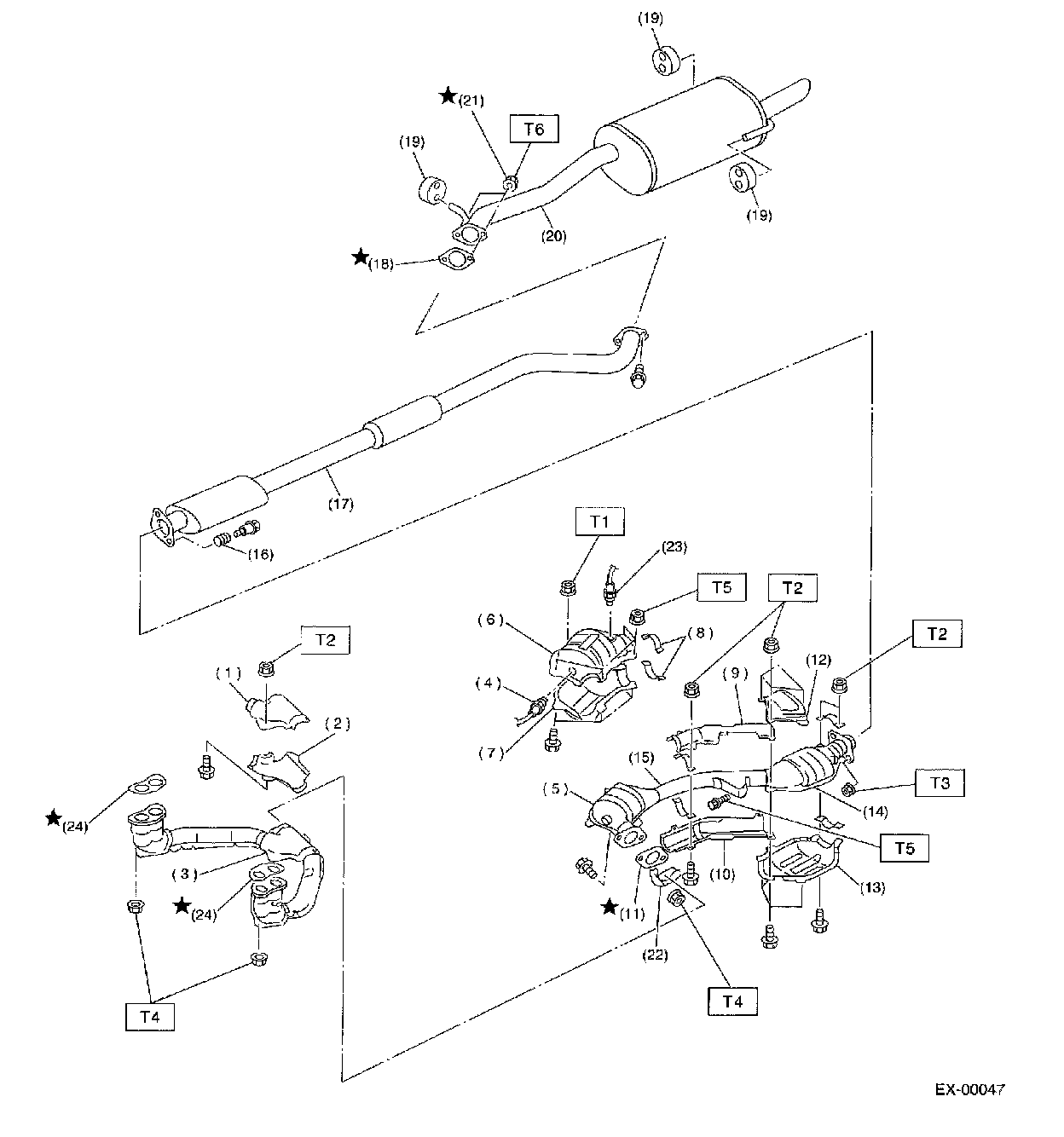
EXHAUST SYSTEM







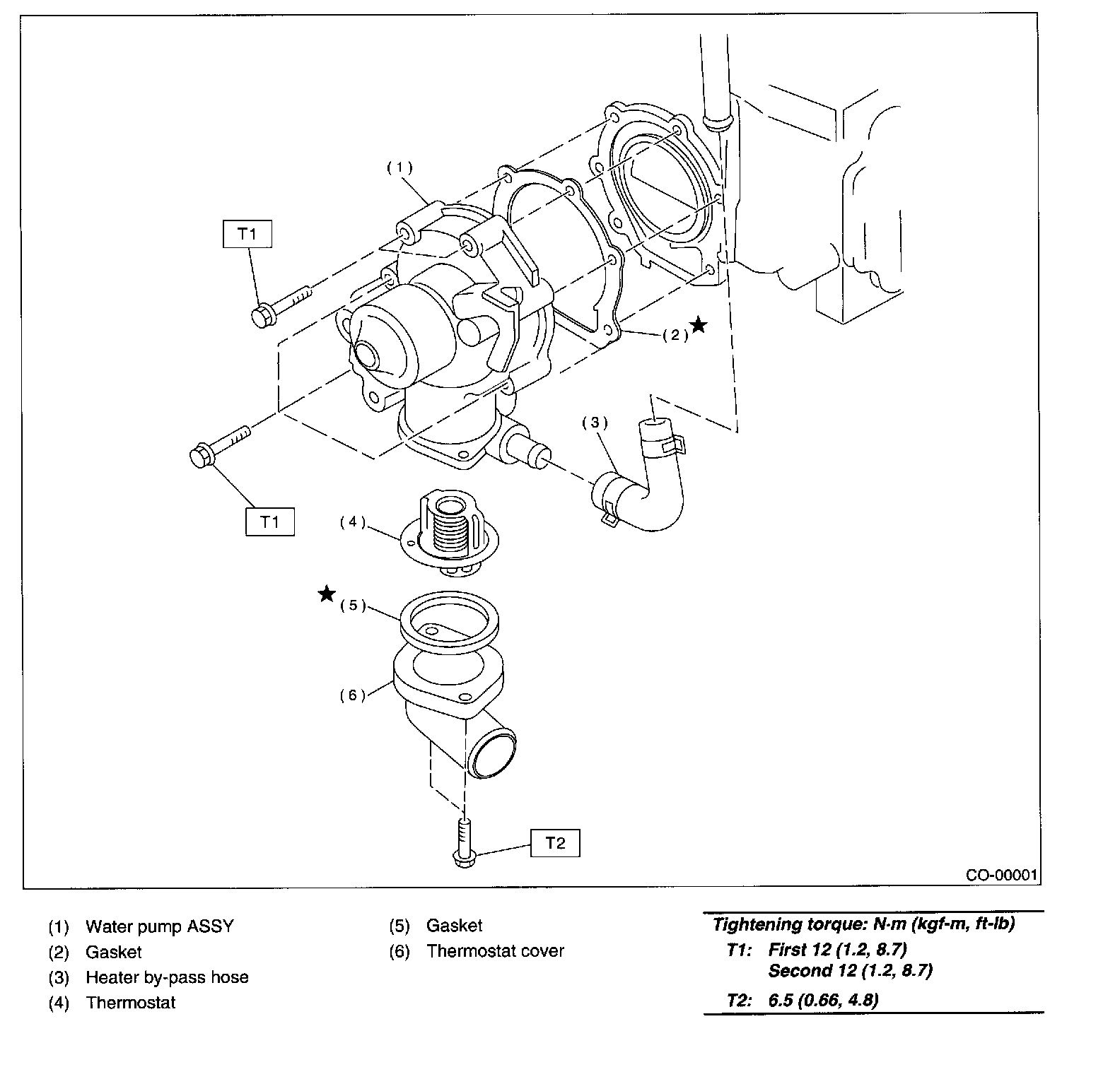
WATER PUMP TORQUE/SEQUENCE


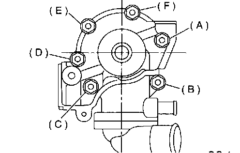
CAMSHAFT BEARING CAPS




1. Temporarily tighten bolts (g) throught (j) in aiphabetical sequence.




2. Tighten bolts (a) throught (h) in alphabetical sequence. Tightening torque 25 Nm (2.5 kgf-m, 18.1 ft-lb)




3. Tighten TORX bolts (i) in alphabetical sequence using ST. Tightening torque 18 Nm (1.8 kgf-m, 13.0 ft-lb)




4. Tighten bolts (O) through (v) in alphabetical sequence. Tightening torque 10 Nm, (1.0 kgf-m, 7.2 ft-lbs)




Tighten bolts (w) through (x) in alphabetical sequence. Tightening torque 10 Nm, (1.0 kgf-m, 7.2 ft lb)


For specifications regarding cylinder block connecting bolts, refer to service procedure. Removal and Installation

INTAKE MANIFOLD
Manifold to Cylinder Head 25 Nm (2.5 kgf-m, 18.1 ft-lb)

CRANKSHAFT PULLEY
Initial torque 44 Nm (4.5 kgf-m, 33 ft-lbs)
Final (Second pass) 177 Nm (18.O kgf-m, 130.2 ft-lbs)

OIL PUMP 6.4 Nm (0.65 kgf-m, 4.7 ft-lb)