LEMON Manuals: Even more car manuals for everyone: 1960-2025
Home >> Subaru >> 2003 >> Outback F6-3.0L >> Repair and Diagnosis >> Heating and Air Conditioning >> Compressor HVAC >> Description and Operation >> Compressor
April 5, 2026: LEMON Manuals is launched! Read the announcement.

Compressor





General
The compressor is a rotary type that has a rotor fitted with five radially movable vanes. The rotor rotates together with the vanes in an elliptical cylinder. As the rotor rotates, the volume of each closed space formed between two adjacent vanes (referred to as "cylinder chamber" in the following description) decreases, so that the pressure of the refrigerant gas confined in the cylinder chamber increases. In this way, the rotary compressor performs its function as a pump. The pumping cycle consisting of suction, compression and discharge takes place 10 times during every rotation of the rotor.
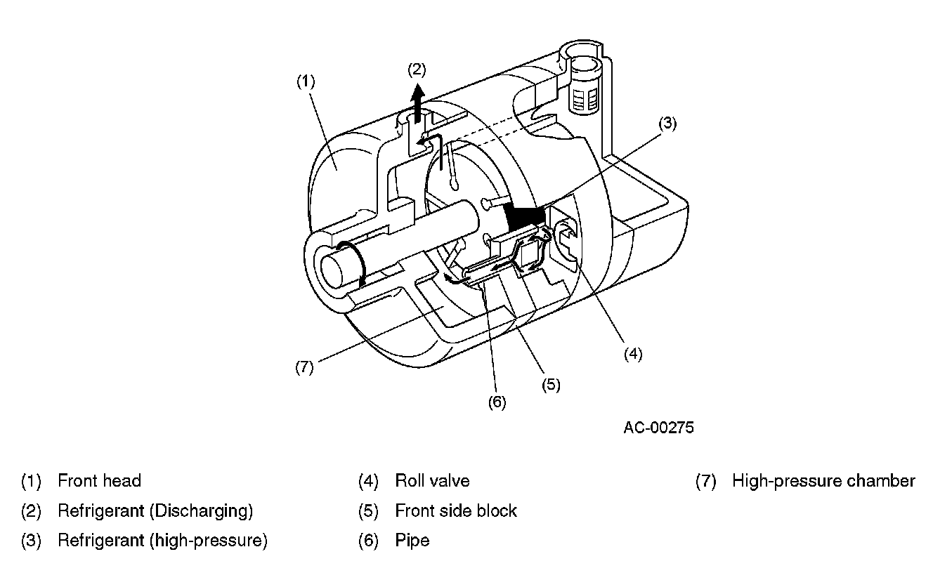
On the discharge side of the cylinder, a roll valve is provided that opens at a predetermined high pressure. Air tightness between the rotor shaft and front head is ensured by the shaft seal. The trigger valve incorporated in the front side block provides the function of applying back pressure to the vanes. The compressor contains necessary quantity of compressor oil. The oil is distributed to all the parts requiring lubrication and sealing by utilizing the discharge pressure of the refrigerant.

Function
As the rotor rotates, the volume of each cylinder chamber changes. This creates the compressor's suction, compression and discharge functions as explained in the following:





1. Suction:
Low-pressure gaseous refrigerant is forced out from the evaporator by rotation of the compressor. It enters the low-pressure chamber in the rear head through the check valve. The refrigerant is then drawn into the cylinder by rotation of the vane-fitted rotor through the two suction ports provided in the rear side block. Air tightness of the cylinder chambers is maintained by the compressor oil.





2. Compression:
Further rotation of the rotor after suction makes the volume of each cylinder chamber smaller, thus compression occurs.





3. Discharge:
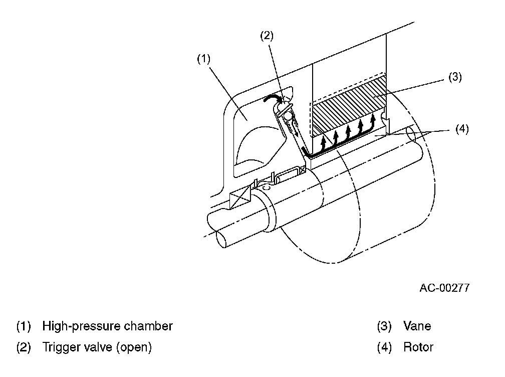
When the pressure of refrigerant in the cylinder chamber exceeds a predetermined pressure, the roll valve opens to discharge the refrigerant through a pipe-shaped passage built in the front side block into the high-pressure chamber in the front head. The gaseous refrigerant in the high-pressure chamber is led to a baffle, which separates the compressor oil contained in the refrigerant before it flows into the high-pressure piping.





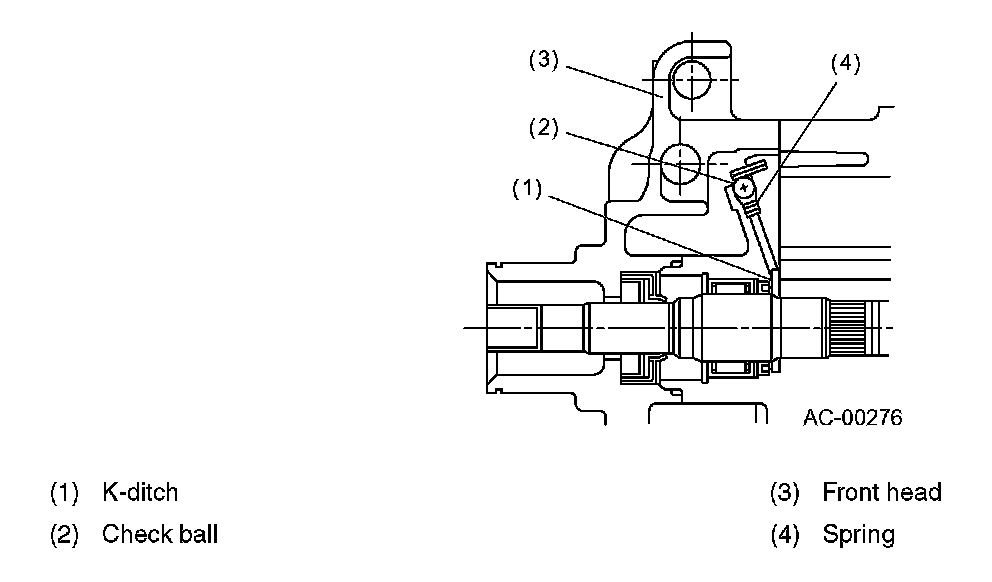
Trigger Valve
This valve has a function of maintaining a proper level of pressure behind the vanes (vane back pressure) such that they can move easily upon start of the compressor. The trigger valve is incorporated in the front side block and its end opens to a cavity called "K-ditch" that is provided in the rotor side end of the side block. The valve consists of a check ball and a spring.
The vanes are prone to chatter if there is only small difference between the high and low-pressures. This condition typically occurs when the compressor is started. In such a condition, the spring raises the ball to open the valve and allows the back pressure to act on the vanes, thereby ensuring smooth operation.





1. When compressor starts or when load is low:
When the compressor starts or when the load is low (the high-pressure level is low), the spring can raise the check ball clear of its seat, so the trigger valve is opened. The pressure of the high-pressure chamber then acts on the back end surface of each vane to prevent it from chattering.





2. When compressor is in regular operation:
When the pressure in the high-pressure chamber of the compressor increases, the pressure overcomes the spring tension and pushes the check ball against its seat, so the trigger valve closes. The oil port pressure coming through the side block is applied to the end surface of vane to maintain proper back pressure.





Check Valve
A check valve consisting of a spherical plate and spring is provided at the suction port of the rear head. Immediately after the compressor has stopped, there is large difference between the high and low-pressures. This would cause reverse rotation of the compressor and consequent reverse flow of refrigerant to the evaporator if no check valve is provided. Immediately after the compressor has stopped, the high-pressure refrigerant forces the check valve plate upward and closes the suction port to prevent flow of refrigerant from the high-pressure side to the low-pressure side.





Lubrication
The lubrication oil is collected at the bottom of the high-pressure chamber. The high-refrigerant pressure in the chamber forces the oil upward through the oil passages in the front side block to lubricate the front end of the rotor. The high-chamber pressure also forces the oil through the passages in the bottom of the cylinder to lubricate the rear end of the rotor. The oil that has lubricated each end of the rotor enters the low-pressure chamber by the internal pressure of the compressor. The oil contained in the gaseous refrigerant from the evaporator passes through the low-pressure chamber and lubricates the rear bearing. The oil also passes through the passage in the drive shaft and lubricates the front bearing and shaft seal before entering the suction port of the cylinder.
Since the pressure in the suction port of the cylinder is slightly lower than that in the low-pressure chamber, the oil that has lubricated all the parts enters the suction port and is finally brought by the refrigerant back to the high-pressure chamber.





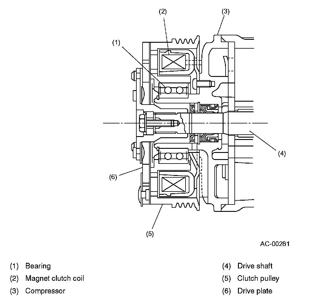
Magnet Clutch
The magnet clutch serve to transmit engine power to the compressor module. It is built into the compressor shaft. When current flow through the magnet clutch coil, the drive plate is attracted so that the pulley and compressor shaft rotate as a module. When the compressor is not in use, the pulley alone rotates freely.
The compressor used with the six-cylinder engine has a lock sensor. If the sensor detects locking of the compressor resulting from a fault, it causes disengagement of the magnet clutch to protect the engine and the power steering drive.