LEMON Manuals: Even more car manuals for everyone: 1960-2025
Home >> Subaru >> 2003 >> Outback F6-3.0L >> Repair and Diagnosis >> Relays and Modules >> Relays and Modules - Brakes and Traction Control >> Electronic Brake Control Module >> Locations
April 5, 2026: LEMON Manuals is launched! Read the announcement.

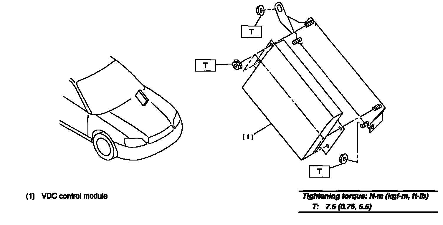
Electronic Brake Control Module: Locations





VDC CONTROL MODULE (VDCCM)