LEMON Manuals: Even more car manuals for everyone: 1960-2025
Home >> Subaru >> 2003 >> Outback L.L. Bean Edition >> Repair and Diagnosis >> Engine Performance >> Engine Control Systems >> Fuel Injection (Fuel Systems, H6DO) >> Main Relay >> Removal
April 5, 2026: LEMON Manuals is launched! Read the announcement.

Main Relay: Removal

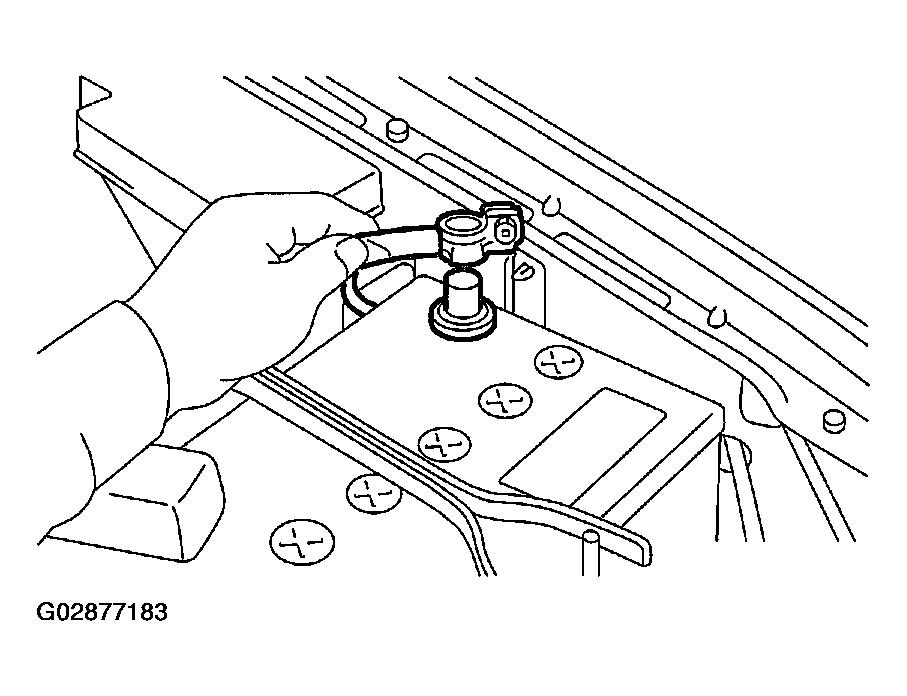
  1. Disconnect battery ground cable.
    Fig 1: Disconnecting Battery Ground Cable
    G02877183Courtesy of SUBARU OF AMERICA, INC.
  2. Remove lower inner trim of passenger side. < Ref. to REMOVAL , Lower Inner Trim.>
  3. Disconnect connectors from main relay.
  4. Remove bolt which holds main relay bracket on body.
    Fig 2: Removing Main Relay Bracket Bolt
    G02877184Courtesy of SUBARU OF AMERICA, INC.