LEMON Manuals: Even more car manuals for everyone: 1960-2025
Home >> Subaru >> 2004 >> Baja Base, Automatic >> Repair and Diagnosis >> Steering >> Power Steering >> Power Assisted System (Power Steering) >> Steering Gearbox >> Assembly >> Control Valve Assembly
April 5, 2026: LEMON Manuals is launched! Read the announcement.

Control Valve Assembly

  1. Specified steering grease:  VALIANT GREASE M2 (Part No. 003608001)
  1. Clean all parts and tools before reassembling.
  2. Press-fit oil seal into valve housing using ST and press.

    ST 927610000 INSTALLER

    NOTE: Before fitting, coat oil seal fully with ATF DEXRON ATF DEXRON III or equivalent.
    Fig 1: Pressing-Fit Oil Seal Into Valve Housing Using ST & Press
    G00868053Courtesy of SUBARU OF AMERICA, INC.
  3. Fit snap ring in snap ring groove suing snap ring pliers.
    CAUTION: Be careful not to scratch oil seal with snap ring pliers. 
    NOTE: Rotate snap ring to check for proper installation.
  4. Put vinyl tape around pinion shaft splines to protect oil seal from damage.
  5. Fit pinion and valve assembly into valve housing.
    NOTE: Apply specified power steering fluid to outer diameter surface of input shaft and outer surface of valve body seal ring, and pay special attention not to damage seal when inserting pinion and valve assembly.
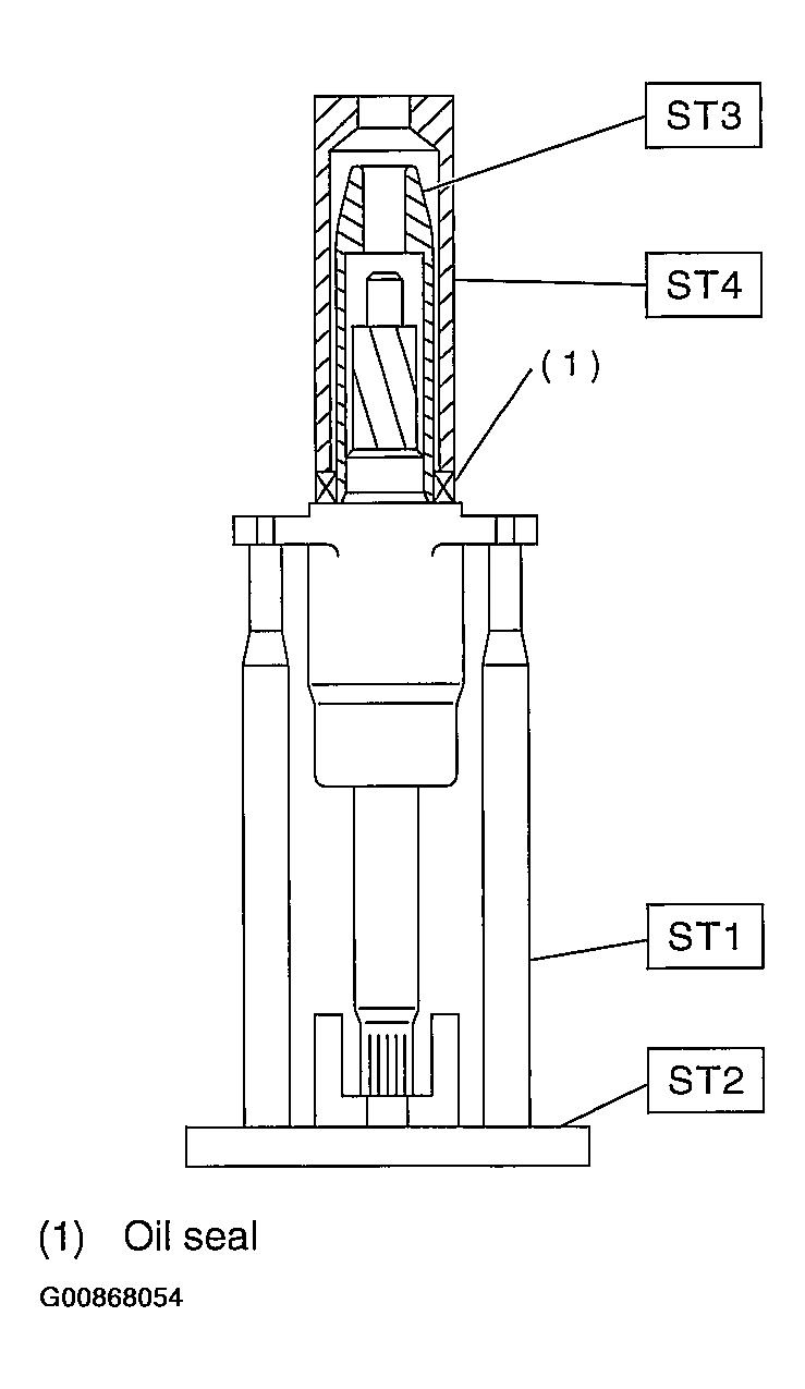
  6. Secure valve assembly to ST1 and ST2.
  7. Put ST3 over pinion, and insert oil seal, then force-fit oil seal into housing using ST4.

    ST1 926370000 INSTALLER A

    ST2 927630000 STAND BASE

    ST3 926360000 INSTALLER A

    ST4 927620000 INSTALLER B

    Fig 2: Forcing-Fit Oil Seal Into Housing Using ST4
    G00868054Courtesy of SUBARU OF AMERICA, INC.
    NOTE:
    • Apply specified power steering fluid to oil seal and ST3, being careful not to damage oil seal lip.
    • Push oil seal until ST3 contacts housing end face.
  8. Remove ST3, and fit backing washer.
  9. Force-fit ball bearing using ST3.

    ST1 926370000 INSTALLER A

    ST2 34099FA100 STAND BASE

    ST3 927640000 INSTALLER B

    Fig 3: Forcing-Fit Ball Bearing Using ST3
    G00868055Courtesy of SUBARU OF AMERICA, INC.
    NOTE: Be careful not to tilt ball bearing during installation.
  10. Apply genuine grease to pinion gear and bearing of valve assembly.
    Fig 4: Applying Genuine Grease To Pinion Gear & Bearing Of Valve Assembly
    G00868056Courtesy of SUBARU OF AMERICA, INC.
  11. Install gasket on valve assembly. Insert valve assembly into place while facing rack teeth toward pinion.
    CAUTION: Be sure to use a new gasket. 
    NOTE: Do not allow packing to be caught when installing valve assembly.
    Fig 5: Installing Gasket On Valve Assembly
    G00868057Courtesy of SUBARU OF AMERICA, INC.
  12. Tighten bolts alternately to secure valve assembly.
    1. Tightening torque:  25 N.m (2.5 kgf-m, 18.1 ft-lb)
    CAUTION: Be sure to alternately tighten bolts. 
  13. Apply grease to sleeve insertion hole.
  14. Apply grease to dust seal insertion hole.
    CAUTION: Apply clean grease with clean hands. If material having a sharp edge is used for applying grease, oil seal at the inside might be damaged. 
  15. Press-fit dust seal into gearbox housing while tapping it via a spanner or the like so that stepping between gearbox and dust seal is normally 2 mm (0.08 in).
    1. Depth: A 
      1. 2 mm (0.08 in) 
    Fig 6: Pressing-Fit Dust Seal Into Gearbox Housing
    G00868058Courtesy of SUBARU OF AMERICA, INC.
    Fig 7: Dusting Seal Is Normally
    G00868059Courtesy of SUBARU OF AMERICA, INC.
  16. Apply grease to sliding surface of sleeve and spring seat, then insert sleeve into pinion housing. Fit spring into sleeve screw, pack grease inside of screw, then install the screw.
    Fig 8: Applying Grease To Sliding Surface Of Sleeve & Spring Seat
    G00868060Courtesy of SUBARU OF AMERICA, INC.
  17. Rack and pinion backlash adjustment
    1. Loosen adjusting screw.
    2. Rotate input shaft so that rack is in the straight ahead direction.
    3. Apply grease to sleeve.
      Fig 9: Applying Grease To Sleeve
      G00868061Courtesy of SUBARU OF AMERICA, INC.
    4. Tighten adjusting screw by two threads.
      Fig 10: Tightening Adjusting Screw By Threads
      G00868062Courtesy of SUBARU OF AMERICA, INC.
    5. Apply liquid packing to at least 1/3 of entire perimeter of adjusting screw thread.
      1. Liquid packing:  THREE BOND 1141
      Fig 11: Applying Liquid Packing To At Least Of 1/3 Entire Perimeter Of Adjusting Screw Thread
      G00868063Courtesy of SUBARU OF AMERICA, INC.
    6. Tighten adjusting screw to 7.4 N.m (0.75 kgf-m, 5.4 ft-lb) and back off 25°.
    7. Install lock nut. While holding adjusting screw with a wrench, tighten lock nut using ST.

      ST 926230000 SPANNER

      1. Tightening torque (Lock nut):  39 N.m (4.0 kgf-m, 29 ft-lb)
      NOTE:
      • Hold adjusting screw with a wrench to prevent it from turning while tightening lock nut.
      • Make adjustment so that steering wheel can be rotated fully from lock to lock without binding.
      • Check for service limit as per article of "Service limit". Refer to SERVICE LIMIT , INSPECTION, Steering Gearbox. Make replacement and adjustment if necessary.