LEMON Manuals: Even more car manuals for everyone: 1960-2025
Home >> Subaru >> 2004 >> Baja Base, Automatic >> Repair and Diagnosis >> Steering >> Power Steering >> Power Assisted System (Power Steering) >> Steering Gearbox >> Control Valve Assembly
April 5, 2026: LEMON Manuals is launched! Read the announcement.

Control Valve Assembly

NOTE: Parts requiring replacement are described in the smallest unit of spare parts including damaged parts and spare parts damaged. In actual disassembly work, accidental damage as well as inevitable damage to some related parts must be taken into account, and spare parts for them must also be prepared. However, it is essential to pinpoint the cause of trouble, and limit the number of replacement parts as much as possible.
  1. Using ST, loosen lock nut.

    ST 926230000 SPANNER

    Fig 1: Loosening Lock Nut Using ST
    G00868026Courtesy of SUBARU OF AMERICA, INC.
  2. Tighten adjusting screw until it no longer tightens.
    Fig 2: Tightening Adjusting Screw
    G00868027Courtesy of SUBARU OF AMERICA, INC.
  3. Remove two bolts securing valve assembly.
    Fig 3: Removing Bolts Securing Valve Assembly
    G00868028Courtesy of SUBARU OF AMERICA, INC.
  4. Carefully draw out input shaft and remove valve assembly.
    Fig 4: Removing Valve Assembly
    G00868029Courtesy of SUBARU OF AMERICA, INC.
  5. Draw out pinion and valve assembly from valve housing, using pipe of I.D. 44 to 46 mm (1.73 to 1.81 in) and a press.
    Fig 5: Drawing Out Pinion & Valve Assembly From Valve Housing
    G00868030Courtesy of SUBARU OF AMERICA, INC.
  6. Pry off dust seal using screwdriver.
  7. Remove snap ring using snap ring pliers.
    Fig 6: Removing Snap Ring Using Snap Ring Pliers
    G00868031Courtesy of SUBARU OF AMERICA, INC.
  8. Pry off oil seal using screwdriver.
    CAUTION: After removing, check inside surface of valve housing for damage. If oil seal contacting surface is damaged, replace valve housing with a new one. 
    Fig 7: Prying Off Oil Seal Using Screwdriver
    G00868032Courtesy of SUBARU OF AMERICA, INC.
  9. Remove snap ring using snap ring pliers.
    CAUTION:
    • Do not reuse removed snap ring. 
    • Be careful not to scratch pinion and valve assembly. 
    Fig 8: Removing Snap Ring Using Snap Ring Pliers
    G00868033Courtesy of SUBARU OF AMERICA, INC.
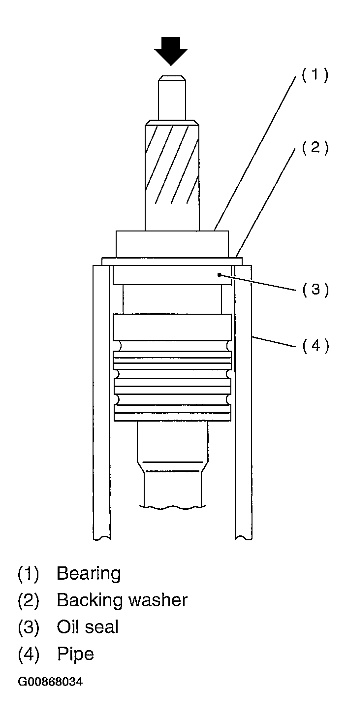
  10. Press out bearing together with backing washer using pipe of I.D. 38.5 to 39.5 mm (1.516 to 1.555 in) and press.
    CAUTION: Do not reuse removed bearing. 
    Fig 9: Pressing Out Bearing Together With Backing Washer Using Pipe & Press
    G00868034Courtesy of SUBARU OF AMERICA, INC.
  11. Remove oil seal.
    CAUTION: Do not reuse removed oil seal.