LEMON Manuals: Even more car manuals for everyone: 1960-2025
Home >> Subaru >> 2004 >> Baja Base, Standard >> Repair and Diagnosis >> Brakes >> Traction Control >> Anti-Lock Brake Control System - Vehicle Dynamics Control (VDC) >> General Description >> Component >> VDC Control Module (VDCCM)
April 5, 2026: LEMON Manuals is launched! Read the announcement.

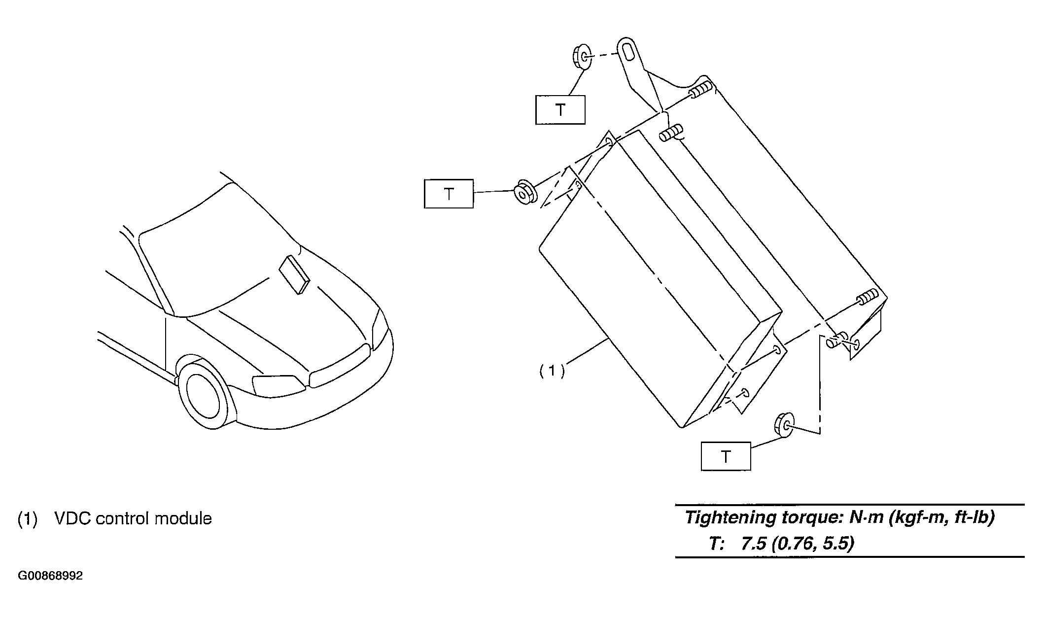
VDC Control Module (VDCCM)

Fig 1: Identifying VDC Control Module (VDCCM)
G00868992Courtesy of SUBARU OF AMERICA, INC.