LEMON Manuals: Even more car manuals for everyone: 1960-2025
Home >> Subaru >> 2004 >> Forester F4-2.5L SOHC >> Repair and Diagnosis >> Specifications >> Mechanical Specifications >> Steering
April 5, 2026: LEMON Manuals is launched! Read the announcement.

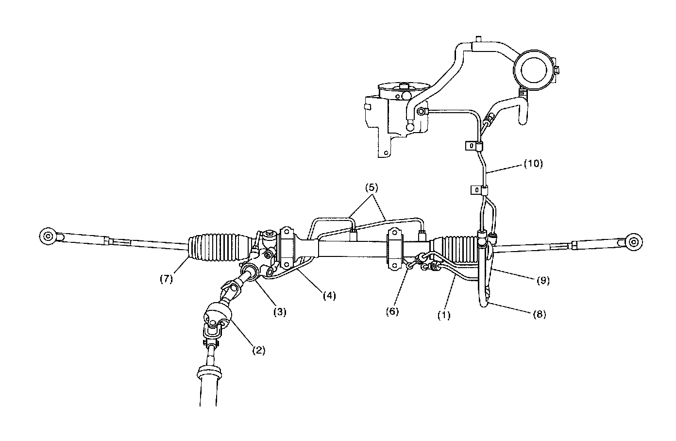
Steering

General Description














SPECIFICATIONS